KEMBAR78
Cics Introduction | PDF | Computer Science | Computing
0% found this document useful (0 votes)
41 views4 pages

Cics Introduction

The document provides an overview of CICS (Customer Information Control System), detailing its role as an interface between application programs and host operating systems, as well as its multitasking and multithreading capabilities. It describes key components such as the Program Control Table (PCT), Processing Program Table (PPT), and various control tables that manage terminal and file operations. Additionally, it highlights CICS's data communication and management services, emphasizing its unique features for efficient program execution.

Uploaded by

Sujeeth Talluri
Copyright
© © All Rights Reserved
We take content rights seriously. If you suspect this is your content, claim it here.
Available Formats
Download as DOC, PDF, TXT or read online on Scribd
0% found this document useful (0 votes)
41 views4 pages

Cics Introduction

The document provides an overview of CICS (Customer Information Control System), detailing its role as an interface between application programs and host operating systems, as well as its multitasking and multithreading capabilities. It describes key components such as the Program Control Table (PCT), Processing Program Table (PPT), and various control tables that manage terminal and file operations. Additionally, it highlights CICS's data communication and management services, emphasizing its unique features for efficient program execution.

Uploaded by

Sujeeth Talluri
Copyright
© © All Rights Reserved
We take content rights seriously. If you suspect this is your content, claim it here.
Available Formats
Download as DOC, PDF, TXT or read online on Scribd
You are on page 1/ 4

DISK STORAGE

VSAM

CICS

Application

Programs

VTAM or
TCAM

Terminal users
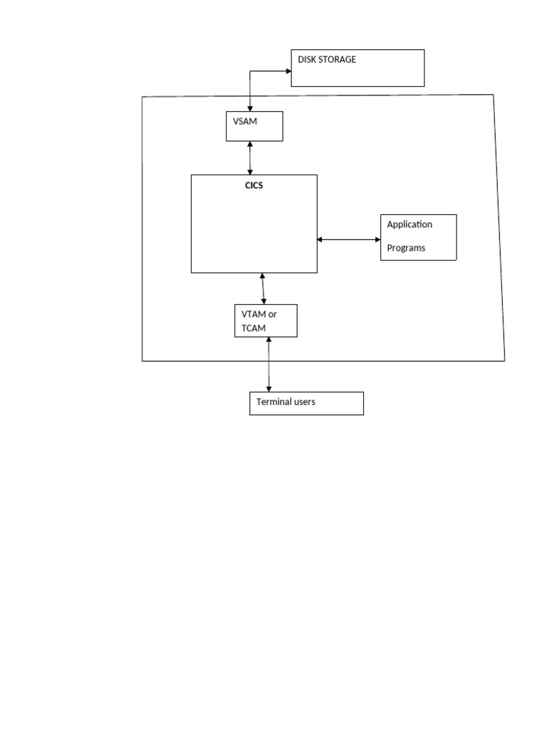
 What is CICS? DB/DC System

 How CICS acts as an interface b/w app program and the host operating system’s access
methods.

 How CICS uses MVS address space

 CICS itself is like an OS, job

 What is a task for CICS

 Multitasking – Allowing more than one task to run at same time.

 CICS provide its own multitasking capabilities, has its own address space.

 Multithreading – only one copy of each app prog is loaded into storage. The area of storage
containing a program is not allocatetd to a specific user. All users running that prog have access
to the same storage location. – Renentrancy concept

 CICS provides separate working storage for each user running a program.

 Transaction and task initiation. Trans-id.

 PCT – Program control table – list of valid trans-id - paired with the name of program.

 PPT – Processing Program Table – List of valid Program names – Keeps track of all programs
loaded into storage – to determine whether a new copy of program needs to be loaded into
storage ( 2 entries – 1 for Program and 1 for mapset ).

 RDO – Resource Definition online used by system programmers also called as CEDA (it’s a trans
id)

 Trans-id  CICS searches PCT to find program to be executed  CICS searches the PPT to find if
Programs copy is in storage  if not there it loads into storage else task starts.

 Data communication Service – Let your program access terminals ( BMS )

 Data Management Service – Lets Program access VSAM files and data base ( File Control, SQL
Access )

 CICS Management Service – Access Unique features of CICS ( TSQ, TDQ, Dump Control, Storage
Control, Trace control, Interval Control etc., )
CICS Address space

User1

Wkg Storage

Procedure division

User2

Wkg Storage
BMS – Interface between application programs and Terminal Control

TCT – Terminal Control Table – To define each terminal to CICS system

FCT – File Control table – To keep a track of which files are available to application programs

FCT also maintains the file control operations that are valid for each file.

No I/O statements like OPEN, READ, CLOSE, SELECT, FD Statements. FCT keeps track of file
characteristics.

TDQ – Transient data control – convenient way to use simple sequential files

TSQ – Temporary Storage Control – Simple method to store data outside your program’s Working
storage area.

You might also like