KEMBAR78
Experiment 1 - Report | PDF | Amplifier | Capacitor
0% found this document useful (0 votes)
59 views5 pages

Experiment 1 - Report

The document outlines an experiment on the Common Emitter BJT Amplifier, detailing objectives such as circuit design, current and voltage measurements, and frequency response analysis. It includes hardware requirements, theoretical explanations of circuit components, and procedures for measuring DC voltages and transient signals. Results indicate a voltage gain of 43.37 dB, a lower cut-off frequency of 277 Hz, and a bandwidth of 57.7 MHz.

Uploaded by

deepakonangi09
Copyright
© © All Rights Reserved
We take content rights seriously. If you suspect this is your content, claim it here.
Available Formats
Download as PDF, TXT or read online on Scribd
0% found this document useful (0 votes)
59 views5 pages

Experiment 1 - Report

The document outlines an experiment on the Common Emitter BJT Amplifier, detailing objectives such as circuit design, current and voltage measurements, and frequency response analysis. It includes hardware requirements, theoretical explanations of circuit components, and procedures for measuring DC voltages and transient signals. Results indicate a voltage gain of 43.37 dB, a lower cut-off frequency of 277 Hz, and a bandwidth of 57.7 MHz.

Uploaded by

deepakonangi09
Copyright
© © All Rights Reserved
We take content rights seriously. If you suspect this is your content, claim it here.
Available Formats
Download as PDF, TXT or read online on Scribd
You are on page 1/ 5

COMMON EMITTER BJT AMPLIFIER

Date: 05-Feb-2024

Expt. No.: 1

Objectives:
1. To sketch a Common-Emitter BJT Amplifier circuit and explain the operation of the
circuit.
2. To design a CE Amplifier circuit for the given specifications.
3. To measure the various transistor currents and voltages using a Digital Multimetre
(DMM).
4. To observe with an oscilloscope, the transient signal voltages of the input and output of
the amplifier.
5. To measure the voltage gain of the amplifier over and range of frequencies and plot the
frequency response curve.
6. To determine the values of lower and upper 3-dB frequencies and 3-dB bandwidth.

Hardware Required:
1. Power supply : Variable regulated low-voltage DC source
2. Equipment : AFO, CRO, DMM
3. Resistors : 470ohm, 40ohm, 1000ohm
4. Capacitors : 10u, 2.2u, 57u
5. Semiconductors : 2N2222
6. Miscellaneous : Breadboard and wires

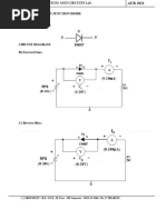
Circuit Diagram:
Theory:

An amplifier is an electronic circuit that is used to raise the strength of a weak signal. The
process of raising the strength of a weak signal is known as amplification. One important
requirement during amplification is that only the magnitude of the signal should increase and
there should be no change in signal shape. The transistor is used for amplification. When a
transistor is used as an amplifier, the first step is to choose a proper configuration in which the
device is to be used. Then the transistor is biased to get the desired Q point. The signal is
applied to the amplifier input and gain is achieved.

CE amplifier circuit elements and their functions

1. Biasing circuit: The resistances R1, R2 and RE from the biasing and stabilization circuit.
The biasing circuit must establish a proper operating point, otherwise, a part of the
negative half cycle of the signal may be cut-off in the output.
2. Input capacitor: An electrolyte capacitor C1 is used to couple the signal to the base of the
transistor. If it is not used, the signal source resistance, rs will come across R2 and thus change
the bias. C1 allows only AC signal to flow but it isolates the signal source from R2.
3. Emitter bypass capacitor: An emitter bypass capacitor, CE is used parallel with RE to provide a
low reactance path to the amplified AC signal. If it is used, then an amplified AC signal following
through RE will cause a voltage drop across it, thereby reducing the output voltage.
4. Coupling capacitor: The coupling capacitor, C2 couples one stage of amplification to the next
stage. If it is not used, the bias conditions of the next stage will be drastically changed due to
the shunting effect of Rc. This is because Rc will come in parallel with the upper resistance R1 of
the biasing network of the next stage, thereby altering the biasing conditions of the latter. In
short, the coupling capacitor C2 isolates the DC of one stage from the next stage but allows the
passage of the AC signal.

CE amplifier frequency response

The voltage gain of an amplifier varies with signal frequency. It is because the reactance’s of the
capacitors in the circuit change with signal frequency and hence affect the output voltage. The curve
between voltage gain and signal frequency of an amplifier is known as frequency response. Below
figure shows the frequency response of a typical common emitter amplifier.
The voltage gain drops off at low (<fL) and high (>fH) frequencies whereas it is uniform over the mid
frequency range (fL to fH).

1. At low frequencies the reactance of the coupling capacitor is quite high and hence very small
part of the signal will pass from the amplifier stage to the load. Moreover, CE cannot shunt the
RE effectively because of its large reactance at low frequencies. These two factors cause falling
voltage gain at low frequencies.
2. At frequencies the reactance of C2 is very small and it behaves as short circuit. This increases
the loading effect of the amplifier stage and serves to reduce the voltage gain. Moreover, at high
frequencies the capacitive reactance of the base-emitters junction is low which increases the
base current. These reduce the current amplification factor. Due to these two reasons, the
voltage gain drops off at high frequency.
3. At mid frequencies the voltage gain of the amplifier is constant. The effect of coupling capacitor
C2 in this frequency range is such to maintain a uniform voltage gain. Thus, as the frequency
increases in this range the reactance of CC decreases which tends to increase the gain. However,
at the same time lower reactance means higher almost cancel each other resulting in a uniform
fain at mid frequency.

Procedure:

1. DC Voltage Measurements

• Assemble the DC Equivalent of the CE amplifier circuit you have designed.


• Measure the Q-point and other transistor terminal voltages and currents. Tabulate the
readings. Compare the measured values with the calculated and simulation values.

Voltage and Current Design Data Simulation Data Experiment Data


Quantities
IC 0.011 9.74 0.011
IB 4.6*10^-5 56.01 4.6*10^-5
IE 0.011 -9.83 0.011
VC 9.78 10.12 9.78
VB 5.86 5.7 5.86
VE 5.20 4.86 5.20
VBE=VB-VE 0.67 0.84 0.67
VCE=VC-VE 4.59 4.87 4.59
VBC=VB-VC -3.92 -4.42 -3.92

Transient voltage measurements

1. Feed 144mV (peak) sinusoidal signal at 1KHz frequency as the input signal Vs to the CE
circuit.
2. Observe the input and output voltages simultaneously on a CRO. Note down the
amplitude, frequency and phase difference between the two voltages. Compute the gain
of the amplifier circuit and compare it with the calculated value.
3. Plot on a liner graph the transient voltage of the input and output of the amplifier
circuit.

Transient voltage measurements:

Particulars Design data Simulation Data Experiment data


Output Voltage 2.46 2.1 2.1
Phase shift 180 180 180
Voltage gain 99.5 105 95
Voltage gain (dB) 39.9 43.74 46.8

Frequency response curve measurements:

1. In the above assembled circuit, keep the magnitude of the source the same, i.e 144mVpp and
decrease the frequency from 1KHz to 50MHz and measure the voltage gain of the amplifier at
each frequency. Take at least 5 readings on either side of the 1KHz frequency. Tabulate the
reading.
2. Plot a semi-long graph sheet the frequency response (voltage gain vs frequency) curve using the
above measurements.
3. From the plot, determine the values of (a) Mid-band voltage gain, Av(mid), (b) Lower cut-off
frequency, (c) Upper cut-off frequency and (d) Bandwidth. Tabulate the values.

Frequency response curve measurement:

Frequency (Hz) Vo (v) Av (Vo/Vi) Gain in dB


10 - - -
20 - - -
30 - - -
50 - - -
100 0.4 2.86 9.127
200 0.8 5.72 15.147
300 1.2 8.57 18.659
500 1.8 0.012 -38.416
1K 2.1 0.015 -36.478
2K 4.8 0.034 -29.370
3K 6.0 0.042 -27.535
4K 6.2 0.044 -27.130
5K 6.9 0.049 -26.196
10K 7.8 0.055 -25.192
20K 7.8 0.055 -25.192
30K 7.8 0.055 -25.192
50K 7.8 0.055 -25.192
100K 7.8 0.055 -25.192
200K 7.8 0.055 -25.192
300K 7.8 0.055 -25.192
500K 7.8 0.055 -25.192
1M 7.8 0.055 -25.192
2M 6.6 0.047 -26.558

Cut-off frequencies and Bandwidth of the amplifier:

Parameters Design data Simulation data Experiment data


Maximum voltage 39.9 43.37dB 43.37dB
gain, Avmax
Lower cut-off 163.9 277Hz 277Hz
frequency, fL
Higher cut-off 16.04MHZ 57.75MHz 57.75MHz
frequency, fH
Band width = fH-fL 16.045MHZ 57.7MHz 57.7MHz

Results and Discussion:

Observations:

• Band width of the amplifier depends on the type of amplifier used.


• Voltage gain: The common emitter configuration typically provides a high voltage gain, often
in the range of tens to hundreds.
• Inverting Output: The output signal is inverted compared to the input signal due to the phase
inversion at the transistors base-emitter junction.
• Input Impedance: The input impedance is relatively low, making it suitable for interfacing with
low impedance sources.
• Output Impedance: The output impedance is relatively high, which may require additional
buffering for driving low impedance loads.
• Biasing Stability: Proper biasing is essential for stable operation and optimal performance of
the amplifier.
• Distortion: Distortion may occur at higher input signal levels due to non-linearities in the
transistor’s operation.
• Frequency Response: The frequency response of the amplifier depends on various factors
such as coupling capacitors, transistor characteristics and load impedance.

Results:

• The phase difference between input and output voltage waveform is 180 degrees.
• Voltage gain : 43.37 dB
• Lower cut-off frequency : 277 Hz
• Higher cut-off frequency : 57.75 MHz
• Bandwidth : 57.7 MHz

You might also like