Install Mac Pro in a rack
Important: Before installing Mac Pro in a rack, read the safety notes found in Important safety information for your Mac. You can also view check your Technical Specifications. Open System Settings, then choose Help > Mac Pro Specifications.
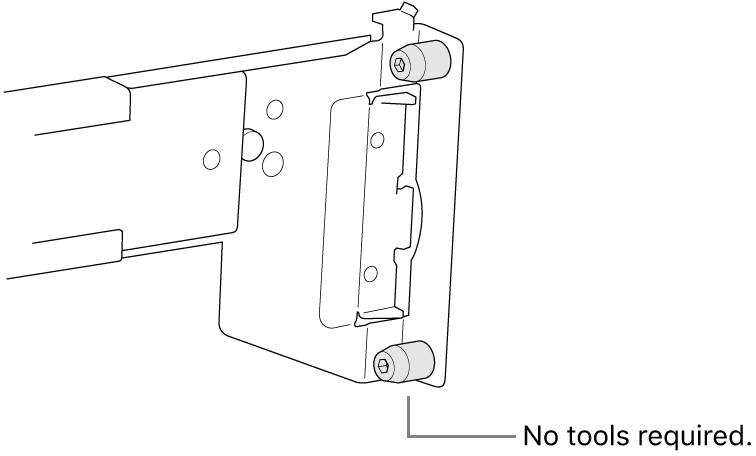
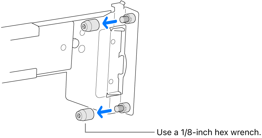
Mac Pro and the rail assemblies can be installed in any of the three industry standard rack types with a minimum rack depth of 24 inches (60.96 cm) and a maximum rack depth of 42 inches (106.68 cm). The rails come assembled to fit into square holes, but if you remove hole covers, the rails also fit into round holes. To install the rails in a threaded rack, remove the screws from the rails, then replace the screws to secure the rails to the rack. This requires a standard 1/8 inch (3mm) hex wrench and a 1/4 inch (6mm) wrench. Examples of the different types of rack are below.
Note: These instructions are for the Mac Pro rack workstation with Apple silicon. If you have an Intel-based Mac Pro rack workstation, see Install Mac Pro in a rack.
Square hole rack

Round hole rack

Threaded rack

To install Mac Pro into a rack, you need to attach the rail assemblies to Mac Pro and the rack. (The minimum depth of the rack must be at least 24 inches.)
Note: Mac Pro requires five rack units (5U). The top two units should be left vacant, the rail assemblies should be installed in the next two units, and one unit below the rail assemblies should be left vacant.

Air that cools Mac Pro flows from front to back. Make sure nothing blocks any of the openings in the front and back of the housing.

Extend the first rail assembly of one of the unmounted rails (left or right assembly).
Insert the rear rail assembly’s pins into the back of the rack, then push the front of the assembly into the rack.
The rail should insert in the rack and the assembly should snap into place. If this doesn't happen, the rail may be locked. In this case, pull the orange lever on the rail to unlock it.
Slide out the inner rail until it locks.
Slide the release latch to detach the inner rail from the assembly.
Repeat steps 1 to 3 for the other rail assembly.
Attach the inner rails to the sides of Mac Pro, making sure that release latches are towards the front of the computer and the rail eyelets are well placed onto the Mac Pro rail posts.
Slide the rail section forward until the spring lock engages the forward post.
Slide out the middle rails on the rack.
Use two people to lift the computer.
Align the rails attached to Mac Pro with the middle rails in the rack, then slide the computer into the rack.