KEMBAR78
Asmintro | PDF | Booting | Computer Data Storage
0% found this document useful (0 votes)
123 views247 pages

Asmintro

This document describes the hardware configuration of a PSU 360/67 mainframe computer system. It includes a CPU, primary storage in the form of core memory modules, channels to connect peripheral devices, and various control units. Main secondary storage devices are drum units and disk drives connected to specific channels. Other peripherals mentioned include card readers, printers, magnetic tape drives, and display devices. The total disk storage capacity of the system is listed as approximately 590 megabytes.

Uploaded by

EnzoVibio
Copyright
© © All Rights Reserved
We take content rights seriously. If you suspect this is your content, claim it here.
Available Formats
Download as PDF, TXT or read online on Scribd
0% found this document useful (0 votes)
123 views247 pages

Asmintro

This document describes the hardware configuration of a PSU 360/67 mainframe computer system. It includes a CPU, primary storage in the form of core memory modules, channels to connect peripheral devices, and various control units. Main secondary storage devices are drum units and disk drives connected to specific channels. Other peripherals mentioned include card readers, printers, magnetic tape drives, and display devices. The total disk storage capacity of the system is listed as approximately 590 megabytes.

Uploaded by

EnzoVibio
Copyright
© © All Rights Reserved
We take content rights seriously. If you suspect this is your content, claim it here.
Available Formats
Download as PDF, TXT or read online on Scribd
You are on page 1/ 247

1.

GENERAL INFORMATION AND PROGRAMMING HINTS

HARDWAR1 DESCRIPTION OF DEVICES, PSU 360/67


OSHASP DESCRIPTION OF OS/360 AND HASP
WORKINGS
ASPRGTC1 S/360 ASSEMBLER PROG. TECHNIQUES
AND MODULARITY
DOCUMENT S/360 DOCUMENTATION HINTS
LINKAGE S/360 LINKAGE CONVENTIONS
DSECT S/360 DSECT EXAMPLE
CS102M1 S/360 OPCODE FAMILIES AND NAMING
STRUCTURE

2. SPECIFIC COURSE MATERIALS

CS102TPA PARTIAL OUTLINE OF INTRO. ASSEMBLER


COURSE
CS102HN HANDOUT LIST FOR INTRO ASSEMBLER
COURSE
CS102AS1 ASSIGNMENTS FOR INTRO. ASSEMBLER
COURSE
CS102FP1,2,J FINAL PROJECT AND TEST DECKS
CS411TPA PARTIAL OUTLINE OF SYSTEMS COURSE
CS411HN HANDOUT LIST FOR ABOVE
CS411GI1 GENERAL INFORMATION FOR ABOVE
DUMPSJCL, DUMPTEST INITIAL DUMP INTRODUCTION
CS411AS1 ASSIGNMENTS FOR SYSTEMS COURSE
CS411MC1 MACRO ASSIGNMENTS FOR SYSTEMS
CS411MC2 COURSE
CS411FP1, 2, 3, 4, I, J, K SYSTEMS COURSE FINAL
PROJECT AND TEST DECKS

3. SAMPLE PROGRAMS

FLOTLINK FLOATING PT. FORTRAN/ASSEMBLER


LINKAGE
EXCP EXAMPLE OF A CHANNEL PROGRAM
BSAM BSAM I/O EXAMPLE
BPAM BPAM I/O EXAMPLE
QSAM QSAM I/O EXAMPLE
OVLY1 OVERLAY STRUCTURE EXAMPLE
PTPCHMAC BPAM/IBM UTILITY EXAMPLE
HARDWAR1 - 01
FEB 1972
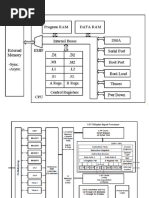
PENN STATE UNIVERSITY COMPUTATION CENTER
360/67 CONFIGURATION
this writeup: pages 01 - 04, plus Diagram A (separate).

INTRODUCTION

This writeup briefly describes the devices included in the PSU


360/67 system, and shows how they are connected together. Each device
is described below, and diagram A shows the connections.

References are made to DEVICE ADDRESSES. Each individually


addressable device (such as a single disk drive, card reader, etc) has
a 3 digit (hexadecimal) number which uniquely identifies it to the
system, and is used in all input/output operations. The DEVICE ADDRESS
is of the following form:

abc where:
a gives the CHANNEL NUMBER (from 0 up)
b specifies a CONTROL UNIT attached to that channel
c notes which device attached to a given control unit.

Since each digit can have the value 0-F, theoretically it would be
possible to attach 16 devices to each of 16 control units attached to
16 channels, for a maximum of 4096 separate devices. In practice, this
number is much less, since most S/360's allow a MAXIMUM of 7 channels or
less.

The devices follow, more or less in order from the CPU outward.

CENTRAL PROCESSING UNIT

2067-1 (a single 360/67 CPU). uses 200 nanosec (.2 microsec) cycle
Read Only Storage (ROS) of 88 bits/word to implement S/360
instruction set (Universal plus special model 67 instructions)
includes a HIGH RESOLUTION TIMER (13 microsec cycle).
includes a BCU (Bus Control Unit), which is connected to all
memory modules, and determines which channel or CPU gets to
use a given memory module.

PRIMARY STORAGE

2365 III (4 units) each unit contains 256K bytes. Physically each
2365 contains 2 arrays of 128K bytes, with physical word size
of doublewords, i.e., each has 2 arrays of 16K doublewords,
and is thus 2-way interleaved at this level. Each 2365 is
independent of the others.
CYCLE TIME: 750 nanosec / ACCESS TIME: 375 nanosec

2361 II (1 unit) - Large Core Storage (LCS) - 2048K bytes, organized


physically of 2-way interleaved doublewords.
CYCLE TIME: 8000 nanosec (8 microsec) / ACCESS TIME: 3.2 mic

Of the two types of storage, the first contains user programs, and
heavily used parts of system programs, while the LCS contains less-used
system programs, tables, and buffer areas.
HARDWAR1 - 02

CHANNELS

2870 MULTIPLEXOR CHANNEL - includes 2 SELECTOR SUBCHANNELS (used


for magnetic tape drives). generally handles LOW-SPEED
devices (card readers, printers, etc)
MAXIMUM TOTAL TRANSFER RATE: 426 KB (kilobytes) per second

2860 SELECTOR CHANNELS - 5 total (2 in 2860 II, 3 in 2860 III).


used for HIGH-SPEED devices (disk, drum, etc)
MAXIMUM DATA TRANSFER UNIT, EACH SELECTOR: 1250KB

All CHANNELS and the CPU contend for use of memory modules. The
BCU arbitrates among them using a simple priority scheme in following
order:

SERVED EARLIER ---> SERVED LATER


CHANNEL # : 1 2 0 3 4 5 CPU
drums disk mx disk disk ADAGE

The above order is used since the drums cannot wait very long and
have the highest transfer rate, the multiplexor channel (0) is fairly
early because it may have a large number of things to do, and the CPU
is always last because it never hurts it to wait.

CONTROL UNITS

Each control unit can attach to a number of devices, and it is used


to control greatly different devices in a such a way as to make them
appear more alike, as far as the channels are concerned. Each device
must be attached to a particular type of control unit, and each control
unit normally can control a group of related devices.

2820 STORAGE CONTROL UNIT - controls the 2301 drum units, attached
to channel 1 .

2821 CONTROL UNIT - controls UNIT RECORD devices (card readers,


printers, punches). attached to multiplexor channel.

2848 DISPLAY CONTROL - controls the 8 2260 scopes which display


system status to the operators.

2701 DATA ADAPTOR - controls a small number of high-speed


transmission lines, i.e. high speed terminals (4800 bits/sec
transmit rate), such as 360/20's at various locations.

2703 TRANSMISSION CONTROL - controls a larger number of lower-


speed terminals, including typewriter/teletype terminals and
read/print/punch terminals at Commonwealth Campuses (such as
IBM 2780, DCS CP-4, etc).
HARDWAR1 - 03

DISPLAY DEVICES

1052 CONSOLE TYPEWRITER - messages are printed here requiring


action by computer operators, and they can enter commands
to the system at this location.

2260 ALPHAMERIC DISPLAY SCOPES (8 units) - these display current


system status (jobs, disk usage, etc), and also are used to
display requests for magnetic tapes to be mounted, etc.

SECONDARY STORAGE - DIRECT ACCESS STORAGE DEVICES (DASDs)

2301 MAGNETIC DRUMS (2 drums) - attached to channel 1 via 2820.


Each holds 4.09 megabytes (million bytes) of data, rotates
once each 17.5 milliseconds, with average rotational delay
(latency time) of 8.6 milliseconds. Records data 4 bits in
parallel (for high transfer rate). Has 200 conceptual TRACKS,
each of 20,483 bytes maximum size. EACH DRUM IS UNREMOVABLE.
MAXIMUM TRANSFER RATE: 1.2 megabytes/second (FASTEST DEVICES
USED ON THIS SYSTEM).
These hold most heavily-used compilers and system programs.

231x (2314, 2319) MAGNETIC DISK STORAGE FACILITIES - total of 22


disk drives (including 2 spare ones). Each DRIVE holds one
2316 DISK PACK: 29.17 megabytes maximum, on 20 disk surfaces
(11 plates - outside ones not used). Uses MOVABLE HEADS
to access information. Each CYLINDER (of which there are 200
usable at any one time) contains the 20 TRACKS accessible at
one time without moving the READ/WRITE HEADS. Each track can
record at most 7294 bytes of information.
NOTE: unlike drums, each DISK PACK can be removed, and another
one mounted in is place if desired.
ROTATION TIME: 25 millisec, AVERAGE LATENCY: 12.5 millisec.
SEEK TIMES (time to move HEADS to correct cylinder):
MIN = 25, AVERAGE = 60 or 75, MAX = 130 or 135 millisec.
MAXIMUM DATA TRANSFER RATE: 312,000 bytes/sec.

NOTE: each of the three storage facilities contains its own


control unit, and each drive is numbered accordingly, i.e.,
230-237, 330-337, 430-433, on channels 2, 3, 4.

TOTAL DASD STORAGE IS AS FOLLOWS:


2314 (8 drv) 233 megabytes
2319 (8 drv) 233 megabytes
2314 (4 drv) 116 megabytes
2301 (2 drums) 8 megabytes
-------------- --- ---------
*TOTAL* 590 megabytes (approx)
HARDWAR1 - 04

SECONDARY STORAGE - SEQUENTIAL DEVICES

240x (2402 III, 2403 III) MAGNETIC TAPE DRIVES - read/write tape
at maximum density of 800 BPI (bits/inch), 9 tracks per tape
(2 of the drives also read/write 7-track tapes). Each group
of 4 drives is connected to one SELECTOR SUBCHANNEL of the
MULTIPLEXOR CHANNEL. The control units for these drives are
contained in the 2403 units.
MAXIMUM TRANSFER RATE: 90,000 bytes/sec (90KB), using tape
speed of 112.5 inches per second, tape gaps of .6 inch between
blocks of data.

UNIT RECORD DEVICES

1403 LINE PRINTERS (of various models), printing with maximum rated
speed of 1100 lpm (lines/minute) for 1403 N1, 600 lpm for
others. Use removable TRAINs, so that different character
sets can be obtained (upper case only: QN, upper/lower: TN).
Attached to 2821 control units (on multiplexor).

2540 CARD READ/PUNCH - one unit contains a card reader and card
punch (treated logically as separate addresses: for example:
00C for reader, 00D for attached punch).
READS cards (optically) at 1000 cpm (cards/minute) maximum.
PUNCHES cards at 300 cpm maximum.
Attached to 2821 control unit.

2671 PAPER TAPE READER - reads punched paper tape at up to 1000 cps
(characters per second). attached also to 2821 control unit.

SUMMARY OF DEVICE CHARACTERISTICS


- - - - - - - - - - - - - - - - - - - - - - - - - - - - - - - - - - - -
DEVICE CAPACITY PER UNIT TRANSFER RATE AVERAGE DELAY
TYPE (megabytes) (KB/second) (seek) (latency) ms.
---- ----- ------ ------ ---------

2301 DRUM 4.09 1200 0 8.6

2319 DISK 29.17 per pack 312 60 12.5


2314 DISK 29.17 per pack 312 75 12.5

2400 TAPE DRIVE varies, 20 per 90 - -


2400-ft tape OK

1403 PRINTER 132 bytes/line 2.4 - -


2540 READER 80 bytes/card 1.3 - -
2540 PUNCH 80 bytes/card 0.4 - -
2671 PAPER TAPE -- 1.0 - -

REFERENCES: GA22-6810 IBM S/360 SYSTEM SUMMARY


GA27-2719 IBM S/360 MODEL 67 FUNCTIONAL CHARACTERISTICS
OSHASP - 01

OVERVIEW OF OS/360 WITH HASP

This writeup gives a quick overview of the process by which any


OS/360 sytstem is initialized, how storage is used (particularly in
OS/360/MVT), and describes how OS/360 is modified by the use of HASP
(Houston Automatic Spooling Priority system). The storage layout is
described for the PSU CC 360/67 system.

I. INITIALIZATION - getting a system up and running

Consider a computer with no operating system currently in it. The


first necessity is to get a workable operating system in it, so that
jobs can be run. This is NOT a trivial process: note that there is no
Program Fetch resident in the machine, no I/O Access Method routines,
and not even a correct set of PSW's in low core for directing interrupt
actions.

For OS/360, the initialization process is composed of two parts:


IPL and NIP. IPL (Initial Program Loader) initializes memory and some
other things, and brings the NUCLEUS (the core of the OS) into memory.
NIP (Nucleus Initialization Program) performs the remaining actions
required to set up a specific NUCLEUS to be ready to execute.

A. IPL - Initial Program Loader

The process of getting an OS/360 system running is called IPLing,


and includes the following main steps:

1. The operator makes sure the disk pack called SYSRES (SYStems
RESidence) is mounted on a disk drive. The LOAD UNIT switches are set
to show the device address of the SYSRES disk pack, and the LOAD button
pressed. This causes the CONTROL RECORD to be read from the first
record on the disk pack, consisting of a PSW and two CCW's, placed at
location 0 in memory. Execution of this record causes the IPL
BOOTSTRAP record to be read into memory. The BOOTSTRAP record consists
of a set of CCW's which are used to read the IPL program into memory,
beginning at location 0. It ends with a LPSW to give control to the
IPL program.

2. IPL selects which NUCLEUS will be loaded (there may be a choice


which can be given by switches on the operator console).

3. IPL clears all memory above itself to zeroes, also obtaining


the size of memory; i.e., it stores until addressing interrupt occurs.

4. IPL clears the floating point registers, thus finding out if


the floating point feature is installed.

5. IPL brings the NUCLEUS into memory. First, it relocates the


part of itself not yet executed into high memory (near 252K), so that
the NUCLEUS can be placed beginning at 0. It then simulates Program
Fetch, loading the csects of the NUCLEUS load module into memory. The
first csect loaded is the NIP, loaded just below IPL, followed by the
I/O Interrupt Handler at 0 (which thus defines all of the special PSW's
in low core). IPL then passes control to NIP.
OSHASP - 02

B. NIP - Nucleus Initialization Program

The IPL process described above applies to all versions of OS/360.


The NIP is generated in different ways, depending on the specific type
of system and choice of options desired. Note: NIP is a csect which is
link-edited with the nucleus, so that it can refer to sections of the
nucleus via address constants, and provide efficient and specific
initialization services. It includes the following steps:

1. The CVT (Communications Vector TAble) is initialized, and its


location placed at location 16, so that it can be accessed from any
routine, whether part of the nucleus or not.

2. NIP determines whether the computer has Large Core Storage (LCS)
attached to it or not. This is particularly necessary for those
systems which include HIARCHY SUPPORT, i.e., the ability to usefully
distinguish between main core and LCS, perhaps splitting programs into
heavily-used and lesser-used sections.

3. NIP checks the workability of operator console(s), and also


checks the workability of ready direct-access devices (using TIO
instructions). It particularly checks that the SYSRES volume is mounted
and contains certain datasets needed by the system.

4. NIP performs various housekeeping actions, such as checking and


setting the timer to make sure it is working correctly, initializing
some pointers for storage management, initializing the SVC table (which
gives a pointer to each routine associated with a defined SVC number).
It also sets up to be able to obtain modules from the SYS1.LINKLIB,
which contains the heaviest-used load modules for the system, and also
establishes communications with the operator.

5. For any system having one, NIP loads reentrant modules into the
LINK PACK. These modules can be used during following execution, and
are located at the high end of memory. In a system with fast core+LCS,
the LINK PACK can be split, residing at both the high end of fast core
and the high end of LCS.

6. With the addition of various other miscellaneous operations,


NIP prepares a REGION which will contain the MASTER SCHEDULER, which is
the program doing overall job scheduling and operator communication.
It then can pass control (LINK or XCTL) to the MASTER SCHEDULER, and
the system is finally ready to run jobs.

At this point, memory layout (fast core only) is as follows:

HIGH ADDRESS LINK PACK (reentrant modules)


MS (MASTER SCHEDULER)
FREE AREA (dynamic for problem programs)
SQS (SYSTEM QUEU SPACE) (contains space for system
control blocks - TCB's, etc)
LOW ADDRESS NUCLEUS

NOTE: in systems with HIARCHY SUPPORT, FREE AREA, MS, and


LINK PACK would also have areas in LCS.
OSHASP - 03

II. RUNNING JOBS IN AN OS/360 SYSTEM

This section describes how jobs are run in a standard OS/360


system, using either OS-MFT or OS-MVT. Note that OS-PCP runs jobs
one at a time (sequential scheduling, uniprogramming), with no SPOOLing
of jobs to and from disk before and after execution. OS-MFT and OS-MVT
are generally similiar in that they both can SPOOL input onto DASD,
execute jobs in priority order, and write the output out later. The
main difference is in the handling of storage, in which OS-MVT is much
more dynamic. Note that all scheduling of jobs and communication with
the operator is effectively under the control of the MASTER SCHEDULER.

A. READING INPUT STREAMS

For each existing input stream (card reader, or input on tape),


the operator can issue a START RDR command. This causes a copy of the
READER/INTERPRETER program (referred to herafter as a RDR) to read
cardimages from the requested input device.

During its operation, a RDR reads an input stream, scans JCL cards
and converts them to a standard internal text form, and also obtains
cataloged procedure definitions from the procedure library (PROCLIB).
From the internal text, it builds INPUT QUEUE entries, representing
the information on the user JCL cards. It also writes any input data
cards onto disk, while placing pointers to the data into the INPUT
QUEUE entries so that it can be found later. The job's INPUT QUEUE
entry is enqueued in priority order with other jobs awaiting execution.

When all of the cards for a job have been read, it has in effect
been split up into the following:
1. INPUT QUEUE ENTRIES, in priority order, in a special system data
set used only for work queue entries, referred to as SYSJOBQUE.
2. INPUT STREAM DATA SETS, placed on DASD, using normal OS/360
Direct Access Device Storage Management (DADSM) routines. NOTE: DADSM
routines are themselves kept on DASD, nonresident, and allocating disk
space often requires a fair number of accesses to disk to look for free
space on one, and to allocate the space appropriately. The DADSM
routines are quite general and powerful, but also create some overhead.

B. INITIATING JOB STEPS

The operator may START one or more INITIATORs, each of which can
initiate jobs from one or more classes(categories) of jobs. Each
initiator will then attempt to initiate the highest priority job from
the first class of jobs which has a ready job. If there are no jobs
awaiting execution in its allowed classes, it WAITs for one to become
available. Note that it essentially removes input queue entries from
SYSJOBQUE. Like every RDR, each INITIATOR is executed as a separate
task. (INITIATOR may be abbreviated INIT).
OSHASP - 04

When an allowable job becomes available, the initiator obtains


a REGION for the job (from the FREE area, also called the DYNAMIC area),
uses the information from the RDR to allocate DASD storage, tape drives,
and other I/O devices. It then ATTACHes the first module of the program
to be executed (thus creating the JOB STEP TASK), and WAITs until the
job step completes.

When a job step is finished, the TERMINATOR (part of the INITIATOR


really, so that the whole unit is called an INITIATOR-TERMINATOR)
effectively cleans up, performing disposition of I/O devices (DISP
parameter in JCL), and releasing the REGION which had been acquired for
the job step.

During this process, job steps are essentially independent, i.e.,


they could require different sizes of regions, and might execute in
different locations. Note that the INITIATOR-TERMINATOR must also
control the skipping of steps as controlled by the JCL COND option.

During execution, SYSOUT datasets are written to DASD, to be


printed/punched later. When the last job step of a job completes,
the INIT creates a work queue entry calling for the job's output to be
printed/punched.

C. WRITING SYSTEM OUTPUT

A program called a SYSTEM OUTPUT WRITER (WTR) can be STARTed by


the operator to transcribe output from DASD to printers or punches, or
even tapes to be printed/punched later. Output can originally be
grouped into CLASSes, which can be written according to priority or
otherwise treated differently as desired.

COMMENTS ON THE PROCESS ABOVE

The process described above is quite flexible and general. However,


it does require a fair amount of time to set up any job, even a small
one. As such, it is quite satisfactory for any installation which runs
jobs which require a fair amount of time, since then the setup time is
negligible. However, due to the use of OS DADSM for PSPOOLed input and
output, DASD space can become fragmented, disk head movement can
become excessive, and much time can be used up allocating and
deallocating disk space. Although OS/360 is quite reasonable in a
commercial installation, or in one running a few large jobs, it seems
to have too much overhead for university or other installations which
often run many small jobs. For this reason, most larger S/360 computers
(i.e., models 75,67,65, and larger 50's) typically use some method to
reduce the overhead in running small jobs. All of the methods involve
'faking out' OS/360 in some aspect or other. The method emphasized here
(which happens to be the most popular one) is HASP (Houston Automatic
Spooling Priority) system.
OSHASP - 05

III. RUNNING AN OS/360 HASP SYSTEM

In any OS/360 system, it is fairly typical to have one or more


special jobs in the system, which are loaded before normal user jobs.
and typically remain resident from one IPL to the next. Such jobs may
control remote batch terminals, timesharing typewriter terminals, or
provide any other service which the installation desires. Such jobs
are normally placed into the high-address sections of the FREE area
(or of the two FREE areas, if the system has both main core plus LCS).
When HASP is used, it is normally the first job submitted to OS/360,
and it essentially takes over the system, even though it appears to
OS/360 as just another job.

A. HASP INITIALIZATION

There are two possible cases when starting HASP up after an IPL.
A COLD START occurs when the system is completely empty, i.e., there
are no jobs already enqueued on disk which can be executed. If there
are disk packs on the system containing previously-read jobs, the start
is called a WARM START. A WARM START normally occurs if the system was
previously taken down on purpose, such as for systems programming, or
if enough information had been saved previous to a 'crash'. A COLD
START only occurs when the system crashes badly, and destroys records
of jobs already SPOOLed onto disk. In this case, the jobs must be read
in again.

When HASP first gains control, it issues a special SVC call, which
returns to HASP with protect key 0 and supervisor state, also supplying
HASP with some useful pointers to control blocks in the nucleus. NOTE:
this special SVC can only be called 1 time, since it locks after its
first usage after an IPL.

UCB's (Unit Control Blocks) exist for every device connected to


the computer system. HASP now scans these, and essentially allocates to
itself:

1. All real unit-record devices (readers, punches, printers).

2. All disk packs which have volume label names beginning SPOOL.

It also obtains effective control of the operator's console(s),


plus remote terminals, if any.

Finally, HASP modifies the SVC table (which contains pointers to


the routines which are called for each specific SVC number), so that
the following ones go into HASP, rather than to the original routines
(also saving these addresses for later use for itself):

SVC 0 (EXCP - all input/output)


SVC 34 (WTL - write to log)
SVC 35 (WTO, WTOR - write to operator, with/withput reply)
OSHASP - 06

B. RUNNING NORMAL USER JOBS UNDER OS/360 WITH HASP

1. Input Stage - HASP continually reads cards from whatever card


readers are active in the system. It checks for JOB cards, performs
various accounting checks on input jobs, and transcribes the jobs to
disk. In this stage, each job is split up into two sections: the JCL
cards (with certain modifications), and the input data cards. It
enqueues the jobs according to a priority scheme, which can be found
from many different sources of information. These include category,
time, output, storage requirements, originating site of job, and
commands from the operator to change priority of either single jobs
or entire groups of jobs. The disk allocation scheme used is quite
efficient, and is described later.

2. Execution Stage - HASP has the ability to control which jobs


may execute in which portions of the OS FREE area, and using the various
priority and storage requirements, it selects jobs from its queue to be
executed. One OS RDR exists, permanently STARTed to a card reader.
This card reader does not actually exist (i.e., it has a device address
which does not correspond to a real card reader). Since SVC 0's are
intercepted by HASP anyway, HASP effectively selects a job and feeds it
to the OS RDR, which thinks the job is coming across a real card reader.
The OS RDR includes an EXIT LIST, which allows it to call some routine
after it has scanned each JCL Card, but before the JCL card's data is
actually recorded. HASP is entered, and takes this opportunity to
modify any JCL that it wishes to, for example, removing any REGION=
requests on JOB or EXEC cards. HASP has special treatment for any
system input or output data sets, as described below:

//XXXXXXXX DD * or DATA : the OS RDR would normally expect data


to follow such a card, and would normally thus SPOOL such to disk
itself. HASP does not want this to occur, since it has already SPOOLed
the data. It happens that there are large number of UCB's for pseudo
card readers already in the system. HASP selects one of these UCB's
which is not being used, and effectively changes the tables for this
type of card so that it appears as:
//XXXXXXXX DD UNIT=xxx
As a result, the OS RDR thinks that the data set will be read from
unit xxx, so that it does not try to SPOOL the input. In any case,
the input no longer follows that JCL card, because HASP feeds the RDR
only the JCL cards of a user job. During this process, HASP connects
up the device address xxx to the specific input data set which had
been previously SPOOLed.

//XXXXXXXX DD SYSOUT=x : HASP also has a large number of UCB's for


nonexistent, pseudo printers/punches. It does the same thing to this
kind of card as it does to DD * cards, except that it only allocates
the pseudo devices, and will later save the output which is written to
them.

As soon as the RDR finishes reading a job, an initiator can


immediately initiate it, since HASP chooses jobs appropriately.
When the initiator chooses i/o devices, it finds that it can always
allocate devices for unit-record i/o, since HASP had already checked
to make sure a pseudo reader/printer/punch was available for each
SYSIN or SYSOUT data set.
OSHASP - 07

Finally, a job step of the user job executes. When it wishes


to read cards or print lines, it acts as though it were using a real
device attached to the system, and OS/360 accepts this. Whenever an
SVC 0 is issued to request such I/O, HASP intercepts it.

HASP may be entered for any of the following reasons:

1. WTO, WTOR, WTL - HASP adds own processing as desired.


2. I/O to disk, drum, tape, terminals, etc - HASP does not
interfere, but passes these on to the real I/O Supervisor.
3. I/O to real unit-record devices - these have probably been
issued by HASP in the first place, so it passes control to the real
I/O routines to let them perform the I/O.
4. I/O to a pseudo device - these must be caused by user program.
For input, HASP fetches the cardimages from disk into memory (if they
are not already present), and feeds requested cardimage(s) to the user
program by MVCing them there (using user protect key for safety). For
output, it blocks up output and eventually writes it to disk. In all
cases, HASP simulates the effect of having real card readers/printers/
punches, which are odd only in possessing great speed; i.e., the effect
on OS/360 is of having issued an I/O request and having had it complete
immediately.

During execution, HASP can also provide extra services, such as


monitoring time used, output records, etc. It also reorders priorities
of executing user tasks so that I/O bound jobs have higher priorities
than do CPU-bound ones. This action (which is unknown to OS/360) helps
minimize time spent waiting .

3. Output Stages - Print and Punch - after a job has been executed,
it enters the Print queue, is printed, enters the Punch queue, and
has punched output (if any) actually punched. This activity occurs
without the knowledge of OS/360, which believes the job disappeared
whenever it finished execution. Only when a job is finished punching
is its disk space released. This allows for jobs to be saved across
system crashes, and for such useful services as repeating output by
operator control.

C. DASD STORAGE MANAGEMENT IN HASP

HASP manages its DASD storage quite efficiently, not only needing
NO accesses to DASD to allocate or deallocate space, but also doing a
good job of minimizing arm movement on moveable-head devices. HASP
requires the use of entire volumes (normally 2311 or 2314 disks). For
example, the PSU CC's 360/67 has 3 2314 disk packs for HASP. The
management of this storage works as follows:

A MASTER CYCLINDER BIT-MAP is maintained in HASP. This is a


string of bytes, in which each bit represents 1 CYLINDER on the SPOOL
disks (for example, 600 bits for the cylinders on 3 packs). A one-bit
represents a FREE CYLINDER, while a zero-bit shows that the given
cylinder is allocated to some job. HASP also remembers for each disk
which cylinder was the last referenced, thus always noting the current
position of the read/write heads.
OSHASP - 08

Two JOB BIT-MAPS exist for each job, one for SYSIN data and the
other for SYSOUT data. Whenever a cylinder is required for a job,
HASP searches for a free one in the following fashion:
1. It first searches the master bit-map for a free cylinder at
the current position of any read/write head, i.e., where it can read
or write without even moving a head.
2. It then searches for a free cylinder at +1 from current head
positions, then -1 from each, followed by +2, -2, etc up to +8, -8
cylinders away from current head position.
3. If the above fail, it searches sequentially through all
cylinders in the master bit-map.
When a cylinder is found, its bit is turned off in the master bit-
map, and turned on in the appropriate job bit-map. The overall effect
of this process is to minimize head movement.
When disk storage for a job is to be released, the deallocation
scheme is extremely fast and efficient: the job bit-maps are just
OR'd into the master bit-map, thus returning all of the cylinders to
free storage.

IV. OTHER PSEUDO-DEVICE SYSTEMS FOR USE WITH OS/360

The following are other systems which are based on OS/360, but
use some kind of pseudo-devices to make it run faster.

A. ASP - ATTACHED SUPPORT PROCESSOR

In this system, 2 computers are used. All unit-record devices are


attached to the multiplexor channel of a medium-sized 360, along with
some disk. It performs all SPOOLing, control of remote terminals, etc.
It is connected to a larger system via a chnnel. OS/360 is in the
large system, and it reads its input and sends its output along the
channel-channel hookup between the two CPU's. A typical setup would
use a 360/50 hooked to a 360/75.

An advantage over HASP is that ASP offers somewhat better setup


facilities for optimizing use of tapes and non-SPOOL disks. A
disadvantage is the requirement of two CPU's, either of which may have
problems, and thus stop the entire system.

B. LASP (LOCAL ASP) or CLASP (CLOSELY LINKED ASP)

These are versions of ASP in which the code from the smaller
computer is moved over into a region on the larger machine. This allows
an ASP system to be run on one processor. If the system is also run
under straight ASP, it requires switches to switch the unit-record
devices over to the bigger machine. It also requires more memory than
HASP, but does allow the system to run even with one CPU down.

C. TUCC HYPERDISK

This method uses LCS plus part of a 2314 disk pack to simulate
the entire disk pack containing heavy-used systems programs. The most
recently used tracks of this disk are kept in LCS, thus making the disk
effectively faster, without changing the internals of OS/360.
OSHASP - 09

V. PSU CC 360/67 SYSTEM - OS/MVT WITH HASP

The following tables gi$e the current layout (with no guarantee of


future appearance) as of 6/12/72, for the 360/67 at the PSU CC. The
system has both fast core (1024K) and Large Core Storage (2048K).

LOW HIGH K LOW HIGH


MS 2928 3072 144 2DC000 300000
HASP 1968 2928 960 1EC000 2DC000
FMGR 1628 1968 340 197000 1EC000
RJE 1346 1628 282 150800 197000
WATFOR 1336 1346 10 14E000 150800
RASP 1236 1336 100 135000 14E000
FREE 1024 1236 212 100000 135000
______________________________________________________________
MS 964 1024 60 0F1000 100000
HASP 876 964 88 0DB000 0F1000
RDR 866 876 10 0D8800 0DB000
FMGR 852 866 14 0D5000 0D8800
RJE 832 852 20 0D0000 0D5000
WATFOR 704 832 128 0B0000 0D0000
FREE 122 704 582 01E800 0B0000
NUC 0 122 122 000000 01E800

NOTES

MS (Master Scheduler) includes the Link Pack areas. The fast core
section contains mainly modules for the various I/O Access Methods,
while the LCS part contains reentrant parts of INITIATORS, RDRS,
plus other routines (overlay supervisor, special tables,etc).

HASP Fast core section is most heavily-used sections. LCS part has
lesser-used sections, plus such items as in-core SYSJOBQUE (HASP
intercepts all RDR and INIT reads/writes to SYSJOBQUE, and keeps
such information in about 600K of LCS). Also has HASP buffers for
all devices, plus tables of tape names/locations for user tapes.

FMGR File Manager - manages, synchronizes RJE, BAT files.

RJE Remote Job Entry - handles typewriter terminals.

WATFOR WATFOR REgion - RPSS - manages CAtegory W fast processors


swapped in and out of memory (WATFOR, ASSIST, PL/C, etc).

RASP Interface between 360/67 and ADAGE AGT/30 graphics computer.

FREE fast core - 560K for user programs (4x140, 2x280, 1x280+2x
140, occasionally 1x560), rest for Sytem Queue Space.
LCS - currently unused, except for systems programs.
ASPRGTC1 - 01

S/360 Assembler Language Programming Techniques


John R. Mashey - Winter l972

Topic: Program Modularity and Parametrization Methods:


Using Macros, Internal Subroutine, External Subroutines
This topic: pages 01-08

It is generally important in any computer program to avoid coding


any procedure more times than necessary. It is generally best to write
something one time, then have it available for later use in many parts
of a program. In assembler language, there are three main ways of doing
this: macros, internal subroutines, and external subroutines. This
writeup describes each of these techniques, gives the advantages and
disadvantages of each, and notes under what condition each is best.

I. DESCRIPTION, DEFINITION, AND CALLING

A. MACRO INSTRUCTIONS

A macro instruction is defined, and either placed at the beginning


of an assembly language program (a USER macro), or entered into a macro
library (a SYSTEM macro). When called, it generates 0 or more assembly
language statements at the point of invocation, and the code generated
may vary greatly from call to call.

1. DEFINITION

A macro definition begins with MACRO, followed by the PROTOTYPE


STATEMENT, which gives the name of the macro. The body of the macro
includes 0 or more MODEL STATEMENTS, which are assembler commands and
machine instructions to be generated, and macro-operations, which serve
to direct the expansion processing of the macro. The macro definition
is terminated by the MEND statement. The following steps are typical
in defining a macro:

a. DETERMINE BASIC PURPOSE AND GENERATED CODE: It is generally


a good idea to write at least some of the statements to be generated
together as a code segment first, to get some feel for what is needed.

b. DECIDE ON NECESSARY ARGUMENTS AND THEIR USAGE: it may be a goo


idea to write the purpose of each argument in the operand list, punch it
and include it in a block of comments at the beginning of the macro.
This helps the macro to be done to do what it is supposed to do.

Use POSITIONAL operands for heavily-used arguments, i.e., if an


argument MUST be supplied every time, make it positional. In a group
of positionals, place the most heavily used ones near the front, since
it is much more convenient to omit the later ones than the earlier.
Use KEYWORD arguments for values which may not be needed always, or for
ones which are conveniently supplied with default values which are most
often used. Use SUBLISTS or &SYSLIST for variable numbers of arguments.

c. WRITE ACTUAL BODY OF MACRO, BUILDING MACRO-TYPE COMMANDS


AROUND THE MODEL STATEMENTS TO BE GENERATED.
ASPRGTC1 - 02

2. INVOCATION

A macro can be called merely by writing its name and supplying it


with any needed arguments. Note that a label on a macro call is never
generated (and is thus UNDEFINED) unless the macro definition is made
to generate it on some model statement.

B. INTERNAL SUBROUTINES

Internal subroutines are sections of code written as parts of a


given control section (CSECT), and are only used inside that CSECT. Like
external subroutines, internal subroutines can of course call others.
They are typically used for small to medium sections of code which are
needed at several places in a CSECT, but are not needed by any other,
or are not big enough to warrant the overhead in making them external
subroutines.

1. DEFINITION

It is often typical to place a group of internal subroutines near


the end of the code section of a program (just before the data areas).
It is a good idea to set up conventions for the use of internal
subroutines, before writing any. The following are often needed:
return register (either one standard one, or several different ones),
argument registers, and work registers which can be used without saving.
In general, internal subroutines should not need to do much saving and
restoring of registers. They should be able to return via BR REG.

2. INVOCATION

Calling an internal subroutine is usually done by first filling any


argument registers with needed values, then coding: BAL REG, INSUB.
This type of linkage can be fast and small.

C. EXTERNAL SUBROUTINES

External subroutines are used for major program segments, and


can usually be assembled separately from the rest of the program. In
fact they can be written in a different language (i.e., FORTRAN and
ASSEMBLER combinations).

1. DEFINITION

An external subroutine may be written in either of two ways in


assembly language: as a CSECT, or as an ENTRY within a CSECT. In the
first case, the subroutine is entered at the CSECT statements and return
at one or more places depending on the desired code. In the second case
each entrypoint may be given control, and may share code or be
totally separate from the other entries. This form is often used for
a group of related routines (like SIN and COS, which are both entries in
a CSECT), or for a routine requiring initialization or termination
functions different from the normal calling function.
ASPRGTC1 - 03

A multiple-entry CSECT is typically set up as follows:

CSECTNAM CSECT
ENTRY ENTRY1,ENTRY2,...ENTRYN
..... code for entry at CSECTNAM: multiple-entry routines often
..... are entered only at the entry points, not at the CSECT.

ENTRY1 LINKAGE CODE (SAVE, XSAVE, etc)


..... executable code when called at ENTRY1.....
RETURN LINKAGE CODE (RETURN, XRETURN, etc).

..... remaining entrypoint names and code

..... internal subroutines needed by more than one entry point.

..... data areas used by various of the entry point routines.

The following are important points to remember when using multiple


entry CSECTS:

THE DIFFERENT ENTRY POINTS NEVER CALL EACH OTHER. In essence, all
of the routines represented by the various entry points are at the same
level in calling structure of an entire program.

ONLY ONE SAVE AREA IS ACTUALLY NEEDED. Since the routines inside
the CSECT never call each other, the user can code the save area at the
end of the LAST section of code, so that all of the previous sections
can refer to it (note that if placed on the first, it would be difficult
for the later ones to access it using a LA instruction: address
constants must be used instead). With XSAVE/XRETURN, this means that
the SA=* operand is coded only on the LAST XRETURN.

CARE MUST BE TAKEN WITH ADDRESSIBILITY. All of the code sections


can of course address the data areas at the end of the CSECT. However,
the programmer must be very careful with any internal subroutines he
writes, because the BASE REGISTERS USED TO ASSEMBLE INTERNAL SUBROUTINES
MUST HAVE THE CORRECT VALUES IN THEM AT EXECUTION TIME. IF THEY DON'T,
AS WHEN THEY ARE CALLED FROM DIFFERENT SECTIONS HAVING DIFFERENT USING
SETUPS, THEY WILL ASSEMBLE PROPERLY AND THEN BLOW UP AT EXECUTION TIME.
IN PARTICULAR, THE PROGRAMMER SHOULD PLACE INSTRUCTIONS TO BE EXECUTED
(EX operation) WITH THE SECTION OF CODE USING THEM, AND NOT AT WITH THE
DATA AREAS, IF THEY PERFORM ANY SYMBOLIC ADDRESSING.

The problems described above are typically handled either by making


all entry point code segments set up the same USING conditions, or by
setting a specific register to point to the beginning of the internal
subroutines, EXecuted instructions and data. If register 13 points to
a save area just above these code sections, it can be used this way,
since it will always have that same value. Getting the same USING
conditions across an entire multi-entry CSECT can be done:

ENTRYX XSAVE
L BASEREG,=A(CSECTNAM)
USING CSECTNAM,BASEREG

Note that the above can be accomplished with the XSAVE AD= operand.
ASPRGTC1 - 04

D. COMBINED FORMS

In some cases, it is convenient to combine the ease of use of the


macro with the small size of internal or external subroutines. In this
case, the macro expansion sets up any needed arguments, saves registers,
etc, then generates code to invoke the subroutine. The subroutine then
provides the major portion of the processing code, any needed large data
areas, etc.

Examples of the combined form are the following macros: XDECI,


XDECO, XPRNT, XSNAP, which call XXXXDECI, XXXXDECO, XXXXPRNT, and
XXXXSNAP, respectively.

Two different extremes exist in writing combined forms:

1. COMBINED FORM - STANDARD LINKAGE

In some case, the calling sequence to invoke an external subroutine


essentially includes the CALL macro or equivalent code, i.e., it uses
standard conventions. It typically assumes that registers 0, 1, 14, 15
may be modified without causing trouble. This method is efficient and
general, but can cause trouble if used improperly.

2. COMBINED FORM - SPECIAL NONDESTRUCTIVE LINKAGE

In some cases, it may be useful to define a macro instruction which


invokes a subroutine, but can be used ANYWHERE without disturbing any
registers, changing the condition code, or requiring that certain of the
registers not be the ones being used as base registers (in particular,
register 15). This is the kind of linkage used from XDECO to XXXXDECO
XPRNT to XXXXPRNT, etc. The following shows the general form of such a
linkage setup, giving first the kind of code to be generated by the
macro part, then the entry and exit code for the associated routine:
(NOTE: label is typically an &SYSNDX-generated unique label)

STM 14,0,label save registers to be changed


.... evaluate arguments of macro: any required Load Addresses
.... must be done using LA 0, argument since doing LA into
.... any other register could destroy a base register. If
.... more than one argument is needed, the remaining ones can
.... be stored into control block after label. Examples:
LA 0,argument
ST 0,label+12 2nd argument (one arg left in RO)
.... after all arguments are evaluated and saved, and ONLY
.... THEN, it is now possible to modify registers:
L 15,label-4 V-type adcon for routine
CNOP 2,4 make sure next inst not on F boundry
BALR 14,15 call routine, also point 14 at the
argument list following
DC V(subroutine entry point) adcon to get there
label DS 3F 3 words for saving 14, 15, 0
DS F space for arguments after first
.... DS OR DC space here for any remaining arguments
.... the subroutine will return control to next instruction:
LM 14,0,4(14) reload registers. Note that this is
only safe way, since 15 might have
current base register.
ASPRGTC1 - 05

The following shows the typical code used to enter and exit the
supporting module used with the previous macro expansion. Note that the
entry point of the routine might be either a CSECT name, or an ENTRY
name, i.e., one CSECT might contain several entrypoints, one for each
supporting subroutine needed.

entrypoint label definition (CSECT, or label DS OH)


USING entrypoint,15 initial base register
.... save all registers which may be modified by code. Save
.... into THIS CSECT (unlike normal OS/360 conventions).
.... DO NOT SAVE INTO CALLER'S SAVE AREA, since it may not
.... exist, especially if caller is a lowest-level routine.

.... initialization code: if this routine performs I/O, or


.... calls any others, or requests any supervisor services, it
.... is a good idea to set up another base register than 15,
.... set up a save area, and put its address into register 13,
.... since any of the above actions may result in registers
.... being saved at wherever 13 points.

.... processing code to perform required actions

.... result return code: result may be left in register 0,


.... in which case it should not be restored (neither here nor
.... in generated code before: i.e., change LM 14,0,4(14) to
.... LM 14,15,4(14) and STM likewise).

.... register restoration: restore all registers modified in


.... this routine. Especially restore 14.

SPM 14 restore original condition code (note


that calling BALR 14,15 saved it)

B number(14) branch to displacement number beyond


address in 14, enough to pass control
to statement: LM 14,0,4(14)

It may be useful for the programmer to create a DSECT which


describes the control block generated by the macro expansion. This
would permit the module to refer to arguments and return points using
symbols rather than absolute displacements. A typical DSECT might be:

dsectnam DSECT
DS V(routine) space for adcon
DS 3F space for regs 14, 15, 0
argument DS F argument value placed here, if any
.... further arugment DS statements follow.
return LM 14,0,4(14) return label (YES, THIS IS LEGAL: it does
NOT generate code, but it makes the point
clear as to description of block).

If such a DSECT were used, the routine code would include:


USING dsectnam,14 to set up DSECT addressibility
B return return (instead of B number(14)
ASPRGTC1 - 06

II. ADVANTAGES AND DISADVANTAGES

The following lists the good and bad points of each type:

A. MACRO INSTRUCTIONS

1. ADVANTAGES

Code can be tailored to each individual request, i.e., the code


generated by each macro call can vary from a great deal to nothing,
such as debug code eliminated by testing a global set variable.

SPEED: macro-generated code can be the fastest in execution, since


it can perform its actions without having to set up linkage to another
section of code.

VARIABILITY: generated code can vary depending on the nature of


arguments passed to a macro (such as testing the TYPE of arguments to
generate different instructions).

2. DISADVANTAGES

SLOW ASSEMBLY: macro processing can be very slow.

LARGE CODE: if used improperly, macros can generate large amounts


of code very easily. If there are many copies of large blocks of code,
much space can be wasted.

OBJECT DECKS: a macro cannot be assembled and an object deck of it


gotten like a subroutine can, i.e., if a call is made to a macro, the
macro definition must be included in the program or in a library, while
a CSECT may be saved as an object deck (which is usually much smaller
than the source deck).

B. INTERNAL SUBROUTINES

1. ADVANTAGES

SPEED: although not as fast as in-line code from a macro, the code
for an internal subroutine is usually faster than the linkage to an
external one. In particular, values can be passed in registers, and
usually registers will not have to be saved.

SPACE: internal subroutines require less space than generating the


same code several times via macro expansions.

2. DISADVANTAGES

SPACE: if the same function is performed by internal subroutines


in several CSECTS, code is thus duplicated and space wasted.

COMPLEXITY: in some cases, in order to make efficient use of a


number of internal subroutines, it is necessary to set up fairly
extensive rules on usage of registers in a CSECT, so that the linkage
among them may be fast and small.
ASPRGTC1 - 07

C. EXTERNAL SUBROUTINES

1. ADVANTAGES

SPACE: if written as an external subroutine, code can be usefully


called from almost anywhere in a program. Thus, there is only one copy
of it, and it generally will occupy the least space.

SEPARATE COMPILE/ASSEMBLY: a routine written as a CSECT can be


assembled separately from the rest of the program an object deck can
be obtained, and translation time generally saved. The routine may of
course be written in a different language than the rest of the program.

2. DISADVANTAGES

LINKAGE TIME: if standard OS/360 linkage is followed, a fair amount


of execution time and object code space can be consumed by this linkage.
More efficient nonstandard linkage can be used instead, but this brings
with it the disadvantage of nonuniformity and lack of generality.

D. COMBINED FORMS

1. ADVANTAGES

In general, the combined forms can possess all the advantages of


the separate forms especially since the macro portions can generate
different code depending on circumstances; thus the code for the same
macro might expand in-line in one case and generate an out-of-line call
to a routine in another.

2. DISADVANTAGES

COMPLEXITY: it of course requires somewhat more planning and code


to set up a good combined form system, since both a macro and module
must be created and meshed together properly.
ASPRGTC1 - 08

III. CIRCUMSTANCES FAVORING USE OF THE VARIOUS FORMS

A. MACRO INSTRUCTIONS

In general, a pure macro instruction is used as follows:

VARYING CODE: the required code varies radically from call to


call. For example: XSAVE and XRETURN.

SHORT CODE: if a macro can generate less in-line code to perform


the required function than is needed to generate a call to the routine,
then it should be written as a macro. In some cases, it takes as much
work to set up the arguments as it does just to perform the operations.
For example: the code to obtain the minimum or maximum of several
arguments is probably most efficiently written as a in-line macro.

LINKAGE CODE: code for linking to routines is almost necessarily


written as macros, since it makes little sense to call a routine in
order to perform linkage, unless the linkage code required is very
complex (in which case the program is probably going to be SLOW).

B. INTERNAL SUBROUTINES

Internal subroutines are usually used (as opposed to macros which


generate code in-line) under the following circumstances:

CODE WITH LITTLE VARIANCE: if the code is not going to be much


different from macro call to macro call, it may be better to let the
macro call generate a BAL to one copy of the code as an internal subr.

Internal subroutines are usually used (as opposed to EXTERNAL


subroutines) under these circumstances:

SHORT CODE, HEAVILY USED: if code must be used many times by


a CSECT, then the faster linkage of internal subroutines usually makes
it worth writing it that way.

CODE NEEDED ONLY BY ONE CSECT: if not too long, it is fairly


logical to incorporate it as part of that CSECT. It will probably be
much more efficient since it will have access to the internal variables
of the CSECT, and be able to communicate via register values easily,
rather than requiring long operand lists.

C. EXTERNAL SUBROUTINES

LONG CODE: if something is long and complex enough, it may be a


good idea to make a separate module of it, test it, get an object deck,
then leave it along thereafter.

CODE OF GENERAL USE, NEEDED MANY PLACES: in this case, it is


practically necessary to make code an external subroutine, so that it
can be accessed where needed.

D. COMBINED FORMS

These are useful anywhere the others are. The nondestructive form
is specially useful if it is to be used by beginning programmers.
DOCUMENT-1

S/360 Assembler Language


Documentation and Listing Techniques

by John R. Mashey and Andrea Rhodes

Goals of Good Documentation :


1. Aid in designing good programs
2. Aid in debugging programs
3. Make programs clear and understandable once written
4. Make structure of program well-organized

Good documentation is a great aid to producing clear, well-written,


and understandable programs, and can save much programming and computing
time. Good documentation is especially necessary for programming
projects requiring either a long period of time by one programmer,
any period of time by more than one programmer, or modifications to any
code by anyone other than the original author. Good documentation
techniques can be helpful in the following ways:

PROGRAM DESIGN
Many beginning programmers seem to write programs in haphazard
and unplanned ways, and often add comments only after the program is
running. This method not only leads to poorly-structured programs,
but usually results in wasted time, and is not feasible except for
relatively trivial problems.
A much better method is to write most of the overall comments with
a flow chart first, specifying the structure and conventions of the
program, and then writing the program to fit. This usually leads to
cleaner-coded, well-structured programs which are produced in less
time than those written by most novice programmers.

PROGRAM DEBUGGING
Program debugging is aided by documenting a program before and
during its creation, rather than afterward. Many mistakes can be
avoided by having programming conventions well-specified before writing
the code. The very act of adding a comment to a statement often helps
identify errors in the statement, because it forces the programmer to
think about the function of the statement. Finally, good documentation
is useful if help is required from someone else, since it aids one in
understanding the program quickly. (It also makes other people much
more willing to look at a program!)

PROGRAM MODIFICATIONS
Clear and complete documentation is absolutely invaluable when a
program must be modified, especially if anyone but the original
programmer is making the changes. It may be noted that useful programs
tend to be modified often.
DOCUMENT-2

ASSEMBLY LANGUAGE DOCUMENTATION


The following advantages apply to any computer language.
However, they are most important for assembly language, for the
following reasons:
1. Assembly language programs typically require many more
statements than do high-level language programs for the same task.
2. Assembly language programs are not usually self documenting.
Without good documentation, not even the programmer who wrote the code
will be able to understand it several months later.
3. Assembly language programs are often very sensitive to minor
changes, much more so than higher-level languages.

The remainder of this paper describes a well-documented assembly


program, and notes the various techniques which can be used to achieve
this result. Briefly, a well-documented program has the following
characteristics:

1. The documentation structure mirrors the program structure, and


it leads from the general to the specific. Thus, the program begins
with a block of comments which describes the overall purpose of the
program, and gives some indication of the general structure. Each
major section has a block of comments describing it, as does each
of the section's subsets.
2. At least 95% of machine-instruction statements have comments.
3. The program is easy to read, and blocked off into logical
sections, so that anyone may look at it and understand it easily.
4. Good programs typically have 15-25% of the total statements
as comment cards, in addition to the comments on the individual
statements.

S/360 ASSEMBLER DOCUMENTATION HINTS--DO'S and DON'TS

DON'T
punch statements in random columns. This makes a program very
unreadable. Use a drum card, and if you do not know how, ask your
assistant. The following is a defacto standard for S/360 Assembler
statements:

Col. 1 : LABELS
Col. 10: OPERATION CODES
Col. 16: OPERAND FIELD
Col. 36: COMMENTS (col. 40 is preferred by some people)
Col. 72: CONTINUATION COLUMN
Col. 73-80: SEQUENCE NUMBERS (very useful--ask your assistant
how to sequence a deck if you are unsure)

This layout can be obtained by the use of the following drum card:
Cols. 1,10,16,36,73: punch '1' (gives tab stops at these cols.)
Col. 72: punch '-' (skips col. 72 automatically, unless AUTO
DUP/SKIP is off)
All other columns: punch 'A'
If for some reason these columns are not wanted, a standard set should
be decided upon, and then held to completely.
DOCUMENT-3

DON'T
Place a comment card before every statement. This bad habit makes
programs absolutely unreadable. Embedded comments should be used to
block programs into logical sections, not to explain the function
of individual statements.

DON'T
bury code with too many interspersed comments. If so many
comments are necessary, place them in blocks ahead of the program
segments and not in the middle.

DO
put a comment on nearly every machine instruction. Comments are
also helpful for explanations of variables and flags. Each comment
should describe the function of its statement, and generally, it alone.
If a comment is needed to describe the function of a block of
half-a-dozen cards, it probably should be placed on a comment card
preceding the block of code. These comments should be punched when
the program is originally punched. A good technique is to add these
comments while keypunching the program. Often, this results in
catching many mistakes at that point. It is noted that few novice
programmers do this, while most experts do. It is also noted that
many programmers who do this wish they had started doing so earlier,
since they realize how much time they had wasted by not commenting
the original deck.

DO
use TITLE, SPACE, and EJECT commands. The command
TITLE 'A HEADING MESSAGE'
skips the listing to a new page, and prints the heading message at the
top of every page until another TITLE command is issued. This not only
clearly labels your listing, but it saves time in looking through a
listing which is more than a few pages long. The command
EJECT
skips the listing to a new page, and is useful in blocking off major
parts of a program. The command
SPACE n
inserts n blank lines into the listing at that point. This is useful
for blocking off smaller sections of a program, particularly small
loops, register equates, etc.
Not only do listing control instructions aid to the readability
of a program, but they also save the programmer time in debugging.

DON'T
merely restate an instruction when you place a comment on it.
Of the following two examples, which is more explanatory?

A 1,VAR ADD VAR TO REGISTER 1

A 1,VAR R1=SUMMATION OF ODD PRIME NUMBERS

DON'T
put several single comments between statements in an unreadable
manner. It is often useful to indent a single comment to column 16.
This keeps it from interfering with the reading of labels and opcodes,
and thus distinguishes it from the machine instructions.
DOCUMENT-4

DO
use comment card blocks which list useful information. For
example, a list of register allocation and usage is extremely
helpful, not only in debugging, but also in revising a program.
Such a list should appear as part of the preface to the appropriate
section of code. Another example is a list of calling conventions for
subroutines. For extensive programs, lists of the following might be
kept at the beginning of each subroutine: MACROS USED, SUBROUTINES
CALLED BY THIS SUBROUTINE, SUBROUTINES WHICH CALL THIS SUBROUTINE,
VARIABLES USED BY THIS SUBROUTINE, VARIABLES CHANGED BY THIS
SUBROUTINE, etc.

DO
block off large sections of comment cards. Large blocks of
comments can begin in whatever column is appropriate, but in general,
should use most of the card, since they will otherwise add a great deal
of length to a program. For the sake of appearance, comments should
be blocked off by blank lines (SPACE n) or lines of continuous
characters. The most common characters used for this purpose are
asterisks (in columns 1-71, or in just the odd columns). An esthetic
appearance can be obtained by placing an asterisk in column 71 of each
comment card in a major block, with lines of asterisks before and after
the entire block of documentation.

DO
flag instructions which will be modified during execution in order
to make programming logic obvious. This may be accomplished by using
'*-*' or '$', the latter EQU'ed to zero, for any modified field. For
example,

$ EQU 0 $ => INST. MODIFIED IN EX

.......... other statements ..........

STC 2,MVC+1 SET BUFFER LEN. FOR LATER


* USE.

.......... other statements ..........

MVC MVC OUTPUT($),0(5) MOVE VARIABLE # BYTES INTO


* OUTPUT BUFFER.

.......... other statements ..........

The above methods have been derived both from the examination of
many professionally-written programs and from the authors' own
experiences. Thus, they are not arbitrary rules but techniques which
have been widely used and proven to be effective aids in programming
assembler language.
LINKAGE-1

STANDARD LINKAGE CONVENTIONS


Charles Pfleeger

Under OS/360, certain conventions have been established regarding


the use of registers. These conventions will have been followed when
you, the problem programmer, receive control from the system; they
should be followed for any routines which you call, or for communi-
cating with the system (e.g. system macro calls, SVC's, returning
control, etc.). Following these conventions will make your code
easier for someone else to follow. Certain debugging aids are also
available for those who adhere to standard conventions. In general,
unless there is a strong reason to deviate, these conventions should
be employed.

REGISTER 14 is called the return register and contains the address


to which this routine is to return upon exit.

REGISTER 15 is called the entry point register, and contains the


address through which this routine was entered. Note that tempor-
ary addressability may be established by
USING entrypointname,15
If this routine calls no other routines, register 15 may be used as
a permanent base register. If this routine calls any other routines,
however, register 15 will be changed, and should not be used as a
permanent base register. In this latter case, the sequence
LR BASEREG,15
USING entrypointname,BASEREG
(where BASEREG is any of registers 2-12) may be used to establish
permanent addressability.
On return, register 15 may be used to return a code to indicate
normal or error return. One frequently-used technique is to set R15
zero on a normal return and set it non-zero if some error condition
occurred prior to return.

REGISTER 0 is used to return the single result from some process


(as in a Fortran function subprogram). Note: although you will
probably not use this convention much, it is heavily used by the
operating system. Register 0 cannot be guaranteed to be intact
after executing some call to the system, as a system macro, or
an SVC.

REGISTER 1 is the pointer to an argument list. It contains the


address of the first of one or more full word entries (on con-
secutive f.w. boundaries). These entries are the addresses of arg-
uments to be used by the calling routine.
If there may be an indefinite number of arguments, (as with a
routine which would accept one, two, or any number of arguments--
c.f. Fortran MAX0), the first bit of the last address is set to
a 1. (This bit will not interfere with ordinary S/360 addresses,
since an address can be fully specified in 3 bytes; byte 1 is ig-
nored on an address constant.)
LINKAGE-2

The following example illustrates how to use the address list


passed through register 1.

LA 1,ARGLIST get argument list address


L 15,=V(CALLRTN) get entry address
BALR 14,15 call routine
. . .
ARGLIST DC A(ARG1)
DC A(ARG2)
. . .
DC X'80',AL3(ARGn) Note the length factor
does not provide auto-
matic alignment.
. . .
CALLRTN CSECT
. . .
L 2,0(1) get addr. of next arg.
LTR 1,1 last arg. in list?
BM RETURN if yes, return
LA 1,4(1) else get addr. of next arg.

When a programmer receives control from the system, information


from the PARM field of his EXEC card is passed via register 1.
Register 1 points to a fullword of storage. Bit 0 of this fullword
is set to 1 (to indicate the last--only--argument of the list).
This fullword contains the address of a halfword. The halfword is a
count of the number of characters in the parm field message, and
these characters follow immediately after the halfword count field.
The contents of the halfword may be picked up to use as a length
count in an execute instruction, and the address of the halfword may
be used as a base to move the information characters of the PARM
field.

REGISTER 13 is called the save area register. It contains the add-


ress of an 18 fullword area (on a f.w. boundary) within the calling
routine. The routine called will use this area to save the contents
of registers, to be able to return the registers intact to the
calling program. This save area has a set format:

Word 1 Used by PL/I and FORTRAN


Word 2 address of the save area used by the calling
program.
Word 3 address of the save area set up by the called
program.
Word 4 address to which to return (reg. 14).
Word 5 address of entry point (reg. 15).
Word 6 contents of register 0.
. . .
Word 18 contents of register 12.

Save areas are chained in a doubly-linked list. At any low-


level routine, by tracing back through a chain of save area links,
one can eventually return to the system at the original point of
call.
LINKAGE-3

When your routine is entered, first you should save registers


and then establish and link your own save area.

STM 14,12,12(13) save regs. 14, 15, and 0-12 in


calling program's save area.
LA 5,MYSAVE get addr. of my save area
ST 5,8(13) link calling pgm. s.a. to mine
ST 13,4(5) link my s.a. to calling pgm's
LR 13,5 transfer pointer to s.a.

On return:

L 13,4(13) retrieve addr. of calling pgm's


save area
LM 14,12,12(13) restore registers as they were
BR 14

MYSAVE DC 18F'0'

A calling program is known as a "higher routine", and the routine


called is the "lower routine". Register 13 is always to point to an
area whose contents may be destroyed.
An exception to the requirement that a routine must always
establish a save area is that the lowest-level routine (the one which
calls no others) need not set up a save area. The reason for this is
the save area is for the use of any called routines, but that the
lowest-level routine will have no called routines.
It is important to know the conventions on save areas, but the
use of XSAVE AND XRETURN (consult appropriate documentation) can
reduce the problems in coding and linking save areas.

THE NAME CONVENTION is a means of having the EBCDIC form of the name
of a routine appear at certain key places on dumps. To use this
convention, the first four bytes of a routine must be a branch, on
15 as a base register, which passes over a series of bytes.
These bytes contain the EBCDIC form of the name of a routine, and
also a length count for this name area. This example shows how to
code a name field.

name CSECT
B m+1+4(,15)
DC X'm'
DC CLm'name'
next instruction.
The value of m must be odd, in order to have the next instruction
properly aligned. An alternate approach uses the convention on
register 15:

name CSECT
USING name,15
B NEXTINST
DC X'm'
DC CLm'name'
NEXTINST next instruction
LINKAGE-4

Notes:

O/S follows these conventions strongly. In particular, the


system often destroys the contents of registers 0, 1, 14, and 15 when
it returns control from a system macro, an SVC, or another system
function. One must SAVE THE CONTENTS of these registers BEFORE exec-
uting one of these functions; hard-to-locate errors will frequently
occur after failure to do so.

It is a good idea to mark a save area upon exit. This is usually


done be moving X'FF' into the first byte of the fourth word of the
save area (the place register 14 was stored). Although this technique
does not seriously affect the contents of the save area for reading
in a dump, this technique quickly shows what save areas are active and
which are not active when reading a dump.

Register 13 must be kept as the save area pointer; however, by


careful programming, it can also double as a base register. Consult
the appropriate section from XSAVE and XRETURN documentation for the
coding sequence using these macros. You may set up your own save area
for this purpose by setting it high in a program, and following it by
a USING on register 13, referencing the name of the save area.

For reserving the 18 fullwords of storage for a save area, use DC


instead of DS. A constant of F'0', or F'-1' will quickly show in a
dump if the save area was ever used.

SAVE and RETURN are two system macros which will eliminate much of the
coding for saving and returning conventions. SAVE generates the code
necessary to save a specified series of registers. The registers are
specified as they would be for a STM instruction. In addition, the
operand T will cause registers 14 and 15 to be stored, regardless of
what other registers may also be saved from the pair specified. The
following example will cause registers 5, 6, ... 10 and 14 and 15 to
be saved.
SAVE (5,10),T
The RETURN macro will generate code to restore registers, insert a ret-
urn code in register 15, flag the save area (X'FF' in wd. 4), and
branch back via register 14. The registers to be restored are coded
as with SAVE. If 15 already has a return code in it and should not
be restored, it is coded as RC=(15); else RC=n may be coded, where n
is some value to insert into register 15. The operand T causes the
flag X'FF' to be inserted in the save area. The following code will
restore registers 5, 6, ... 10 to be reloaded, the save area to be
flagged, and 15 to be loaded with a value 16.
RETURN (5,10),T,RC=16
**NOTE** Both of these macros expect that register 13 will already be
loaded with the address of the appropriate save area.
LINKAGE-5

The use of the PSU macros XSAVE and XRETURN can provide added
flexibility in saving and restoring registers. Both can generate
code to print a trace message showing entry and exit from a module;
XSAVE can be used to establish and load a base register or to print a
snap of the registers saved; XRETURN can create a save area. NOTE
that as with RETURN, XRETURN assumes that register 13 still points to
the relevant save area.

For most uses, the code XSAVE alone can be used to save regis-
ters. For a routine with only one return point, XRETURN SA=* will suf-
fice; if a routine has more than one return point, however, XRETURN
alone should be coded at all return points except one, and at that one
XRETURN SA=* should be coded. The reason for this is that SA=* will
cause a save area to be created; only one should be created per module.
For further details on the parameters involved in these two macros, see
the appropriate PSU documentation.

The following example causes register 12 to be established as a


base register, causes all registers to be saved on entry, cuases no
trace messages to be printed on entry or on exit, and causes R15 to be
loaded with the return code value 8.
MAIN CSECT
XSAVE BR=12,TR=NO (Note--default is for all
registers to be saved)
XRETURN SA=*,TR=NO,RC=8
CMPSC 411 - DSECT Example

PRINT NOGEN
EQUREGS
MAIN CSECT
XSAVE . ESTABLISH STANDARD LINKAGE
CALL NEXT CALL LOWER ROUTINE
XRETURN SA=* ESTABLISH SAVE AREA
LTORG
NEXT CSECT
XSAVE . ESTABLISH STANDARD LINKAGE
CALL LAST CALL LOWEST ROUTINE
XRETURN SA=* ESTABLISH SAVE AREA
LTORG
LAST CSECT
XSAVE . ESTABLISH STANDARD LINKAGE
CALL TRACE CALL TRACE RTN TO PRNT S.A.
XRETURN SA=* GENERATE SAVE AREA
LTORG
*
* THE ABOVE ROUTINES DO NOTHING BUT ESTABLISH LINKS TO TRACE
* THROUGH THE SAVE AREAS
*
*
* ROUTINE TRACE PROVIDES A PRINTED TRACE OF THE NAMES OF THE
* CSECTS OF ACTIVE S.A.'S. IT USES DSECTS SAVEAREA AND NAMECONV
* TO FORMAT THE SAVEAREA AND FIRST FEW BYTES OF THE PROGRAM.
*
TRACE CSECT
XSAVE SA=TRACESA ESTABLISH LINKS
USING SAVEAREA,R13
USING NAMECONV,R15
XPRNT =CL25'0BACK TRACE OF SAVE AREAS--',25
L R13,4(R13) CONNECT TO FIRST ACTIVE S.A.
LOOP LTR R13,R13 CHECK IF END OF CHAIN
BZ DONE IF YES, EXIT
L R15,REG15SAV GET PTR. TO BEGIN. OF CSECT
CLC BRANCH,=X'47F0' CHECK TO SEE IF VALID BRANCH
BNE ERROR IF NOT, ABORT
IC R7,LENGTH PICK UP LENGTH OF NAME
BCTR R7,R0 SET UP FOR EXECUTE
EX R7,MOVE MOVE CHARS. OF NAME TO OUTPUT
XPRNT OUT,40 PRINT NAME OF ROUTINE
MVC OUT+1(39),OUT BLANK OUT OUTPUT AREA
LM R14,R11,REG14SAV RELOAD REGS. (FOR RETURN)
L R13,BACKLINK FOLLOW LAST LINK
B LOOP
DONE XPRNT =CL25'0BACK TRACE COMPLETED',25
LA R13,TRACESA
XRETURN SA=TRACESA
ERROR XPRNT =CL25'0ERROR IN TRACE-BACK',25
ABEND 999 ABORT
MOVE MVC OUT+1(*-*),NAME INSTR. FOR EXECUTE
OUT DC CL40' '
LTORG
DSECT - 2

*
* THE FOLLOWING DSECT FORMATS THE SAVE AREA
*
SAVEAREA DSECT
UNUSED DS F
BACKLINK DS F PTER TO HIGHER S.A.
FORELINK DS F PTER TO LOWER S.A.
REG14SAV DS F SAVE AREA FOR REG 14
REG15SAV DS F START OF S.A. FOR REG 15-12
*
* THE FOLLOWING DSECT FORMATS THE BEGINNING OF A CSECT. IF THE
* NAME CONVENTION IS FOLLOWED, THE FIRST INSTR MUST BE A BR. ON
* R15 AS A BASE REG. FOLLOWED BY A LENGTH AND A NAME.
*
NAMECONV DSECT
BRANCH DS XL2,XL2 SPACE FOR BSC INSTR(4 bytes)
LENGTH DS C
NAME DS C SPACE FOR NAME (MARK BEGINNING
* ADDR. ONLY)
END MAIN
/*

Following is the output from this example--

*** MAIN ENTERED ***


*** NEXT ENTERED ***
*** LAST ENTERED ***
*** TRACE ENTERED ***
BACK TRACE OF SAVE AREAS
TRACE
LAST
NEXT
MAIN
IEWLCTRL
BACK TRACE COMPLETED
*** TRACE EXITED ***
*** LAST EXITED ***
*** NEXT EXITED ***
*** MAIN EXITED ***
DSECT - 3

Following is the actual assembler listing of the TRACE csect.


Notice those instructions which reference labels from the SAVEAREA and
NAMECONV dsects. Look at the object code and see what the base register
and displacement by which they were assembled is.

LOC OBJECT CODE ADDR1 ADDR2 STMT SOURCE STATEMENT


000300 192 TRACE CSECT
193 XSAVE SA=TRACESA
000000 220 USING SAVEAREA,R13
000000 221 USING NAMECONV,R15
222 XPRNT =CL15' BACK TRACE
000386 58DD 0004 00004 232 L R13,4(R13)
00038A 12DD 233 LOOP LTR R13,R13
00038C 4780 C07E 003E0 234 BZ DONE
000390 58F0 D010 00010 235 L R15,REG15SAV
000394 D503 F000 C1C6 00000 00528 236 CLC BRANCH(2),=X'47F0
00039A 4770 C13A 0049C 237 BNE ERROR
00039E 4370 F004 00004 238 IC R7,LENGTH
0003A2 0670 239 BCTR R7,0
0003A4 4470 C170 004D2 240 EX R7,MOVE
241 XPRNT OUT,40
0003CE D226 C177 C176 004D9 004D8 251 MVC OUT+1(39),OUT
0003D4 98EB D00C 0000C 252 LM R14,R11,REG14SAV
0003D8 58D0 D004 00004 253 L R13,BACKLINK
0003DC 47F0 C028 0038A 254 B LOOP
255 DONE XPRNT =CL20'TRACE COMPL
000406 41D0 C0F2 00454 265 LA R13,TRACESA
266 XRETURN SA=TRACESA
285 ERROR XPRNT =CL20'ERROR IN TR
295 ABEND 999,DUMP
0004D2 D200 C177 F005 004D9 00005 303 MOVE MVC OUT+1(*-*),NAME
0004D8 4040404040404040 304 OUT DC CL40' '
000500 305 LTORG

310 *
000000 311 SAVEAREA DSECT
000000 312 UNUSED DS F
000004 313 BACKLINK DS F
000008 314 FORELINK DS F
00000C 315 REG14SAV DS F
000010 316 REG15SAV DS F
317 *

000000 318 NAMECONV DSECT


000000 47F0 F000 00000 319 BRANCH B 0(,15)
000004 320 LENGTH DS C
000005 321 NAME DS C
322 *
000000 323 END MAIN
CS102M1 - 01

COMPUTER SCIENCE 102 - RUN ASSIGNMENT

1. Punch up the following program and run:


// YOUR JOB CARD
// EXEC ASACG
//SYSIN DD *
MAIN CSECT
* THIS PROGRAM ILLUSTRATES XDUMP AND PROGRAM INTERUPTION
BALR 12,0 THESE TWO STMTS ARE FOR
USING *,12 COMMON LINKAGE CONVENTIONS
LA 3,CARD PTR TO CARD IMAGE READ IN
XREAD CARD,80 READ DATA CARD
XPRNT CARD,80 ECHO PRINT
XDECI 4,0(3) CONVERT DECIMAL TO INTERNAL HEX
XDECI 5,0(1) CONVERT NEXT # ON CARD
* THE NEXT STMT PRINTS CONTENTS OF USERS REGISTERS.
* NOTE REG 4,5
XDUMP
B 4000 ABEND-BRANCH OUT OF PROGRAM
CARD DS 80C
END
/*
//DATA.INPUT DD *
100 -1024
/*

2. This next program is a batch run of 5 jobs, each terminating


abnormally. The program is stored on RJE file. Punch up the
follwoing cards EXACTLY to run the program
// YOUR JOB CARD
// EXEC ASACG,PARM=BATCH
//SYSIN DD *
/*INCLUDE RAB01.BATCH
/*

3. To merely get a listing of the prog in 2., use the following cards:
// YOUR JOB CARD
/*INCLUDE RAB01.PRINT
/*INCLUDE RAB01.BATCH
/*
CS102M1 - 02

A GUIDE TO S/360 MNEMONIC OPERATION CODES

I. INTRODUCTION

The beginning programmer facing the variety of operations available


on a modern large computer is often overwhelmed by the large number of
operations and complexity thereof. In some cases, a few hints can be
helpful in learning and remembering the names, purposes, and usage of
the various operations. In particular, certain properties of S/360
menemonics can help the learner a great deal. Some of them are:

A. REGULAR SCHEME FOR NAMING OPCODES

In general, a fairly coherent and regular method has been used in


naming operations. In some cases, it is possible to determine the bit
pattern and operation of a mnemonic just from looking at it. Related
operations usually have related mnemonics.

B. COMMONLY USED MNEMONICS

The designers apparently went to some effort to make the most often
used mnemonics the shortest and easiest to remember. Most of these have
1 or 2 letter mnemonics.

II. NAMING OF MNEMONIC OPCODES

A. VERB (MODIFIER) (DATA TYPE) (MACHINE FORMAT)

The mnemonics generally follow the format given above, with the
VERB always present, while the others may be omitted. The general
meanings of the fields are given below.

1. VERB: specifies a general type of action performed, such as


addition, subtraction, comparison, data movement.

2. MODIFIER: specifies a modification of the general action given


by the verb, such as logical addition (rather than algebraic), moving
multiple registers rather than single ones, and performing different
actions while loading one register into another.

3. DATA TYPE: specifies the type of data being operated on, and is
usually the same letter as that used to define a constant of the given
type, such as H (halfword), P (packed decimal), etc.

4. MACHINE FORMAT: gives the type of machine instruction being


used. This is most typically done by adding R or I to an RX mnemonic to
obtain a similiar RR or SI instruction.

In general, the RX instructions, which are the heaviest used, have


the shortest mnemonics, and most of the other instructions can be built
from them by adding more letters.
CS102M1 - 03

B. EXAMPLES OF COMMONLY USED MNEMONIC ELEMENTS

The following sections explain the common mnemonic elements.

1. VERBS

VERB MEANING, COMMENTS


---- --------------------------------------------------------------

A Add two numbers (which may be binary, decimal, or floating)


B Branch to another instruction (like GOTO)
C Compare two fields (numbers or character strings)
CV ConVert a number from one base to another
D Divide one number by another
L Load a quantity into a register from another or from storage
M Multiply one number by another
MV MoVe information from one area in storage to another.
N aNd information together (logical AND)
O Or information together (logical OR)
S Subtract one number from another
ST STore a register (or part of one) into storage
X eXclusive or information together (logical exclusive OR)

For example, note that a given VERB may begin many instructions,
which immediately shows they are related to each other. For example,
the following are all comparison operations: C, CD, CE, CH, CL, CP,
CR, CDR, CER, CLC, CLR.

2. MODIFIERS

The following lists verbs and their common modifiers.

VERBS MODIFIERS MEANING, EXAMPLES


-------- -------- ----------------------------------------------------

A,C,S L Logical addition, comparison, or subtract is used


rather than algebraic. EX: AL, CL, CLC, SLR.

B AL And Link - form of branch for doing linkage to


subroutine so it can return. EX: BAL, BALR
C Condition - branch or not depending on a previously
set condtion (IF(--) GOTO --). EX: BC, BCR.
CT Count - branch form used to decrement a register and
branch if value not zero (DO LOOP). EX: BCT, BCTR.
X indeX - branch form for incrementing and testing
index quantities. (DO LOOP). EX: BXH, BXLE.

L C Complement - used to set a register to complement


itself or other (Y = -ABS(X)). EX: LNR, LNDR.
P Positive - set register to positive value from self
or other (Y = ABS(X)). EX: LPR, LPER.
T Test - set register to value from self or other,

L,ST M Multiple - several registers are loaded or stored


in one operation. EX: LM, STM
CS102M1 - 04

3. DATA TYPES

As noted previously, a data type character is usually the same as


that used in a DC or DS statement to obtain a given type of data.
If a type character is omitted, it usually implies that the instruction
operates on 32-bit, fullword, binary quantities (such as A, C, S, etc).

DATA TYPE MEANING, COMMENTS


-------- ---------------------------------------------------------

C Character - usually a contiguous string of bytes in memory,


treated as printable characters or a string of bits.
(FORTRAN LOGICAL*1). EX: MVC, CLC, OC, IC, STC.
USUALLY IMPLIES SS INSTRUCTION FORMAT (all except IC, STC).

D Double precision floating point (Doubleword, 64 bit)


(FORTRAN REAL*8). EX: AD, SD, LTDR, LD.
IMPLIES RR OR RX INSTRUCTION FORMAT.

E Exponent - single precision floating point (fullword, 32 bit,


FORTRAN REAL*4). EX: AE, LER, ME.
IMPLIES RR OR RX INSTRUCTION FORMAT.

H Halfword - 16 bit binary number (FORTRAN INTEGER*2)


EX: AH, MH, STH, CH.
IMPLIES RX FORMAT.

P Packed decimal format (2 decimal digits per byte).


EX: AP, SP, CP.
IMPLIES SS INSTRUCTION FORMAT OF TWO-LENGTH TYPE.

4. MACHINE FORMATS

Several characters are used to denote the specific type of


operand format being used (note that the data types can also imply
specific formats. If they imply one of several, the last character
distinguishes among them).

FORMAT MEANING, EXAMPLES


-------- ---------------------------------------.----------------------

I Immediate - IMPLIES SI FORMAT. EX: MVI, CLI, OI.

R Register - IMPLIES RR FORMAT. EX: AR, BCR, DDR.


CS102M1 - 05
III. EXAMPLE OF FAMILY OF RELATED OPCODES

This section lists all the members of the 'Compare' family of


menemonics, showing their relationships adn the elements present in each
name. The letters V M D F stand for Verb, Modifier, Data type, and
machine Format.

OP-CODE V M D F TYPE COMMENTS


---- - - - - -- -----------------------------------------------

C C RX fullword algebraic compare, the basic one.

CL C L RX fullword logical comparison (logical modifier)

CD C D RX compare double precision floating numbers

CE C E RX compare single precision floating numbers

CH C H RX compare a register algebraicly with halfword


from storage (with sign extension)

CP C P SS compare two packed decimal numbers

CR C R RR compare two fullword values algebriacly, gotten


from C by adding R.

CLC C L C SS compare logically character strings

CLI C L I SI compare logical immediate (a byte in memory


with the one inside the instruction)

CDR C D R RR compare double precision (in registers)

CER C E R RR compare single precision (in registers)

The Sytem/370 computers have some additional opocdes:


CLM C L M RS compare logical masked (from register to mem)

CLCL C L C L RR compare logical character strings long (up to


16 million bytes in one compare)

Consider the problem of writing a FORTRAN program which would


simulate the operation of the instructions above (i.e., maintain
variables representing PSW, Memory, GP Registers, etc, and go through
the Fetch-Instruction, Decode, Fetch-Operands, Execute cycle). The
arrangement of the opcodes would make it easy to share code, i.e., it
would not be necessary to code each instruction separately. As an
example, consider the following related instructions:

MNEMONIC HEX CODE BINARY CODE SAMPLE INSTRUCTION/ASSEMBLED


-------- -- -------- -------------------------------------
CR 19 0001 1001 CR 0,1 1901
CH 49 1000 1001 CH 0,2(3,4) 49034002
C 59 1001 1001 C 0,4(5,6) 59056004

Examine the bit patterns above. The first teo bits give the
Machine Format (00-RR, 10-RX), the third and fourth give a Data Type
(01-Fullword,00-Halfword in this case). The fifth-eighth bits give the
Verb (1001 - algebraic Compare). In essence, there is only 1 Compare,
which is branched to after the operands are obtained.
CS102TPA - 01

COMPUTER SCIENCE 102 - TOPICS COVERED, HANDOUTS


WINTER TERM 1972 - MASHEY

The handouts given are described in file CS102HN.

# DATE TOPICS, HANDOUTS, READING ASSIGNMENTS


-- --/--/72 ---------------------------------------------------------

1 01/07 introduction to course. prerequistites (101, 401, equiv)


listed text materials for course:
1) STRUBLE: ASSEMBLER LANGUAGE PROGRAMMING: IBM SYSTEM/360
2) IBM: SYSTEM/360 PRINCIPLES OF OPERATION (POP)
3) IBM: S/360 OS ASSEMBLER LANGUAGE
4) PSU: ASSIST INTRODUCTORY ASSEMBLER USER'S MANUAL
(25 cents, at 426 McAllister)
5) IBM: S/360 REFERENCE CARD (GREEN CARD- BRING TO CLASS)

introduction to information representation in computer.


memory, addressing, similiarity to FORTRAN vector wit1 index
beginning at 0 rather than 1. elements of memory in S/360:
byte, halfword, fullword, doubleword.
positional notation. number systems (binary, octal, decimal,
hexadecimal). conversion between them, uses.
representations of binary numbers: Two's complement, One's
complement, Sign-magnitude. advantages and disadvantages:
(TC - 1 zero, but harder for people; OC - 2 zeroes, but easier
to handle; SM - easiest to handle, but slower circuitry)

READING: STRUBLE CHAPTER 1. Look at ASSIST PART III.

2 01/10 more on information representation; introduction to


machine structure.

meanings of bit patterns: 1,2,4-byte binary numbers; charcters


packed decimal (good for people, but wastes space); floating
point (sign, characterisitc, and fraction).

structure of a very simple machine: memory of 16-bit words;


1 register; 1 program coiunter. a few instructions, each with
opcode and address. explanation of basic instruction cycle:
1) Fetch instruction from where program counter points.
2) Increment program counter.
3) Decode instruction into its parts.
4) Execute instruction.
5) Loop back to 1.

S/360 machine structure: memory (note abbrev. K), GP and


floating point registers, PSW. refer to GREEN CARD.

Begin instruction types:


1) RR (names with -R, examples)
2) RX (give first explanation of base-displacement)
3) RS

READINGS: STRUBLE - CHAPTER 2; POP - pp. 7-15.


HANDOUTS: CS102M1 - page 01 (run some ASSIST programs for dumps)
CS102TPA - 02

3 01/12 finish operands formats and introduce assembly language.

4) SI instructions (examples: MVI, CLI)


5) SS instructions (examples: MVC, CLC)
machine language - easy for machine to execute, hard to write
assembly language converted by assembler to machine code.

format of assembly language: label opcode operand comments


machine instructions - actual operations to be executed
assembler instructions (pseudo ops) - give information to
the assembler (ex: CSECT, DS, DC)
some basic functions of the assembler:
1) location counter
2) convert mnemonic opcodes
a) machine ops - translate to codes, increm location cntr
b) assembler ops - take actions specified, increm loc cnt
3) operands - convert to internal binary, base-displacement
4) print out a listing
5) make program ready for execution and pass control to it

stepped through complete test program (XREAD, XPRNT, XDECI,


XDUMP) and explained listing and contents of dump.

READINGS: STRUBLE: Chapter 3; ASSIST MANUAL: PARTS II and IV;


ASSEMBLER LANGUAGE: pp. 1-18.
HANDOUTS: DOCUMENT (documentation techniques for assembler)

4 01/14 go over some dumps and errors; discuss operand fields.

go through various dumps, showing 0C1, 0C4, and 0C6 errors.


cover STRUBLE cahpter 3, pp.50-56: symbols, self-defining
terms, literals, location counter reference, absolute and
relocatable terms, expressions.

READINGS: STRUBLE: Chapter 4 to page 78.


ASSIGNMENT: STRUBLE: Chapter 1: problems 5,6,7,8,9. Chapter 2:
problems 2,3. Chapter 3: problems 1,2,3,4,6.
INFORMAL ASSN: modify dump program to use XDECO and DUMP storage;
use program with START to check relocatable vs absolutes.
modify one of batch programs to get 0C6 rather than 0C4.

5 01/17 introduction to arithmetic and data movement instructions


introduce idea of instruction families and regularity of
mnemonics. Go thru following instructions: LR, LPR, LCR, LNR,
LTR, L, LH, LA. AR, ALR, A, AL, AH, SR, SLR, S, SL, SH.
mention M and D, also briefly note existence of Condition Code
and show how to test it, without worrying about encoding.
20-minute question answer and review: questions occurred on
differences between literals and self-defining terms, and on
use of symbolic register equates.

READINGS: STRUBLE: Chapter 5.


HANDOUTS: CS102AS1 (pages 01 - 02) first assignment - input,
output of numbers, calculations in binary.
CS102M1 (pages 02 - 05) S/360 mnemonic construction.
CS102TPA - 03

6 01/19 quiz and finish up data movement and binary arithemetic.


Twenty-minute quiz (diagnostic mainly): base conversions (2,
8, 10, 16); negative numbers, base-index-displacement addrs,
relocatable vs absolute.
Instructions: LM, STM, MVC, MVI. M, MR, D, DR, MH and hints
on what to watch for.
Programming techniques: review input/output & conversions
(XREAD, XPRNT, XDECI, XDECO); method for building messages
and obtaining length for XPRNT via MSGL EQU *-MSG .

ASSIGNMENT: indexing and comparison assignment, CS102AS1 - 03,


due 02/02/72.
HANDOUTS: CS102AS1 - 03 (labeled CS 102 AS2 also) - indexing.
READINGS: STRUBLE CHAPTER 5, start on STRUBLE CHAPTER 7.

7 01/21 condition code, branching instructions, loops.


condition code values and encoding. BCR, BC, Extended
Mnemonics (recommended for use over BC #). BALR, BAL and
subroutines, BCT, BCTR usage, including decrementing regs.
example of basic loop to sum array of numbers.
flowcharting and good design versus kludge programming.

READINGS: STRUBLE Chapters 7,8,5.

8 01/24 finish loop control, begin on USING/DROP, linkage


Explain BXH, BXLE instructions, give typical setups:
forward BXLE loop, backwards BXH loop, BXH scan loop.
show need for USING command. give rules for computation of
base displacements: minimum base displacement for those which
are available, higher numberred register if several have same.
begin conventions: exaplin registers 15, 14 usage on entry.

HANDOUTS: LINKAGE OS/360 linkage conventions


READINGS: STRUBLE: Chapter 5, LINKAGE HANDOUT

9 01/26 savearea linkage ans ome review.


Describe 18-fullword save area. go through the standard code
used at beginning and end of a routine, calling methods. Do
not work on argument passing, just normal code.
Misc. instructions: IC, STC, start on Shifts.
Various review for problems.
Note general usage of registers: get students into good habits

READINGS: STRUBLE: Chapter 11.

10 01/28 logical/algebraic arithmetic, shifts


20-minute quiz on previous instructions.
differences between condition code setting, aroverflow in
algebraic arithmetic and logical arithmetic. examples.
shift instructions and how they are used.
READINGS: STRUBLE: Chapter 11, begin on chapter 10.
CS102TPA - 04

11 01/31 bit manipulation and uses. review on branching


bit manipulation instructions: NR, XR, OR, N, X, O, NI, XI,
OI, NC, XC, OC, plus TM. what they do, and how to use them.
EQU trick for SI instructions and how to use it.
review: prototypes on loop control, advantages/disadvantages.

READINGS: STRUBLE: Chapter 10, first 3 sections.

12 02/02 assembler housekeeping, misc areas.


go over all of DC, DS operand formats in detail, showing
what can exist as duplication factor-type-length-constant,
including multiple operands and constants, expressions as
duplication factors and length modifiers. also cover
TITLE, EJECT, SPACE

READINGS: STRUBLE: CHAPTER 6, pp 110-121, problems 7,9,10


ASM LANG: 3, 7-9, 10-18 (except variable symbols/sequence
symbols, 19-21, 29-33. section 5: EQU, DC (all except Bit
Length Modifier, Scale Modifier, Exponent Modifier. all types
except E, D, L, P, Z,Y, S, Q, complex relocatability). DS,
ORG, LTORG, END. SPACE, EJECT, TITLE
POP: pp 24-34 except CVB, CVD. Logical instructions except
TR, TRT, ED, EDMK. Branching except EX.

13 02/04 give out final project, discuss assembler/interpreters


concepts of assemblers: 2 pass assemblers, how to set up
opcode and symbol tables (indexed jump methods), output
desired.
go over structure of SIGMA 4.5 computer and its interpreter,
noting indirect addressing in particular.

HANDOUTS: CS102FP1 (01 -08) general assembler/interpreter descr


CS102FP2 (01 -06) specific material for final project

ASSIGN: Final project, due 13 March (described in CS102FPx)

14 02/07 decimal numbers and conversions


zoned/packed decimal to and from binary. PACK, UNPK, CVB, CVD
equivalent codes using M, D loops for decimal-binary-decimal.
examples of various formats/conversions.

READINGS: STRUBLE: Chapter 5: 106-110, Chapter 218-228, 228-233.

15 02/09 misc review, misc instructions, program mask.


SPM instruction, use of program mask, review BXLE, BXH, etc.

16 02/11 MIDTERM
covered data representations, most standard instructions,
hand assembly, etc.
CS102TPA - 05

17 02/14 on midterm and final project


review of midterm results and problem areas. final project:
overall structure, useful modules and how to set them up:
decimal scan and output conversions, symbol scan, symbol table
manager, opcode lookup, hexadecimal output, etc.
review of BXLE loop control.
HANDOUT: CS102PX1 (01 - 03) programming exercises: hand assembly,
interrupts.

18 02/16 more on assembly process, location counter control.


use of ORG to set up tables, timetable for gettting final
project done, program design process and debugging.

19 02/18 quiz, TR, TRT


30-minute quiz: hand assembly, BXLE loop setup.
TR uses, setup, workings.
TRT uses, setup, examples.

READINGS: STRUBLE CH 15: pp 342-345, 350-352. prob 1,3,4.


ASSIGN: write TRT table for scanning over hex digits.

20 02/21 programming techniques, use of TR, TRT, conversions


use of global table pointer, examples on TR, TRT.
decimal input conversion, using two TRT's, EX, PACK, CVB.
hexadecimal output conversion, using UNPK, TR.

ASSIGN: write code to perform conversions, also to read in


names, place in table, then search table for later names.
READINGS: STRUBLE CH 15: ED, EDMK start.

21 02/23 conversions - hexadecimal input, decimal output, ED


go through hexadecimal input, but not in detail (TRT, TRT,
EX of MVC right-justified, TR, PACK 9 into 5, ignoring extra
byte)
decimal output: CVD, UNPK, OI for plus number, with leading
zeroes.
decimal output: begin on ED, EDMK, doing parts with basic
workings of ED, and standard pattern for integer numbers.
CS102AS1 - 01

COMPUTER SCIENCE 102 - ASSIGNMENT 1


DUE __________

This assignment covers simple input/output, binary arithmetic for


fullword and halfword numbers, and basic data movement and testing codes
for handling such numbers.

AI. BASIC PROGRAM

The basic program should do the following:

A. Read a card (XREAD), and print it out immediately (called an ECHO


CHECK - standard practice). The card contains 5 numbers punched on it,
which are to be scanned and converted (XDECI) to binary form, and placed
in 5 consecutive fullwords in memory. Print the hexadecimal values of
these 5 words (20 bytes), using XDUMP.

B. Perform the following computations in a straightforward way,


storing each result in name given, using RX instructions where you can):
1. F = A + B + C
2. G = -A - B - C (LCR useful)
3. H = A * B * E
4. I = A / B (be careful, watch for negative #'s)
5. J = MOD(A,B) (i.e., remainder from# 4.)
6. K = ((A + E) * (B - C)) / D

C. Print all of the above values (F - K) in hexadecimal (XDUMP), then


also print them in decimal, using XDECO and XPRNT (print their values
an headings all on one line.

D. According to the sign of result H, print one of the 3 messages:


H IS LESS THAN ZERO, H IS GREATER THAN ZERO, H IS ZERO.

II. EXTENDED VERSION OF PREVIOUS PROGRAM

Modify the previous program (which only had to read 1 card), to


read cards and follow the actions above for each card, until there are
no more cards (END-OF-FILE). Keep a count of the number of cards read,
and print out this total number before ending the program.

III. HALFWORD VERSION OF PROGRAM II.

Modify program II to use halfwords wherever possible (i.e., store


A - K as halfwords, use AH instead of A, etc. Watch out for divides,
since no DH instruction exists). How much storage is saved?

IV. REGISTER VERSION OF PROGRAM II.

Change program II by saving all values A - F in registers, then


use RR instructions rather than RX instructions. Do XDECI commands
directly into registers where the values are saved. A useful trick may
be to NAME the registers symbolicly:
RA EQU 3 REGISTER WHERE VALUE A KEPT
XDECI RA,CARD CONVERT VALUE A INTO REG RA
This technique will make it clear which value you are using (note
that any register reference can be symbolic to an EQU symbol).
CS102AS1 - 02

V. WHAT TO HAND IN

By using the BATCH feature in ASSIST, you can run several programs
in one run. Turn in one run, with each of the programs II, III, and IV
shown in execution, with results and output as requested. The run
will use control cards like:

// EXEC ASACG,PARM=BATCH
//SYSIN DD *
$JOB ASSIST PROGRAM VERSION II
..... program II
$ENTRY
..... test data
*** repeat above, starting at $JOB, for programs III and IV.
/*

The following test data should be used for each program:

A B C D E
5 2 -4 -2 2
-2 -1 10 1 -1
4096 1 1 -1 -1

Note that the columns they are punched in should not matter.
CS102AS1 - 03

COMPUTER SCIENCE 102- ASSIGNMENT 2

This assignment uses the concept of indexing into an


array of elements.

I. BASIC PROGRAM

A. Read a card (and echo print) containing a maximum of 20


numbers. Convert the numbers to hex(XDECI) and store them in
successive fullwords in memory. Use a loop to eliminate redundant
coding. Then, for each card, find the maximum value and the
minimum value, printing out these numbers with appropriate
labels.

B. Form of data
1. Each card contains a maximum of 21 numbers, where
the first number =the number of numbers on the card. You will
need the first number for a counter in the loop in part A.
2. There are an unspecified # of data cards. i.e.,
make your program general to accept any # of data cards.

II. DATA FOR YOUR PROGRAM

3 56 76 -76
7 11 123 432 -123 748 -9087 -0
6 33 33 45 10 6 90
4 145 1024 6698 -1024 345
$
PRIME INDEX - J R MASHEY

THIS FILE PROVIDES THE PRIME INDEX TO FILES WHICH ARE INSTRUCTIONAL
FILES OF MATERIAL TO BE INCLUDED ON THE ASSIST DISTRIBUTION TAPE.
THE FORMAT OF THIS FILE ALLOWS IT TO BE USED TO PRODUCE PSU JCL
INCLUDE CARDS TO BE USED TO COPY THESE FILES FROM BAT FILES TO TAPE.

EACH FILENAME IS PRECEDED BY '>', AND FOLLOWED BY A PSU RJE ID,


IF THE FILE IS NOT SAVED UNDER RJE ID JRM02, WHICH IS THE DEFAULT.

THE PROGRAM JRM05.BATCOPY READS THIS FILE AND PRODUCES JOBS


TO COPY THE FILES TO TAPE. ON TAPE, THE FORMAT OF THE FILES IS:

,>FILENAME BEGINNING IN COLUMN 1, ON A SEPARATE CARD


PRECEDING EACH FILE. THE COMBINATION ',>' IS
NOWHERE ELSE USED IN THE TAPE FILE, SO THAT IT IS
EASY TO SEARCH THE FILE FOR A SPECIFIC SECTION
AND PUNCH OR PRINT IT.

NOTES: THE FOLLOWING COMMENTS MAY BEGIN THE DESCRIPTIONS:


(JCL): THE FILE CONTAINS JOB CONTROL LANGUAGE CARDS FOR USE ON A
OS/360/370 SYSTEM, PLUS TYPICAL SAMPLE PROGRAMS.
(TEXT): THE FILE CONTAINS TEXT MATERIAL, WITH EACH PAGE BEGUN BY A
CARD HAVING ',' IN COLUMN 1. THESE ALSO HAVE LOWER CASE LETTERS,
AND SO TYPICALLY REQUIRE A 'TN' PRINT TRAIN OR EQUIVALENT FOR
BEST APPEARANCE.

>AAAINDEX OVERALL INDEX.

>ASBROPS2 (TEXT) ASSIGNMENT USING ASSIST REPLACE MONITOR


TO REPLACE THE BASE REGISTER PART OF ASSIST. SEE
ASREPLGD, AND $ASBROPS2
>$BRTEST TEST DATA FOR USE WITH ASSIGNMENT ASBROPS2

>ASPRGTC1 (TEXT) ASSEMBLER PROGRAMMING TECHNIQUES: LINKAGE,


MACROS, MODULAR PROGRAMMING.

>ATTACH (JCL) - OS/360 SAMPLE PROGRAM- ATTACH, DETACH, ETC

>BDAM1 (JCL) - OS/360 BDAM EXAMPLE, PART 1 OF 2


>BDAM2 (JCL) - OS/360 BDAM EXAMPLE, PART 2 OF 2

>BPAM (JCL) - OS/360 BPAM EXAMPLE

>BSAM (JCL) -OS/360 BSAM EXAMPLE

>CS102AS1 (TEXT) - 1ST ASSEMBLER COURSE ASSIGNMENT


>CS102FP1 (TEXT) - FINAL PROJECT IN FIRST COURSE - PART1.
>CS102FP2 (TEXT) - 2ND PART OF FINAL PROJECT (WHICH ISAN
(ASSEMBLER INTERPRETER FOR SMALL MACHINE)
>CS102M1 (TEXT) - MISC. WRITEUPS FOR 1ST ASM COURSE
>CS102TPA (TEXT) - DAY-BY-DAY OUTLINE OF 1ST ASSEMBLER COURSE
AAAINDEX - 02

>CS411AS1 (TEXT) - 2ND ASSEMBLER COURSE, 1ST ASSIGNMENT:


LINKAGE BETWEEN FORTRAN/ASSEMBLER, PARM FIELD
ACCESS. OS/360.
>CS411GI1 (TEXT) - GENERAL INFORMATION, COURSE OUTLINE,
INDEX, ETC FOR 2ND ASSEMBLER/SYSTEMS COURSE, 1 OF 2
>CS411GI2 (TEXT) - GENERAL INFORMATION ETC, PART 2 OF 2.

>CS411FP1 (TEXT) - A FINAL PROJECT ASSIGNMENT WRITEUP FOR A


SIMULATOR FOR MULTIPROGRAMMING OPERATING SYSTEMS,
FOR USE IN 2ND ASSEMBLER/SYSTEMS COURSE. PART 1 OF 4
>CS411FP2 (TEXT) - FINAL PROJECT, PART 2 OF 4
>CS411FP3 (TEXT) - FINAL PROJECT, PART 3 OF 4
>CS411FP4 (TEXT) - FINAL PROJECT, PART 4 OF 4

>CS411MC1 (TEXT) - MACRO-INSTRUCTION ASSIGNMENTS: WRITE OWN


VERSIONS OF CALL, SAVE, RETURN; 2ND: WRITE MACRO/
MODULE COMBINATIONS FOR HEXADECIMAL CONVERSIONS.
>CS411MC2 (TEXT) - MACRO-INSTRUCTION ASSIGNMENT: WRITE MACRO
PACKAGE FOR MANIPULATION OF LINKED LISTS. ALSO
TO BE USED IN CS411FP1-4.

>CS411TPA (TEXT) - COURSE OUTLINE AND DAY-BY-DAY NOTES FOR


2ND COURSE IN ASSEMBLER/SYSTEMS.

>DOCUMENT (TEXT) - HINTS AND GOOD PRACTICES ON DOCUMENTATION


OF ASSEMBLER PROGRAMS.

>DSECT (TEXT) - SAMPLE USE OF DSECTS AND EXPLANATIONS.

>DUMPSJCL (TEXT) - OS/360 - BRIEF NOTES ON JCL TO BE USED


FOR ASSEMBLER RUNS; SAMPL DUMPS FOR VARIOUS ERRORS.

>EXCP (JCL) - SAMPLE RUN SHOWING EXCP COMMANDS.

>FLOTLINK (JCL) - ILLUSTRATES LINKING FORTRAN & ASSEMBLER,


FLOATING POINT OPERATIONS IN ASSEMBLER

>GETMAIN (JCL) - ILLUSTRATES GETMAIN/FREEMAIN MACROS.

>HARDWAR1 (TEXT) - DESCRIBES TYPICAL DEVICES USED ON LARGE


S/360 SYSTEM, WITH DATA RATES, CAPACITIES, ETC.

>INDEX102 (TEXT) - INDEX TO MATERIALS FOR 1ST ASM. COURSE

>INDEX411 (TEXT) - INDEX TO MATERIALS FOR SYSTEMS COURSE

>LINKAGE (TEXT) - TUTORIAL ON OS/360 LINKAGE CONVENTIONS

>LINKLOAD (JCL) - OS/360 - ILLUSTRATES USE OF LOAD MODULE


MANAGEMENT COMMANDS LINK, LOAD, XCTL, ETC.
AAAINDEX - 03

>OSHASP (TEXT) - EXPLAINS JOB SCHEDULING AND FUNCTIONING


OF OS/360 WITH HASP.

>OVLY1 (JCL) - ILLUSTRATES USE OF LINK-EDITOR OVERLAY


FACILITIES, SHOWING DIFFERENT TREE STRUCTURES.

>PTPCHMAC (JCL) - ILLUSTRATES USE OF UTILITY IEBPTPCH TO


PRINT MACROS FROM LIBRARY.

>QSAM (JCL) - SHOWS USE OF OS/360 QSAM MACROS.

>RECURASM (JCL) - SHOWS USE OF GETMAIN/FREEMAIN IN MAKING


RECURSIVE ASSEMBLER PROGRAMS.

>SPIESTAE (JCL) - SHOWS USE OF SPIE/STAE MACROS

>TIME (JCL) - ILLUSTRATES USE OF TIME, STIMER, TTIMER


MACROS FOR TIMING.

>WTOWTL (JCL) - ILLUSTRATES WTO, WTL MACROS.


ASBROPS2-01

ASSIST BASE REGISTER ASSIGNMENT

DUE __________

This assignment is essentially to write the base register handling


routine for ASSIST, and run and test it using the ASSIST Replace
Monitor. The programmer should first consult the following writeup
for general information, ASSIST conventions, and use of the Replace
Monitor:

ASSIST REPLACEMENT USER'S GUIDE (ASREPLGD)

I. S/360 BASE REGISTER ASSIGNMENT

This section briefly describes the conversion of program addresses


to base-displacement form, as done by S/360 assemblers, particularly
ASSIST. The following manual should also be consulted:

IBM S/360 OS Assembler Language GC28-6514, pp. 19-21.

A. Each control section and each dummy section in an assembly is


assigned a unique number or section identification (ID), and every
label in a given section has that same section ID associated with it.

B. When a register is specified in a USING statement, it is assumed


to contain the specified location counter value, and is also flagged
with the section ID of the first expression in the USING.

C. When a value used in an instruction must be converted to base-


displacement form, the only possible registers which are usable are the
ones(if any) which have the same section ID as the value to be
converted.

D. If two or more registers are usable as base registers, and have


the same section ID, the register used is that one having a value which
results in the smallest displacement (0-4095).

E. If two or more registers have the same ID and value, the higher
numbered register is used.

F. (ASSIST only) - in ASSIST, all values for USING statements are


relocatable, and register 0 is handled exactly the same as any other,
which is slightly different from the standard handling. Also, the
ASSIST section ID's range from 1 to 255 only.
ASBROPS2-02

II. ASSIST INTERFACE REQUIREMENTS FOR BROPS2

General register conventions are given in ASREPLGD. This section


describes the module to be written, with the specific requirements for
each of the entry points of the BROPS2 module. The register notation
used is that from ASREPLGD.

CSECT NAME: BROPS2

ENTRY POINTS: BRINIT, BRUSIN, BRDROP, BRDISP

ENTRY AND EXIT CONVENTIONS

A. BRINIT - is called one time at beginning of asembly, to perform


any initialization required by BROPS2. Must be serially reusable, and
so cannot just DC any tables to required values.

B. BRUSIN - is called whenever a USING is processed.

ENTRY CONDITIONS

RA = number of register which can be used. (0-15)


RB = address declared for base register. (0-2**24-1)
RC = section ID of the address. (1-255)

C. BRDROP - is called when a DROP is found.

ENTRY CONDITIONS

RA = number of register to be dropped. (0-15)

EXIT CONDITIONS

RB = 0 if register was an active base register.


= nonzero value, if register was not usable at the time.

D. BRDISP - is called to convert an address-ID to base-dsiplacement.

ENTRY CONDITIONS

RA = address to be converted to base-displacement form. (0-2**24-1)


RB = section ID of the address to be converted. (1-255)

EXIT CONDITIONS

RA = base-displacement form of address, if there was one, in low-order


halfword of register (bits 16-31). Bits 0-15 should be zeroes.
RB = 0 if the address was properly converted.
= nonzero value if an addressibility error occurred, i.e., if there
was no register with the proper section ID, and a value from 0 to
4095 less than the value to be converted.

***NOTE*** the above rules must be followed exactly. If they are


not, error messages will be given by the ASSIST Replace Monitor.
ASBROPS2-03

III. IMPLEMENTATION METHODS

This section outlines several different methods of implementing


the BROPS2 module. The following are ways in which the assignment may
be handled, with the instructor specifying in class which one is to be
followed:

Write the module in 1 specific way.


Write the module in several ways, and compare their performance.
Write the module any way at all.
Write the module any way, but optimizing for one of several goals.

A. REGISTER TABLE ORDERED BY REGISTER NUMBER

A fairly simple way to handle the problem is to just keep a table


ordered by register number, which can easily be indexed into to change
the values, and can be searched by a fairly simple loop.

B. REGISTER TABLE - LINKED LIST FORM BY ACTIVE REGISTERS

A linked list can be kept of the active registers and their values
and section ID's. This can make for faster searches, but can require
more space, and more complex code.

C. REGISTER TABLE WITH LINKED LIST ORDERED BY SECTION ID's

A set of linked lists can be kept, with one for each of the
section ID's currently active. Each list links together the register
or registers which are active base registers and are flagged with the
given section ID. This is potentially the fastest method, but also
requires the most complex programming.

D. REGISTER TABLE WITH SEPARATE ID TABLE AND TRT USAGE

In this method, a separate search is made of a 16-byte table which


contains the active section ID's, possibly using the TRT instruction,
then computing the register number from the position in the index table,
and going to antoher table to computer the value. This method can be
fast, but may require more space, unless 256 bytes of TRT table are
available elsewhere.

POSSIBLE OPTIMIZATION GOALS

SPEED - optimize for the fastest program possible. Note that this
involves determining the relative frequency of USING, DROP, and base-
displacement computations, which can differ depending on the type of
programmer producing the test program (i.e., experienced programmers
usually have many more USING's and DROP's because they use DSECTs more
than do beginners).

SPACE - optimize to produce the smallest complete program.

PROGRAMMING SIMPLICITY - optimize to produce a running program


which is simple and understandable, and can be programmed quickly, i.e.
simulating the conditions which require a program to be finished in a
short period of time.
TITLE 'ASSIST BASE REGISTER/USING/DROP TEST PROGRAM'
* THIS PROGRAM PROVIDES VARIOUES ERROR TESTS FOR BROPS2.
* ALL STATEMENTS LEGAL,EXCEPT THOSE WITH ERROR COMMENTS.
TEST CSECT
BALR 12,0
USING *,12
T1 L 0,AA5 AS100
L 5,AA4
USING AA5,9
ST 3,AA5
USING AA5,10
A 2,AA5
USING AA4,10
SL 3,AA5
ST 3,AA4
DROP 10
USING DSECT1,7
STH 4,DS1
LH 5,DS6
DROP 8,10 TWO AS003 MESSAGES
CVB 6,DS8
USING DSECT1,9
CVD 6,DS8
USING DSECT2,10
M 8,DS4
LA 5,CARD
D 8,DS5
DROP 10
B T1
IC 10,DS2A AS100 ADDRESSIBILITY
LA 11,OUTR AS100 ADDRESSIBILITY
USING *,13
ST 5,AA4
AA4 DS F
DS 1500F
OUTR DS C
AA5 DS F
EJECT
DSECT1 DSECT
DS1 DS H
DS2 DS HL8
DS4 DS A
DS5 DS F
DS6 DS CL6
DS8 DS D
DSECT2 DSECT
CARD DS CL80
DS2A DS P
BASE CSECT
USING *,13,14,15
DROP 8,12 AS003 REGISTER NOT USED ON 8
AH 6,DS1
AH 4,AA6
L 5,AA5 AS100 ADDRESSIBILITY ERROR
DROP 7,9,10 AS003 ON 10
DROP 13,14,15
AA6 DS H
TITLE 'OVERALL TEST - STUDENT-WRITTEN PROGRAM'
* THIS SECTION CAN BE USED TO TEST BROPS2 - IT PROVIDDES
* STUDENT-WRITTEN SAMPLE PROGRAM.
MAIN CSECT
ENTRY IN,OUT,SUPERVR
STM 14,12,12(13)
BALR 12,0
USING *,12
ST 13,MAINSAV
START LA 9,0
LA 6,0
LA 11,0
L 15,=V(COROUT2)
BR 15
OUT ST 14,BIN1
L 15,BOUT1
BR 15
IN ST 14,BOUT1
L 15,BIN1
INX BR 15
SUPERVR L 13,MAINSAV
LM 14,12,12(13)
BR 14
LTORG
DS 0F
MAINSAV DS F
BOUT1 DS F
BIN1 DC V(COROUT1)
COROUT2 CSECT
ENTRY STORE,STORE1
PRINT NOGEN
BALR 13,0
USING *,13
B OUT1
DS 0F
BLANK DC 4C' '
OUTPUT DS 64C
OUT1 LA 4,0
LA 1,OUTPUT
LA 5,BLANK
MVC 0(64,1),3(5)
LA 3,3
LTR 9,9
BH STORE
H1 L 15,=V(IN)
BALR 14,15
STORE ST 10,OUTPUT(4)
LA 4,1(4)
CLI 10,C'.'
BE H9
L 15,=V(IN)
BALR 14,15
STORE1 BCT 3,STORE
LA 3,3
LA 4,1(4)
C 4,=F'63'
BNE STORE
H9 LA 3,3
XPRNT BLANK(3),65
CLI OUTPUT+62,C'.'
BE SUPER
LA 9,1
B OUT1
SUPER L 15,=V(SUPERVR)
BR 15
LTORG
COROUT1 CSECT
BALR 8,0
USING *,8
B IN1
H2 L 15,=V(OUT)
BALR 14,15
IN1 L 15,=V(NEXTCHAR)
BALR 14,15
CLI 10,C'0'
BL H2
ST 10,NUMBER
LA 5,NUMBER
PACK DOUBLE(8),0(4,5)
CVB 5,DOUBLE
L 15,=V(BEGIN)
BALR 14,15
REPEAT L 15,=V(OUT)
BALR 14,15
S 5,=F'1'
BNM REPEAT
B IN1
LTORG
DS 0F
NUMBER DS F
DOUBLE DS D
NEXTCHAR CSECT
ENTRY BEGIN
PRINT NOGEN
BALR 7,0
USING *,7
B BEGIN
DS 0F
BLNK DC 4C' '
INPUT DS 16F
ASTERICK DS F
BEGIN ST 14,ASTERICK
CHECK LTR 11,11
BNE F3
LTR 6,6
BE READ
F1 C 6,=F'16'
BNE F2
LA 6,0
READ XREAD INPUT,64
LA 2,3
XPRNT BLNK(2),65
F2 L 11,INPUT(6)
F3 IC 10,C' '
SLDA 10,8
LA 6,1(6)
CLI 10,C' '
BNE ASTERICK
B CHECK
LTORG
END
ASPRGTC1 - 01

S/360 Assembler Language Programming Techniques


John R. Mashey - Winter l972

Topic: Program Modularity and Parametrization Methods:


Using Macros, Internal Subroutine, External Subroutines
This topic: pages 01-08

It is generally important in any computer program to avoid coding


any procedure more times than necessary. It is generally best to write
something one time, then have it available for later use in many parts
of a program. In assembler language, there are three main ways of doing
this: macros, internal subroutines, and external subroutines. This
writeup describes each of these techniques, gives the advantages and
disadvantages of each, and notes under what condition each is best.

I. DESCRIPTION, DEFINITION, AND CALLING

A. MACRO INSTRUCTIONS

A macro instruction is defined, and either placed at the beginning


of an assembly language program (a USER macro), or entered into a macro
library (a SYSTEM macro). When called, it generates 0 or more assembly
language statements at the point of invocation, and the code generated
may vary greatly from call to call.

1. DEFINITION

A macro definition begins with MACRO, followed by the PROTOTYPE


STATEMENT, which gives the name of the macro. The body of the macro
includes 0 or more MODEL STATEMENTS, which are assembler commands and
machine instructions to be generated, and macro-operations, which serve
to direct the expansion processing of the macro. The macro definition
is terminated by the MEND statement. The following steps are typical
in defining a macro:

a. DETERMINE BASIC PURPOSE AND GENERATED CODE: It is generally


a good idea to write at least some of the statements to be generated
together as a code segment first, to get some feel for what is needed.

b. DECIDE ON NECESSARY ARGUMENTS AND THEIR USAGE: it may be a goo


idea to write the purpose of each argument in the operand list, punch it
and include it in a block of comments at the beginning of the macro.
This helps the macro to be done to do what it is supposed to do.

Use POSITIONAL operands for heavily-used arguments, i.e., if an


argument MUST be supplied every time, make it positional. In a group
of positionals, place the most heavily used ones near the front, since
it is much more convenient to omit the later ones than the earlier.
Use KEYWORD arguments for values which may not be needed always, or for
ones which are conveniently supplied with default values which are most
often used. Use SUBLISTS or &SYSLIST for variable numbers of arguments.

c. WRITE ACTUAL BODY OF MACRO, BUILDING MACRO-TYPE COMMANDS


AROUND THE MODEL STATEMENTS TO BE GENERATED.
ASPRGTC1 - 02

2. INVOCATION

A macro can be called merely by writing its name and supplying it


with any needed arguments. Note that a label on a macro call is never
generated (and is thus UNDEFINED) unless the macro definition is made
to generate it on some model statement.

B. INTERNAL SUBROUTINES

Internal subroutines are sections of code written as parts of a


given control section (CSECT), and are only used inside that CSECT. Like
external subroutines, internal subroutines can of course call others.
They are typically used for small to medium sections of code which are
needed at several places in a CSECT, but are not needed by any other,
or are not big enough to warrant the overhead in making them external
subroutines.

1. DEFINITION

It is often typical to place a group of internal subroutines near


the end of the code section of a program (just before the data areas).
It is a good idea to set up conventions for the use of internal
subroutines, before writing any. The following are often needed:
return register (either one standard one, or several different ones),
argument registers, and work registers which can be used without saving.
In general, internal subroutines should not need to do much saving and
restoring of registers. They should be able to return via BR REG.

2. INVOCATION

Calling an internal subroutine is usually done by first filling any


argument registers with needed values, then coding: BAL REG, INSUB.
This type of linkage can be fast and small.

C. EXTERNAL SUBROUTINES

External subroutines are used for major program segments, and


can usually be assembled separately from the rest of the program. In
fact they can be written in a different language (i.e., FORTRAN and
ASSEMBLER combinations).

1. DEFINITION

An external subroutine may be written in either of two ways in


assembly language: as a CSECT, or as an ENTRY within a CSECT. In the
first case, the subroutine is entered at the CSECT statements and return
at one or more places depending on the desired code. In the second case
each entrypoint may be given control, and may share code or be
totally separate from the other entries. This form is often used for
a group of related routines (like SIN and COS, which are both entries in
a CSECT), or for a routine requiring initialization or termination
functions different from the normal calling function.
ASPRGTC1 - 03

A multiple-entry CSECT is typically set up as follows:

CSECTNAM CSECT
ENTRY ENTRY1,ENTRY2,...ENTRYN
..... code for entry at CSECTNAM: multiple-entry routines often
..... are entered only at the entry points, not at the CSECT.

ENTRY1 LINKAGE CODE (SAVE, XSAVE, etc)


..... executable code when called at ENTRY1.....
RETURN LINKAGE CODE (RETURN, XRETURN, etc).

..... remaining entrypoint names and code

..... internal subroutines needed by more than one entry point.

..... data areas used by various of the entry point routines.

The following are important points to remember when using multiple


entry CSECTS:

THE DIFFERENT ENTRY POINTS NEVER CALL EACH OTHER. In essence, all
of the routines represented by the various entry points are at the same
level in calling structure of an entire program.

ONLY ONE SAVE AREA IS ACTUALLY NEEDED. Since the routines inside
the CSECT never call each other, the user can code the save area at the
end of the LAST section of code, so that all of the previous sections
can refer to it (note that if placed on the first, it would be difficult
for the later ones to access it using a LA instruction: address
constants must be used instead). With XSAVE/XRETURN, this means that
the SA=* operand is coded only on the LAST XRETURN.

CARE MUST BE TAKEN WITH ADDRESSIBILITY. All of the code sections


can of course address the data areas at the end of the CSECT. However,
the programmer must be very careful with any internal subroutines he
writes, because the BASE REGISTERS USED TO ASSEMBLE INTERNAL SUBROUTINES
MUST HAVE THE CORRECT VALUES IN THEM AT EXECUTION TIME. IF THEY DON'T,
AS WHEN THEY ARE CALLED FROM DIFFERENT SECTIONS HAVING DIFFERENT USING
SETUPS, THEY WILL ASSEMBLE PROPERLY AND THEN BLOW UP AT EXECUTION TIME.
IN PARTICULAR, THE PROGRAMMER SHOULD PLACE INSTRUCTIONS TO BE EXECUTED
(EX operation) WITH THE SECTION OF CODE USING THEM, AND NOT AT WITH THE
DATA AREAS, IF THEY PERFORM ANY SYMBOLIC ADDRESSING.

The problems described above are typically handled either by making


all entry point code segments set up the same USING conditions, or by
setting a specific register to point to the beginning of the internal
subroutines, EXecuted instructions and data. If register 13 points to
a save area just above these code sections, it can be used this way,
since it will always have that same value. Getting the same USING
conditions across an entire multi-entry CSECT can be done:

ENTRYX XSAVE
L BASEREG,=A(CSECTNAM)
USING CSECTNAM,BASEREG

Note that the above can be accomplished with the XSAVE AD= operand.
ASPRGTC1 - 04

D. COMBINED FORMS

In some cases, it is convenient to combine the ease of use of the


macro with the small size of internal or external subroutines. In this
case, the macro expansion sets up any needed arguments, saves registers,
etc, then generates code to invoke the subroutine. The subroutine then
provides the major portion of the processing code, any needed large data
areas, etc.

Examples of the combined form are the following macros: XDECI,


XDECO, XPRNT, XSNAP, which call XXXXDECI, XXXXDECO, XXXXPRNT, and
XXXXSNAP, respectively.

Two different extremes exist in writing combined forms:

1. COMBINED FORM - STANDARD LINKAGE

In some case, the calling sequence to invoke an external subroutine


essentially includes the CALL macro or equivalent code, i.e., it uses
standard conventions. It typically assumes that registers 0, 1, 14, 15
may be modified without causing trouble. This method is efficient and
general, but can cause trouble if used improperly.

2. COMBINED FORM - SPECIAL NONDESTRUCTIVE LINKAGE

In some cases, it may be useful to define a macro instruction which


invokes a subroutine, but can be used ANYWHERE without disturbing any
registers, changing the condition code, or requiring that certain of the
registers not be the ones being used as base registers (in particular,
register 15). This is the kind of linkage used from XDECO to XXXXDECO
XPRNT to XXXXPRNT, etc. The following shows the general form of such a
linkage setup, giving first the kind of code to be generated by the
macro part, then the entry and exit code for the associated routine:
(NOTE: label is typically an &SYSNDX-generated unique label)

STM 14,0,label save registers to be changed


.... evaluate arguments of macro: any required Load Addresses
.... must be done using LA 0, argument since doing LA into
.... any other register could destroy a base register. If
.... more than one argument is needed, the remaining ones can
.... be stored into control block after label. Examples:
LA 0,argument
ST 0,label+12 2nd argument (one arg left in RO)
.... after all arguments are evaluated and saved, and ONLY
.... THEN, it is now possible to modify registers:
L 15,label-4 V-type adcon for routine
CNOP 2,4 make sure next inst not on F boundry
BALR 14,15 call routine, also point 14 at the
argument list following
DC V(subroutine entry point) adcon to get there
label DS 3F 3 words for saving 14, 15, 0
DS F space for arguments after first
.... DS OR DC space here for any remaining arguments
.... the subroutine will return control to next instruction:
LM 14,0,4(14) reload registers. Note that this is
only safe way, since 15 might have
current base register.
ASPRGTC1 - 05

The following shows the typical code used to enter and exit the
supporting module used with the previous macro expansion. Note that the
entry point of the routine might be either a CSECT name, or an ENTRY
name, i.e., one CSECT might contain several entrypoints, one for each
supporting subroutine needed.

entrypoint label definition (CSECT, or label DS OH)


USING entrypoint,15 initial base register
.... save all registers which may be modified by code. Save
.... into THIS CSECT (unlike normal OS/360 conventions).
.... DO NOT SAVE INTO CALLER'S SAVE AREA, since it may not
.... exist, especially if caller is a lowest-level routine.

.... initialization code: if this routine performs I/O, or


.... calls any others, or requests any supervisor services, it
.... is a good idea to set up another base register than 15,
.... set up a save area, and put its address into register 13,
.... since any of the above actions may result in registers
.... being saved at wherever 13 points.

.... processing code to perform required actions

.... result return code: result may be left in register 0,


.... in which case it should not be restored (neither here nor
.... in generated code before: i.e., change LM 14,0,4(14) to
.... LM 14,15,4(14) and STM likewise).

.... register restoration: restore all registers modified in


.... this routine. Especially restore 14.

SPM 14 restore original condition code (note


that calling BALR 14,15 saved it)

B number(14) branch to displacement number beyond


address in 14, enough to pass control
to statement: LM 14,0,4(14)

It may be useful for the programmer to create a DSECT which


describes the control block generated by the macro expansion. This
would permit the module to refer to arguments and return points using
symbols rather than absolute displacements. A typical DSECT might be:

dsectnam DSECT
DS V(routine) space for adcon
DS 3F space for regs 14, 15, 0
argument DS F argument value placed here, if any
.... further arugment DS statements follow.
return LM 14,0,4(14) return label (YES, THIS IS LEGAL: it does
NOT generate code, but it makes the point
clear as to description of block).

If such a DSECT were used, the routine code would include:


USING dsectnam,14 to set up DSECT addressibility
B return return (instead of B number(14)
ASPRGTC1 - 06

II. ADVANTAGES AND DISADVANTAGES

The following lists the good and bad points of each type:

A. MACRO INSTRUCTIONS

1. ADVANTAGES

Code can be tailored to each individual request, i.e., the code


generated by each macro call can vary from a great deal to nothing,
such as debug code eliminated by testing a global set variable.

SPEED: macro-generated code can be the fastest in execution, since


it can perform its actions without having to set up linkage to another
section of code.

VARIABILITY: generated code can vary depending on the nature of


arguments passed to a macro (such as testing the TYPE of arguments to
generate different instructions).

2. DISADVANTAGES

SLOW ASSEMBLY: macro processing can be very slow.

LARGE CODE: if used improperly, macros can generate large amounts


of code very easily. If there are many copies of large blocks of code,
much space can be wasted.

OBJECT DECKS: a macro cannot be assembled and an object deck of it


gotten like a subroutine can, i.e., if a call is made to a macro, the
macro definition must be included in the program or in a library, while
a CSECT may be saved as an object deck (which is usually much smaller
than the source deck).

B. INTERNAL SUBROUTINES

1. ADVANTAGES

SPEED: although not as fast as in-line code from a macro, the code
for an internal subroutine is usually faster than the linkage to an
external one. In particular, values can be passed in registers, and
usually registers will not have to be saved.

SPACE: internal subroutines require less space than generating the


same code several times via macro expansions.

2. DISADVANTAGES

SPACE: if the same function is performed by internal subroutines


in several CSECTS, code is thus duplicated and space wasted.

COMPLEXITY: in some cases, in order to make efficient use of a


number of internal subroutines, it is necessary to set up fairly
extensive rules on usage of registers in a CSECT, so that the linkage
among them may be fast and small.
ASPRGTC1 - 07

C. EXTERNAL SUBROUTINES

1. ADVANTAGES

SPACE: if written as an external subroutine, code can be usefully


called from almost anywhere in a program. Thus, there is only one copy
of it, and it generally will occupy the least space.

SEPARATE COMPILE/ASSEMBLY: a routine written as a CSECT can be


assembled separately from the rest of the program an object deck can
be obtained, and translation time generally saved. The routine may of
course be written in a different language than the rest of the program.

2. DISADVANTAGES

LINKAGE TIME: if standard OS/360 linkage is followed, a fair amount


of execution time and object code space can be consumed by this linkage.
More efficient nonstandard linkage can be used instead, but this brings
with it the disadvantage of nonuniformity and lack of generality.

D. COMBINED FORMS

1. ADVANTAGES

In general, the combined forms can possess all the advantages of


the separate forms especially since the macro portions can generate
different code depending on circumstances; thus the code for the same
macro might expand in-line in one case and generate an out-of-line call
to a routine in another.

2. DISADVANTAGES

COMPLEXITY: it of course requires somewhat more planning and code


to set up a good combined form system, since both a macro and module
must be created and meshed together properly.
ASPRGTC1 - 08

III. CIRCUMSTANCES FAVORING USE OF THE VARIOUS FORMS

A. MACRO INSTRUCTIONS

In general, a pure macro instruction is used as follows:

VARYING CODE: the required code varies radically from call to


call. For example: XSAVE and XRETURN.

SHORT CODE: if a macro can generate less in-line code to perform


the required function than is needed to generate a call to the routine,
then it should be written as a macro. In some cases, it takes as much
work to set up the arguments as it does just to perform the operations.
For example: the code to obtain the minimum or maximum of several
arguments is probably most efficiently written as a in-line macro.

LINKAGE CODE: code for linking to routines is almost necessarily


written as macros, since it makes little sense to call a routine in
order to perform linkage, unless the linkage code required is very
complex (in which case the program is probably going to be SLOW).

B. INTERNAL SUBROUTINES

Internal subroutines are usually used (as opposed to macros which


generate code in-line) under the following circumstances:

CODE WITH LITTLE VARIANCE: if the code is not going to be much


different from macro call to macro call, it may be better to let the
macro call generate a BAL to one copy of the code as an internal subr.

Internal subroutines are usually used (as opposed to EXTERNAL


subroutines) under these circumstances:

SHORT CODE, HEAVILY USED: if code must be used many times by


a CSECT, then the faster linkage of internal subroutines usually makes
it worth writing it that way.

CODE NEEDED ONLY BY ONE CSECT: if not too long, it is fairly


logical to incorporate it as part of that CSECT. It will probably be
much more efficient since it will have access to the internal variables
of the CSECT, and be able to communicate via register values easily,
rather than requiring long operand lists.

C. EXTERNAL SUBROUTINES

LONG CODE: if something is long and complex enough, it may be a


good idea to make a separate module of it, test it, get an object deck,
then leave it along thereafter.

CODE OF GENERAL USE, NEEDED MANY PLACES: in this case, it is


practically necessary to make code an external subroutine, so that it
can be accessed where needed.

D. COMBINED FORMS

These are useful anywhere the others are. The nondestructive form
is specially useful if it is to be used by beginning programmers.
//*
//* THIS JOB WILL RUN WITH TIME= 75 SECONDS
//* RECORDS = 1000
//*
// EXEC ASGCL
//SOURCE.INPUT DD *
*
* . . . . . . .
* THE PUTPOSE OF THIS JOB IS TO DEMONSTRATE THE MACRO'S LISTEC B
* THE PUTPOSE OF THIS JOB IS TO DEMONSTRATE THE MACRO'S LISTECD
* BELOW:
* ATTACH
* DETACH
* WAIT
* POST
* EXTRACT
* . . . . . . .
*
*
* . . . . . . .
* THE OVERALL FLOW OF THIS PROGRAM IS
* 1 THE CSECTS SECOND AND THIRD ARE COMPILED AND LINKED
* 2 MAIN IS COMPILED AND LINKED EDITED AND EXECUTES.
* 3 DURING THE EXECUTION OF MAIN IT ATTACHES SECOND
* TWICE USING THE ATTACH MACRO.
* BEFORE SECOND IS ATTACHED THE DISPATCH PRIORITY OF MAIN IS
* OBTAINED USING THE EXTRACT MACRO. AFTER IT HAS BEEN OBTAINED
* IT IS DIVIED BY 2 AND WHEN SECOND IS ATTACHED THE PRIORITY OF
* MAIN IS HALVED USING THE DPMOD PARM. WHILE BOTH MAIN AND
* SECOND ARE COMPETING FOR CPU USE, THE TCB'S FOR MAIN AND
* SECOND ARE SNAPPED USING THE EXTRACT MACRO.
* WHEN SECOND AND
* WHEN SECOND IS EXECUTING IS ATTACHED IT IS GIVEN AN ECB AND
* IN MAIN A WAIT MACRO IS ISSUED FOR THIS ECB.
* 4 THEN SECOND IS DETACHED IN MAIN USING THE DETACH
* MACRO.
* 5 THEN THE PRIORITY OF MAIN IS RESTORED.
* 6 THEN SECOND IS ATTACHED AGAIN USING THE ATTACH MACRO
* ONLY THIS TIME SECOND IS GIVEN AN EXIT ROUTINE. IN THE EXIT
* ROUTINE SECOND IS DETACHED AND CONTROL IS RETURNED TO MAIN.
* AGAIN THERE IS AN ECB GIVEN TO SECOND AND A WAIT MACRO ISSUED
* IN MAIN.
* 7 THEN THIRD IS ATTACHED BUT IT IS NOT GIVEN AN ECB.
* AN ADDRESS IS PASSED IN THE ATTACH MACRO FOR THE ECB AND THIRD
* USES A POST MACRO TO SET THE ECB.
* . . . . . . .
*
EJECT
PRINT NOGEN
*
* . . . . . . .
* WHEN SECOND OBTAINS CONTROL IT DETERMINES WHICH CALL IS BEING
* MADE THEN IT OUTPUTS THE APPROPRIATE HEADING AND RETURNS.
* . . . . . . .
*
SECOND CSECT
XSAVE TR=NO
L 2,0(1) GET ADD OF PARM LIST
L 4,4(1) GET SECOND PARM
L 4,0(4) GET VALUE OF SECOND PARM
LTR 4,4 CHECK FOR 0
BZ SEC IF ZERO THEN SECOND CALL
LA 5,SHEAD1 GET ADD OF OUTPUT FOR FIRST CALL
B OUTPUT GO TO DO OUTPUT
SEC LA 5,SHEAD2 GET ADD FOR OUTPUT OF SECOND CALL
OUTPUT PUT 0(2),0(5)
XRETURN SA=*,TR=NO
SHEAD2 DC CL132'0THIS IS SECOND CALL TO SECOND'
SHEAD1 DC CL132'0THIS IS FIRST CALL TO SECOND'
PRINT GEN
END
/*
/*LOG
//OBJECT.SYSLMOD DD DSNAME=&&LOADMOD(SECOND)
// EXEC ASGCL
//SOURCE.SYSGO DD DISP=(OLD,PASS)
//SOURCE.INPUT DD *
PRINT NOGEN
ECBDSECT DSECT
ECBADD DS F
*
* . . . . . . .
* THE PURPOSE OF THIRD IS GAIN CONTROL AND OUTPUT A MESSAGE
* THEN TO POST THE ECB THEN RETURN
* . . . . . . .
*
THIRD CSECT
XSAVE TR=NO
L 2,0(1) GET ADD OF DCB
L 3,4(1) GET ADDRESS OF ECB
PUT 0(2),THEAD
PRINT GEN
POST 0(3),240
PRINT NOGEN
XRETURN SA=*,TR=NO
THEAD DC CL132'0THIRD NOW EXECUTING '
END
/*
//OBJECT.SYSLMOD DD DSNAME=&&LOADMOD(THIRD),DISP=(OLD,PASS)
// EXEC ASGCLG
//SOURCE.SYSGO DD DISP=(OLD,PASS)
//SOURCE.INPUT DD *
PRINT NOGEN
*
* . . . . . . .
* THIS IS THE MAIN JOB STEP.
* MAIN ATTAHCES SECOND TWICE AND THIRD ONCE IT USES ATTACH,
* DETACH,EXTRACT,CHAP,WAIT, AND POST
* DETACH,WAIT,AND EXTRACT.
* IT DOES ALL THREE ONE STEP AT A TIME
* . . . . . . .
*
MAIN CSECT
XSAVE TR=NO
OPEN (OTPT,OUTPUT)
PUT OTPT,MHEAD
PRINT GEN
EJECT
* TCB DESCRIPTION
*
* *---------------------------------------*
* × × × × ×
* × BYTE 1 × BYTE 2 × BYTE 3 × BYTE 4 ×
* × × × × ×
* *---------------------------------------*
*
*
* ANSWER AREA
* ADDRESS---*
* ×
* ×
* ×
* *---------------------------------------*
* × × ADDRESS GENERAL PURPOSE ×
* GRS × × SAVE AREA FOR TASKS REG'S ×
* × × WHEN TASK NOT ACTIVE ×
* *---------------------------------------*
* × × ADDRESS GENERAL PURPOSE ×
* FRS × × SAVE AREA FOR TASKS ×
* × × FLOATING POINT REGISTERS ×
* × × WHEN TASK NOT ACTIVE ×
* *---------------------------------------*
* × RESERVED SET TO 0 ×
* *---------------------------------------*
* × × ADDRESS OF END OF TASK ×
* AETX × × ROUTINE SPECIFIED IN ×
* × × ATTACH MACRO - EXTR - ×
* *---------------------------------------*
* × × × TASK × TASK ×
* PRI × × × LIMIT × DISPATCH×
* × × × PRIORITY×PRIORITY ×
* *---------------------------------------*
* × × COMPLETION CODE ×
* CMC × 1 IF NOT COMPLETE 0 ×
* *---------------------------------------*
* × × ADDRESS OF TASK INPUT AND ×
* TIOT × × OUTPUT TABLES ×
* *---------------------------------------*
* COMM × × ADDRESS OF COMMAND ×
* × × SCHEDULER COMMUNIATIONSS ×
* × × LIST ×
* *---------------------------------------*
* × × ADDRESS OF TIME SHARING ×
* TSO × × FLAGS FIELD IN TCB ×
* *---------------------------------------*
* × × ADDRESS OF PROTECTED ×
* PSB × × STORAGE CONTROL BLOCK ×
* *---------------------------------------*
* × × × THE TERMINAL JOB ×
* TJID × × × IDENTIFIER ×
* *---------------------------------------*
EJECT
*
* . . . . . . .
* OBTAIN DISPATCH PRIORITY FOR MAIN.
* ATTACH SECOND.
* SNAP THE TCB'S FOR MAIN AND SECOND.
* SET A WIAT MACRO FOR THE ECB OUT OF SECOND
* DETACH SECOND.
* . . . . . . .
*
*
* . . . . . . .
*
* . . . . . . .
* THE ANSWER PARM IS A FULL WORD IN CORE STORAGE FOR THE RESULT
* OF THE EXTRACT MACRO.
* 'S' PARM INDICATES THIS JOB.
* THE FIELDS PARM SPECIFIES WHICH ONE WE DESIRE.
* . . . . . . .
*
EXTRACT ANSWER,'S',FIELDS=(PRI)
SR 10,10 ZERO REGISTER 10
LA 9,ANSWER GET ADDRES OF ANSWER
IC 10,3(9) GET PRIORITY OF MAIN
SRL 10,1 DIVIDE DISP PRI BY 2
LNR 10,10 MAKE DISPATCH PRI NEG
*
* . . . . . . .
* THE EP IS THE ENTRY POINT FOR THE LOAD MODULE TO BE ATTACHED.
* PARAM SPECIFIES A LIST OF PARM TO BE PASSED TO THE LOAD MODULE
* AND VL INDICATES AN INDEFINITE NUMBER OF PARMS.
* ECB SPECIFIES THE ADDRESS OF ANDEVENT CONGROL BLOCK TO BE
* ECB SPECIFIES THE ADDRESS OF AND VENT CONGROL BLOCK TO BE
* ECB SPECIFIES THE ADDRESS OF AN EVENT CONGROL BLOCK TO BE
* POSTED WHEN SECOND COMPLETES EXECUTION.
* THE LPMOD SPECIFIES AN INTEGER VALUE TO BE SUBTRACTED FROM
* THE LIMIT PRIORITY OF SECOND.
* THE DPMOD GIVES ANVALUE TO BE ADDED TO DISPATCH PRIORITY OF
* MAIN. IN THIS EXAMPLE A REGISTER VALUE.
* THE ADDRESS OF THE TCB OF SECOND IS RETURNED IN REG 1.
* . . . . . . .
*
ATTACH EP=SECOND,PARAM=(OTPT,ONE),VL=1,ECB=ECB1,LPMOD=1, X
DPMOD=(10)
ST 1,TCBADD SAVE TCB ADDRESS.
*
* . . . . . . .
* NEXT SNAP THE TCB FOR MAIN AND SECOND USING EXTRACT MACRO
* SEVEN1 IS THE AREA FOR THE RESULT.
* THE 'S' INDICATES TCB FOR MAIN.
* THE FIELDS SPECIFY THE FIELDS TO BE SNAPPED.
* . . . . . . .
*
EXTRACT SEVEN1,'S',FIELDS=(ALL,TSO,PSB,COMM,TJID)
PRINT NOGEN
XSNAP T=NOREGS,STORAGE=(SEVEN1,SEVEN1+44), X
LABEL='TCB FOR MAIN WITH PRIORITY LOWERED'
PRINT GEN
*
* . . . . . . .
* NEXT SNAP THE TCB FOR SECOND
* TCBADD IS A FULL WORD CONTAINING THE ADDRESS OF SECOND TCB.
* . . . . . . .
*
EXTRACT SEVEN1,TCBADD,FIELDS=(ALL,TSO,PSB,COMM,TJID)
PRINT NOGEN
XSNAP T=NOREGS,STORAGE=(SEVEN1,SEVEN1+44), X
LABEL='THIS IS TCB FOR SECOND ON FIRST CALL'
PRINT GEN
*
* . . . . . . .
* ISSUE A WAIT MACRO FOR THE EVENT CONTROL BLOCK PASSED TO
* SECOND IN THE ATTACH MACRO. CONTROL PROGRAM WILL POST ECB.
* . . . . . . .
*
WAIT ECB=ECB1
*
* . . . . . . .
* THE TCBADD IS THE ADDRESS OF THE TCB FOR LOAD MODULE TO BE
* DETACHED
* . . . . . . .
*
DETACH TCBADD
PRINT NOGEN
PUT OTPT,MHEAD1
LPR 10,10
PRINT GEN
*
* . . . . . . .
* RESORE PRIORITY FOR MAIN.
* (10) INDICATES THE VALUE TO BE ADDED TO DISPATCH FOR MAIN IS
* IN REG 10.
* THE 'S' INDICATES THE CURRENT LOAD MODULE.
* . . . . . . .
*
CHAP (10),'S'
EJECT
*
* . . . . . . .
* ATTACH SECOND WITH EXIT ROUTINE TO DETACH SECOND.
* SNAP TCB FOR MAIN AND SECOND.
* THEN SET WAIT MACRO IN MAIN BEFORE CONTINUING.
* . . . . . . .
*
*
* . . . . . . .
* EXTR IS THE ONYL NEW PARM IT GIVES THE ADDRESS OF A ROUTINE TO
* BE GIVEN CONTROL WHEN SECOND FINISHES.
* . . . . . . .
*
ATTACH EP=SECOND,PARAM=(OTPT,ZERO),ECB=MECB,ETXR=MEXTR,VL=1
ST 1,TCBADD PUT ADD OF TCB FOR DETACH
*
* . . . . . . .
* AGAIN SNAP TCB'S FRO MAIN AND SECOND.
* . . . . . . .
*
EXTRACT SEVEN,TCBADD,FIELDS=(ALL)
PRINT NOGEN
XSNAP STORAGE=(SEVEN,SEVEN+28),T=NOREGS, X
LABEL='THIS IS TCB FOR SECOND ATTACH OF SECOND'
PRINT GEN
EXTRACT SEVEN,'S',FIELDS=(ALL)
PRINT NOGEN
XSNAP STORAGE=(SEVEN,SEVEN+28),T=NOREGS X
LABEL='TCB FOR MAIN WITH ONLY ALL SPECIFIED FOR FIELDS'
PUT OTPT,MHEAD2
PRINT GEN
*
* . . . . . . .
* WIAT FOR SECOND TO COMPLETE BEFORE ATTACHING THIRD.
* . . . . . . .
*
WAIT ECB=MECB
EJECT
XC MECB(4),MECB CLEAN OUT MECB FOR WAIT AND POST
*
* . . . . . . .
* ATTACH THIRD
* SNAP PRIORITY OF MAIN
* WAIT ON THIRD
* . . . . . . .
*
* HERE ECB IS PASSED AS PARM
* DPMOD IS NEGATIVE INTEGER.
* . . . . . . .
*
ATTACH EP=THIRD,PARAM=(OTPT,MECB),DPMOD=-30
ST 1,TCBADD SAVE TCB ADDRESS FOR DETACH
*
* . . . . . . .
* EXTRACT PRIORITY FOR MAIN AND SNAP IT.
* . . . . . . .
*
PRINT NOGEN
EXTRACT ANSWER,'S',FIELDS=(PRI)
XSNAP T=NOREGS,STORAGE=(ANSWER,ANSWER+4), X
LABEL='PRIORITY SNAPPED FOR MAIN ON ATTACH TO THIRD'
PRINT GEN
*
* . . . . . . .
* WAIT FOR THIRD TO COMPLETE.
* . . . . . . .
*
WAIT ECB=MECB
*
* . . . . . . .
* DETACH THIRD.
* . . . . . . .
*
DETACH TCBADD
*
* . . . . . . .
* CLOSE OUTPUT FILE AND RETURN
* . . . . . . .
*
PRINT NOGEN
CLOSE (OTPT,)
XRETURN SA=*,TR=NO
DROP 12
EJECT
*
* . . . . . . .
* EXIT ROUTINE FOR SECOND CALL TO SECOND.
* . . . . . . .
*
MEXTR XSAVE TR=NO,SA=NO
PRINT GEN
*
* . . . . . . .
* DETACH SECOND IN EXIT ROUTINE WITH ADD OF TCB OF SECOND
* IN TCBADD.
* . . . . . . .
*
DETACH TCBADD
PRINT NOGEN
XRETURN SA=NO,TR=NO
MECB DC F'0'
ZERO DC F'0'
ONE DC F'1'
ECB1 DC F'0'
TCBADD DC F'0'
ANSWER DC F'0'
SEVEN DC 7F'0'
SEVEN1 DC 7F'0'
MHEAD2 DC CL132'0SECOND WILL ATTACHED AGAIN WITH POST ON COMPLETE'
MHEAD DC CL132'0MAIN IS NOW EXECUTING NEXT OUTPUT SECOND'
MHEAD1 DC CL132'0MAIN EXECUTING WITH DISPATCH PRIORITY HALVED'
OTPT DCB DSORG=PS,MACRF=PM,LRECL=132,BLKSIZE=132,RECFM=FA, X
DDNAME=FT06F001,EROPT=ACC
END
/*
//OBJECT.SYSLMOD DD DSNAME=&&LOADMOD(MAIN),DISP=(OLD,PASS)
//DATA.STEPLIB DD DSNAME=&&LOADMOD,DISP=(OLD,PASS)
//DATA.SYSUDUMP DD SYSOUT=A
//DATA.XSNAPOUT DD UNIT=AFF=FT06F001
//*
//* THIS JOB WILL RUN WITH TIME = 170 SECONDS
//* RECORDS = 1500
//*
// EXEC ASGCG
//SOURCE.INPUT DD *
/*LOG
*
* . . . . . . .
* TEH PURPOSE OF THIS JOB IS TO DEMONSTRATE BASIC DIRECT ACCESS
* METHOD (BDAM).
* . . . . . . .
*
*
* . . . . . . .
* THE BASIC FLOW OF THIS JOB IS AS FOLLOWS.
* 1 JOB STEP 1 CREATES THE DIRECT ACCESS DATA SET
* 2 JOB STEP 2 ADDS RECORD TO THE DATA SET.
* 3 JOB STEP 3 UPDATES THE DATA SET.
* 4 JOB STEP 4 PRINTS OUT THE DATA SET IN LOGICAL ORDER
* . . . . . . .
*
EJECT
*
* . . . . . . .
* THIS JOB STEP CREATES THE DIRECT ACCESS DATA SET.
* THE INPUT IS CARDS WITH A KEY OF 4 DIGITS BETWEEN 1001 AND
* 1020. THE KEY IS CONVERTED TO A BINARY NUMBER WHICH IS USED
* AS THE BLOCK NUMBER FOR THE INPUT RECORD. FOR EACH INPUT
* THE NEXT 40 CHARACTERS ON THE CARDS ARE WRITTEN TO DISK.
* FOR EACH KEY THAT IS NOT PRESENT A DUMMY RECORD IS WRITTEN ON
* DISK. THUS THERE ARE 20 BLOCKS OF DATA ON THE DISK.
* . . . . . . .
*
SPACE 5
PRINT NOGEN
EQUREGS
MAIN CSECT
XSAVE
PRINT GEN
*
* . . . . . . .
* OPEN THE INPUT DATA SET AND THE OUTPUT DATA SET. INITIALIZE
* REGISTER 8, 9, AND 7. REGISTER 8 HAS MAX KEY VALUE, REGISTER
* 9 HAS THE MIN KEY VALUE, AND REGISTER 7 HAS ADDRESS OF
* THE COMPARE INSTRUCTION,
* . . . . . . .
*
OPEN (INPT,INPUT,OTPT,OUTPUT)
PRINT NOGEN
LA R7,COMPARE
LA R8,1020 SET R8 TO LAST KEY VAUUE
LA R9,1001 SET R9 TO MIN KEY VALUE
*
* . . . . . . .
* READ IN THE CARD AND CONVERT THE KEY TO BINARY FORM IN
* REGISTER 10. THEN CHECK TO SEE IF THIS IS THE NEXT KEY IN
* THE LIST OF KEYS.
* . . . . . . .
*
LOOP GET INPT,AREA
XDECI R10,AREA
COMPARE CR R9,R10 CHECK FOR KEY
BNE DUMMY IF NOT GO TO OUTPTT DUMMY RECORD
*
* . . . . . . .
* AT THIS POINT WE KNOW THAT THIS IS THE NEXT KEY TO BE WRITTEN
* SO WRITE THE INPUT TO KISK, AND THE CHECK THE DECB WITH A
* CHECK MACRO. THEN INCREASE THE MIN KEY VALUE AND RETURN FOR
* NEXT INPUT.
* . . . . . . .
*
SPACE 5
* . . . . . . .
* FOR THE WRITE STATEMENT THE DCEB1 IS THE NAME OF THE DATA
* EVENT CONTROL BLOCK, THE SECOND PARAMTTE SF INDICATES NORMAL
* WRITE CONDITION, OTPT IS THE DCB NAME,, AREA IS THE ADDRESS
* WHERE THE OUTPUT DATA IS STORED.
* THE PARAMETER TO THE CHECK MACRO IS THE DECB NAME FOR THE
* WRITE STATEMENT.
* . . . . . . .
*
WRITE DECB1,SF,OTPT,AREA
SPACE 5
CHECK DECB1
PRINT NOGEN
LA R9,1(R9) ADD ONE TO KEY COUNT
B LOOP RETURN FOR NEXT INPUT
*
* . . . . . . .
* AT THIS POINT THE KEY JUST READ IS GREATER THAN THE MIN VALUE
* IN REGISTER 9. NOW CHECK THE EXPECTED KEY VALUE TO SEE IF
* IT IS GREATER THAN THE MAX KEY VALUE IN REGISTER 8.
* . . . . . . .
*
DUMMY CR R9,R8 CHECK TO SEE IF LAST INPUT
BH EOJ IF HIGH THEN DONE
PRINT GEN
*
* . . . . . . .
* AT THIS POINT THE LAST KEY READ IN WASA GREATER THAN MIN KEY
* VALUE BUT LWSS THAN MAX KEY VALUE, THEREFORE, WRITE A DUMMY
* RECORD TO THE DATA SET.
* . . . . . . .
*
SPACE 5
*
* THE FIRST POSITIONAL PARAMETER IS THE DECB NAME TO BE
* CREATED. THE SD INDICATES THAT THIS IS A DUMMY RECORD.
* OTPT IS THE DCB NAME. DUMAREA IS ADDRESS OF 5 BYTES OF CORE
* FOR USE IN DUMMY OUTPUT.
* INCREASE THE MIN KEY VALUE AND RETURN TO CHECK THE CURRENT
* KEY VALUE.
* AGAIN CHECK IS USED TO CHECK THE DECB.
* . . . . . . .
*
WRITE DECB2,SD,OTPT,DUMAREA
SPACE 5
CHECK DECB2
PRINT NOGEN
LA R9,1(R9) INCREASE R9 BY ONE
BR R7 GO TO DO NEXT COMPARE
*
* . . . . . . .
* AT THIS POINT WE HAVE JUST READ IN THE LAST INPUT SO GO TO
* FINISH OUTPUTTING DUMMY RECORDS UNTIL THE DATA SET IS FULL.
* . . . . . . .
*
EODADD LA R7,DUMMY
BR R7 RETURN TO CONTINUE DUMMY OUTPUT
PRINT GEN
SPACE 5
*
* . . . . . . .
* NOW WE HAVE FILLED THE DATA SET SO CLOSE THE DATA SETS AND RE
* NOW WE HAVE FILLED THE DATA SET SO CLOSE THE DATA SETS AND
* RETURN TO OPERATING SYSTEM.
* . . . . . . .
*
EOJ CLOSE (INPT,,OTPT,)
PRINT NOGEN
XRETURN SA=*
PRINT GEN
SPACE 5
*
* . . . . . . .
* WHEN AN UNCORRECTABLE ERROR HAS OCCURED IN THE WRITE STATEMEN
* THIS ROUTINE IS GIVEN COOTROL BY THE CONTROL PROGRAM.
* SYNADAF RETURNS IN REGISTER 1 THE ADDRESS OF AN AREA THAT
* CONTAINES DEBUGGNNG INFORMATION SO PRINT IT AND RETURN
* THE SYNADRLS MACRO RESTORES THE REGISTERS THAT EXISTED
* WHEN CHECKER RECEIVED CONTROL IT RESTORES THEM FOR YOU.
* THE SYNAD ROUTINE CAN NOT SAVE IN CALLING PROGRAM SAVEAREA.
* . . . . . . .
*
CHECKER SYNADAF ACSMETH=BDAM
PRINT NOGEN
XPRNT 0(1)
PRINT GEN
SPACE 5
SYNADRLS
BR 14
AREA DC 10F'0'
DC 10F'0'
DUMAREA DS CL5
*
* . . . . . . .
* THIS IS DCB FOR BDAM OUTPUT TO CREATE BDAM DATA SET.
* WHEN CREATING THE DATA SET THE DSORG MUST BE PS.
* THE MACRF MUST BE (WL)
* DEVD MUST BE DA.
* DDNAME IS STANDARD.
* SYNAD IS ADDRESS OF ROUTINE TO BE GIVEN CONTROL WHEN ERROR
* BURING EXECUTION OF THE I/O OCCURS.
* . . . . . . .
*
OTPT DCB DSORG=PS,MACRF=(WL),DDNAME=DAOUTPUT,DEVD=DA, X
SYNAD=CHECKER
PRINT NOGEN
INPT DCB DSORG=PS,MACRF=GM,LRECL=80,BLKSIZE=80,RECFM=F, X
DDNAME=INPUT,EROPT=ACC,EODAD=EODADD
LTORG
PRINT GEN
END
/*
//DATA.DAOUTPUT DD DSNAME=&&TEMP,UNIT=SYSDA,DISP=(NEW,PASS), X
// DCB=(DSORG=DA,BLKSIZE=40,KEYLEN=4,RECFM=F),SPACE=(44,(21))
//DATA.SYSUDUMP DD SYSOUT=A
//DATA.XSNAPOUT DD SYSOUT=A
//DATA.INPUT DD *
1001FIRST RECORD
1003THIRD RECORD
1005RECORD FIVE
1007SEVENTH RECORD
1009NINETH RECORD
1011ELEVENTH RECORD
1013THIRTEENTH RECORD
1015FIFTEENTH RECORD
1017SEVENTEENTH RECORD
1019NINETEENTH RECORD
/*
// EXEC ASGCG
//SOURCE.SYSGO DD DISP=(OLD,PASS,DELETE)
//SOURCE.INPUT DD *
* . . . . . . .
*
* THIS CSECT ADDS RECORD TO THE DATA SET THAT ALREADY EXISTS.
* . . . . . . .
*
PRINT NOGEN
EQUREGS
SECOND CSECT
XSAVE
*
* . . . . . . .
* FIRST OPERN THE INPUT AND OUTPUT DATA SETS. THEN SET REGSTER
* 11 TO 1000 WHICH IS USED TO RELATIVE BLOACK ADDRESS FOR
* THE RECORDS TO BE ADDED TO THE DATA SET.
* . . . . . . .
*
OPEN (INPT,INPUT,DIRECT,OUTPUT)
LA R11,1000
*
* . . . . . . .
* READ THE INPUT AND CONVERT THE DEY TO BINARY FROM IN REGISTER
* 2, THEN COMPUTE THE RELATIVE BLOCK ADDRESS AND STORE THIS AT
* REF.
* THEN WRITE THE NEW RECORD IN THE PROPER PLACE ON DISK.
* . . . . . .
* . . . . . . .
*
NEXTREC GET INPT,KEY
XDECI R2,KEY
SR R2,R11
ST R2,REF
PRINT GEN
SPACE 5
*
* . . . . . . .
* THE POSITIONAL PARAMETER ARE
* 1 NAME OF THE DATA EVENT CONTROL BLOCK TO BE CREATED
* BY THE WRITE MACRO.
* 2 TYPE DA ADD A NEW BLOCK WHEREEVER THERE IS SPACE;
* THE SEARCH FOR AVAILBBLE SPACE STARTS ATTHE DEVICE ADDRESS
* ADDRESS IN THE BLOCK ADDRESS OPERAND.. TYPE SEARC IS
* IN THE OPTCD PARAMETER IN DCB MACRO.
* 3 DCB NAME HERE IT DIRECT.
* 4 AREA ADDRESS ADDRESS OF MAIN CORE CONTAINING THE
* BLOCK TO BE WRITTEN.
* 5 LENGTH - NUMBER OF BYTE TO BE WRITTEN, 'S' INDI-
* CATES THAT THIS IS OBTAINED FROM BLKSIZE IN DCB.
* 6 KEY ADDRESS IS ADDRESS OF MAIN CORE AREA CONTAIN-
* ING THE KEY.
* 7 BLOCK ADDRESS ADDRESS OF THREE BYTES IN AMIN CORE
* THAT CONTAIN THE RELATIVE BLOCK ADDRESS.
* . . . . . . .
* WAIT MACRO HALTS TASK TILL I/O DONE.
* THEN RETURN FOR NEXT INPUT.
* . . . . . . .
*
WRITE DECB,DA,DIRECT,DATA,'S',KEY,REF+1
PRINT NOGEN
PRINT GEN
SPACE 5
WAIT ECB=DECB
PRINT NOGEN
B NEXTREC RETURN FOR NEXT INPUT
*
* . . . . . . .
* CLOSE INPUT FILE CLOSE OUTPUT FILE AND RETURN TO SYSTEM.
* . . . . . . .
*
EOJ CLOSE (INPT,,DIRECT,)
XRETURN SA=*
PRINT GEN
SPACE 5
*
* . . . . . . .
* THIS IS THE ERROR REUTINE FOR DEBUGGING.
* . . . . . . .
*
CHECKER SYNADAF ACSMETH=BDAM
PRINT NOGEN
XPRNT 0(1)
PRINT GEN
SYNADRLS
BR 14
KEY DS F
DATA DS CL40
DC CL100' '
REF DS F
PRINT NOGEN
INPT DCB DSORG=PS,MACRF=GM,LRECL=80,RECFM=F,BLKSIZE=80, X
EROPT=ACC,EODAD=EOJ,DDNAME=INPUT
PRINT GEN
SPACE 5
*
* . . . . . . .
* THE KEYWORD PARAMETERS FOR DCB ARE
* DSORG IS DA SPECIFYING DIRECT ACCESS.
* RECFM IS FIXED
* KEYLEN - KEY LENGTH IS 4 BYTES.
* BLKSIZE IS 40 BYTES.
* MACRF - WRITE BLOCKS ARE TO BE ADDED TO THE DATA SET.
* OPTCD - E EXTENDED SEARCH R RELATIVE BLOCK ADDRESSING
* LIMCT NUMBER OF BLOCKS TO BE SERRCHED FOR EKY.
* DDNAME - STANDARD.
* SYNAD - ADDRESS OF ROUTINE FOR ERROR DURING WRITE.
* . . . . . . .
*
DIRECT DCB DSORG=DA,RECFM=F,KEYLEN=4,BLKSIZE=40,MACRF=(WA), X
OPTCD=ER,LIMCT=3,DDNAME=DIRADD,SYNAD=CHECKER
LTORG
END
/*
//DATA.DIRADD DD DSNAME=&&TEMP,UNIT=SYSDA,DISP=(OLD,PASS), X
// SPACE=(44,(21))
//DATA.SYSUDUMP DD SYSOUT=A
//DATA.XSNAPOUT DD SYSOUT=A
//DATA.INPUT DD *
1002SEDOND RECORD
1004FOURTH RECORD
1006SIXTH RECORD
1008EIGHT RECORD
1010TENTH RECORD
1012TWELTH RECORD
1014FOURTEENTH RECORD
1016SIXTEENTH RECORD
1018EIGHTEENTH RECORD
1020TWENTIETH RECORD
/*
// EXEC ASGCG
//SOURCE.SYSGO DD DISP=(OLD,PASS)
//SOURCE.INPUT DD *
*
* . . . . . . .
* THIS CSECT UPDATES THE DATA SET.
* . . . . . . .
*
*
* . . . . . . .
* OPEN THE DATA SET AND SET REGISTER 11 TO 1001 WHICH IS USED
* TO COMPUTE THE RELATIVE BLOCK ADDRESS.
* . . . . . . .
*
PRINT NOGEN
EQUREGS
THIRD CSECT
XSAVE
OPEN (INPT,INPUT,DIRECT,OUTPUT)
LA R11,1001
*
* . . . . . . .
* READ IN TEH INPUT AND CONVDRT THE KEY TO A RELATIVE
* BLOCK ADDRESS. THEN STORE RELATIVE BLOCK ADDRESS IN REF.
* READ THE RECORD WITH THIS RELATIVE ALOCK ADDRESS.
* THE WRITE THE NEW INPUT IN ITS PLACE THEN RETURN FOR NEXT
* INPUT.
* . . . . . . .
*
LOOP GET INPT,KEY
XDECI R2,KEY
SR R2,R11
ST R2,REF
PRINT GEN
SPACE 5
*
* . . . . . . .
* THE POSITIONAL PARAMETER FOR READ MACRO ARE:
* 1 DECB NAME TO BE CREATED BY READ STATEMENT.
* 2 TYPE - DI - SEARCH FOR RECORD USES BLOCK
* IDENTIFICATION.
* 3 DCB ADDRESS DIRECT.
* 4 AREA ADDRESS - 'S' INDICATES THAT DYNAMIC BUFFERING
* IS TO BE USED.
* 5 LENGHT - 'S' NUMBER OF BYTES COMES FROM DCB.
* 6 KEY ADDRESS - 0 INDICATES KEY NOT TO BE READ.
* 7 BLOCK ADDRESS - ADDRESS OF THREE BYTES CONTAINING
* RELATIVE BLOCK ADDRESS.
* . . . . . . .
*
READ DECB,DI,DIRECT,'S','S',0,REF+1
SPACE 5
CHECK DECB
*
* . . . . . . .
* LOAD REGISTER 3 WITH BUFFER ADDRESS. THEN MOVE NEW DATA TO
* BUFFER AND STORE BUFFER ADDRESS IN DCEB OF WRITE STATEMETN.
* . . . . . . .
*
L R3,DECB+12
MVC 0(30,3),DATA
ST R3,DECBW+12
SPACE 5
*
* .
* . . . . . . .
* POSITIONAL PARAMETERS OF WRITE MACRO ARE:
* 1 DECB NAME TO BE CREATED BY WRITRE MACRO.
* 2 TYPE - DI - WRITE THE BLOCK AT THE DEVICE ADDRESS
* PROVIDED AT THE BLOCK ADDRESS OPERAND. DATA AND KEYS ARE
* WRITTEN.
* 3 DCB ADDRESS - DIRECT.
* 4 AREA ADDRESS - 'S' INDICATES DYNAMIC BUFFERING
* ADDRESS PROVIDED IN DECB +12 PREVIOUSLY BY READ AND STORE.
* 5 LENGTH - - 'S' INDICATES LENGTH CMMES FROM BLKSIZE
* IN DCB.
* 6 KEY ADDRESS - 0 INDICATES KEY NOT WRITTEM.
* 7 BLOCK ADDRESS ADDRESS OF THREE BYTES OF MAIN CORE
* CONTIANING RELATIVE BLOCK ADDRESS.
* . . . . . . .
*
WRITE DECBW,DI,DIRECT,'S','S',0,REF+1
SPACE 5
CHECK DECBW
B LOOP
PRINT NOGEN
*
* . . . . . . .
* CLOSE DATA SETS AND RETURN TO OS.
* . . . . . . .
*
EOJ CLOSE (INPT,,DIRECT,)
XRETURN SA=*
*
* . . . . . . .
* ERROR ROUTINE PROVIDED BY SYNAD PARM IN DCB.
* . . . . . . .
*
CHECKER SYNADAF ACSMETH=BDAM
XPRNT 0(1)
SYNADRLS
BR 14
KEY DC F'0'
DATA DC 10F'0'
DC CL100' '
REF DC F'0'
INPT DCB DSORG=PS,MACRF=GM,LRECL=80,BLKSIZE=80,RECFM=F, X
DDNAME=INPUT,EROPT=ACC,EODAD=EOJ
PRINT GEN
SPACE 5
*
* . . . . . . .
* THE KEYWORD PARAMETERS FOR DCB ARE
* DSORG DA DIRECT ACCESS.
* DDNAME STANDARD DIRECTDD
* MACRF
* R READ
* I SEARCH TO BE MADE BY BLOCK IDENTIFICATION.
* S DYNAMIC BUFFERING.
* C CHECK ABSENCE DENOTES WAIT.
* W WRITE
* I SEARCH TO BE MADE BY BLOCK IDENTIFICATION.
* C HCECK ABSECCE DENTOES WAIT.
* BUFL BUFFER LENGTH 40
* OPTCD - R - SEARCH TO BE MADE BY BLOCK IDENTIFICATION.
* BUFNO - NUMBER OF BUFFERS.
* SYNAD - ERROR ROUTINE ADDRESS.
* . . . . . . .
*
DIRECT DCB DSORG=DA,DDNAME=DIRECTDD,MACRF=(RISC,WIC),BUFL=40, X
OPTCD=R,BUFNO=1,SYNAD=CHECKER
LTORG
END
/*
//DATA.XSNAPOUT DD SYSOUT=A
//DATA.SYSUDUMP DD SYSOUT=A
//DATA.DIRECTDD DD DSNAME=&&TEMP,DISP=(OLD,PASS),SPACE=(44,(21)), X
// UNIT=SYSDA
//DATA.INPUT DD *
1020CGANGE RECORD TWENTY
1002CHANGE RECORD TWO
1010CHANGE RECORD TEN
/*
// EXEC ASGCG
//SOURCE.SYSGO DD DISP=(OLD,PASS)
//SOURCE.INPUT DD *
*
* . . . . . . .
* THIS JOB STEP READS IN THE CURRENT RECORDS AND PRINTS THEM
* OUT.
* . . . . . . .
*
PRINT NOGEN
EQUREGS
FOUR CSECT
XSAVE
*
* OPEN INPUT AND OUTPUT DATA SETS.
* SET R11 TO NUMBER OF BLOCKS
* SET R3 TO 0 THE RELATVVE ADDRESS OF FIRST BLOCK.
* STORE R3 AT REF.
* . . . . . . .
*
OPEN (INPT,INPUT,OTPT,OUTPUT)
LA R11,20
SR R3,R3
ST R3,REF
PRINT GEN
SPACE 5
*
* . . . . . . .
* THE POSITIONAL PARAMETERS FOR THE READ MACRO ARE
* 1 DECB NAME TO BE CREATED BY READ MACRO.
* 2 TYPE DIRECT ADDRESS ING BY RELATIVE BLOCK.
* 3 DCB ADDRESS NNPT
* 4 AREA ADDRESS AREA WHERE RETRIEVED DATA TO BE PUT.
* 5 LENGTH - 'S' TO BE TAKEN FROM DCB.
* 6 KEY ADDRESS - 0 INDICATES KEY NOT TO BE READ.
* 7 BLOCK ADDRESS ADDRESS OF THREE BYTES OF CORE
* CONTAINING THE RLLATIVE KEY ADDRESS.
* . . . . . . .
*
LOOP READ DECB,DI,INPT,INPTT,'S',0,REF+1
SPACE 5
CHECK DECB
*
* . . . . . . .
* INCREASE RELATIVE BLOCK ADDRESS, THEN OUTPUT THE RECORD
* RETURN FOR NEXT INPUT.
* . . . . . . .
*
L R3,REF
LA R3,1(R3)
ST R3,REF
PRINT NOGEN
PUT OTPT,INPTT-1
BCT R11,LOOP
*
* . . . . . . .
* CLOSE DATA SETS AND RETURN TO OS.
* . . . . . . .
*
CLOSE (INPT,,OTPT,)
XRETURN SA=*
*
* . . . . . . .
* ERROR REOUTINE FOR USE WHEN ERROR OCCURS.
* . . . . . . .
*
CHECKER SYNADAF ACSMETH=BDAM
XPRNT 0(1)
SYNADRLS
BR 14
REF DC F'0'
DC X'00'
INPTT DC 10F'0'
OTPT DCB DSORG=PS,MACRF=PM,LRECL=40,BLKSIZE=40,RECFM=FA, X
DDNAME=FT06F001,EROPT=ACC
PRINT GEN
SPACE 5
INPT DCB DSORG=DA,MACRF=(RIC),RECFM=F,BLKSIZE=40, X
OPTCD=ER,LIMCT=3,DDNAME=DIRECTDD,SYNAD=CHECKER
LTORG
END
/*
//DATA.FT06F001 DD SYSOUT=A
//DATA.DIRECTDD DD DSNAME=&&TEMP,DISP=(OLD,DELETE),SPACE=(44,(21)), X
// UNIT=SYSDA
//DATA.SYSUDUMP DD SYSOUT=A
//*
//* THIS PROGRAM IS AN EXAMPLE OF THE BPAM ACCESS METHOD
//* IT USES THE BLDL MACRO AND THE TWO KINDS OF FIND MACROS
//* TIMING AND RECORD CONSIDERATIONS: 40 SECONDS, 2500 RECORDS
//*
// EXEC ASGCG,PARM='NOXREF'
//SYSIN DD *
* THIS PROGRAM IS DESIGNED TO ILLUSTRATE THE USE OF THE
* PARTITIONED ACCESS METHOD. IT HAS TWO SECTIONS;
* SECTION 1,
* USES THE BLDL MACRO INSTRUCTION TO BUILD A LIST THAT
* CONTAINS A RELATIVE TRACK ADDRESS FOR EACH USER CREATED
* ENTRY. THE LIST MUST BEGIN ON A HALF-WORD BOUNDRY WITH
* A USER SUPPLIED FULL-WORD OF CONTROL INFORMATION:
* HALF-WORD 1 -- CONTAINS THE COUNT OF LIST ENTRIES (MAX.
* 12)
* HALF-WORD 2 -- CONTAINS THE LENGTH (IN BYTES, MAX. 76)
* OF EACH ENTRY
* THE USER SUPPLIES AT LEAST 14 CONTIGUOUS BYTES FOLLOW-
* ING THE LIST DISCRIPTOR FULL-WORD FOR EACH LIST ENTRY.
* BYTES 0-7 CONTAIN THE MEMBER NAME LEFT JUSTIFIED AND
* RIGHT PADDED WITH BLANKS IF NECESSARY. BYTES 8-13 ARE
* LEFT UNALTERED. THE BLDL MACRO INSTRUCTION COMPLETES
* EACH LIST ENTRY AND SUPPLIES THE RELATIVE TRACK ADDRESS
* AND BLOCK NUMBER ON THAT TRACK OF THE MEMBER NAME, THE
* CONCATENATION NUMBER, WHERE FOUND (PRIVATE,LINK,OR JOB
* LIBRARIES), WHETHER ENTRY NAME IS A MEMBER NAME OR AN
* ALIAS, AMOUNT AND TYPE OF USER DATA IN THE PDS DIRECTORY
* ENTRY. THIS INFORMATION IS PLACED IN BYTES 8-13 OF EACH
* LIST ENTRY. A FIND MACRO INSTRUCTION IS ISSUED WHICH
* CONVERTS THE RELATIVE ADDRESSES IN THE BLDL LIST INTO
* ABSOLUTE ADDRESSES AND INSERTS THEM INTO THE DCB (THIS
* ALLOWS SUBSEQUENT READS/WRITES OR GETS/PUTS TO DEAL
* WITH THE DESIRED MEMBER).
*
* *NOTE* ALL MEMBER ENTRIES MUST BE IN ALPHAMERIC ORDER
* SECTION 2,
* ISSUES A FIND MACRO INSTRUCTION ONLY THIS TIME THE FIND
* IS DIRECTED TO DO THE PDS DIRECTORY SEARCH ITSELF. THE
* RELATIVE ADDRESS IS CONVERTED AS IN SECTION 1 AND
* INSERTED INTO THE DCB.
*
* THIS PROGRAM USES MACROS:
* XSAVE
* XRETURN
* XPRNT
* READ
* BLDL
* FIND
* CHECK
* LISTHD (PROGRAM LOCAL)
* LIST (PROGRAM LOCAL)
* DCB
* DCBD
* EACH OCCURRANCE IS EXPLAINED IN THE PROGRAM TEXT.
* REGISTER USAGE IS EXPLAINED IN THE EQUATE SECTION.
*
*
* PROGRAM LOGIC:
*
* THIS PROGRAM RECOVERS FROM THE SYS1.MACLIB AND THE
* CMACLIB PROGRAM LIBRARIES THE DEFINITIONS FOR FOUR
* SYSTEM MACROS: CALL, RETURN, SAVE, AND DCB.
* MACROS CALL, RETURN, AND SAVE ARE RECOVERED
* USING THE BLDL-FIND MACRO COMBINATION. THE DCB MACRO
* IS RECOVERED USING THE 'D' TYPE FIND MACRO INSTRUCTION.
* THE PROGRAM BUILDS THE BLDL LIST FOR CALL, RETURN,
* AND SAVE, AND DOES THE BLDL ON THAT LIST. A LOOP
* IS ENTERED THAT DOES A FIND ('C' TYPE) ON THE FIRST
* LIST ENTRY. AN INNER LOOP STARTS UP THAT READS A
* BLOCK OF DATA AND DOES DE-BLOCKING AND PRINTS THE
* DATA. ON E-O-F, THE LOOP FOOT (AEODAD) IS ACTIVATED
* WHICH TESTS TO SEE IF THE BLDL LIST HAS BEEN PROCESSED
* IF YES, THE PROGRAM DOES THE 'D' TYPE FIND FOR THE
* DCB MACRO LISTING AND READS, DE-BLOCKS, AND PRINTS
* UNTIL IT IS FINISHED, THE PROGRAM THEN TERMINATES.
*
* PROGRAM BY: RICHARD FORD
* JULY,1972
*
EJECT
MACRO
LISTHD &NAME,&NUM,&LNGTH
GBLA &LEN
SPACE 2
* * * * * * * * * * * * * * * * * * * * * * * * * * * * * * * * * * * *
* *
* THIS MACRO EXPANSION WILL CREATE THE LIST DISCRIPTOR FIELD *
* AS REQUIRED BY THE BLDL MACRO INSTRUCTION *
* *
* * * * * * * * * * * * * * * * * * * * * * * * * * * * * * * * * * * *
SPACE 2
.* ROUND GLOBAL VARIABLE &LNGTH TO EVEN NUMBER IF NECESSARY
&LEN SETA (((&LNGTH+1)/2)*2)
.*
.* ATTACH BLDL LIST TO &NAME
&NAME DS 0H . ALIGN TO HALF-WORD BOUNDRY AND
* STICK TO &NAME
DC H'&NUM' . NUMBER OF BLDL LIST ENTRIES
DC H'&LNGTH' . DEFINE LENGTH IN BYTES OF EACH
.* ENTRY
MEND
SPACE 10
MACRO
LIST &ENTRY
GBLA &LEN
LCLA &T1
SPACE 2
* * * * * * * * * * * * * * * * * * * * * * * * * * * * * * * * * * * *
* THIS MACRO CAUSES EACH LIST ENTRY TO BE PLACED INTO THE BLDL *
* LIST AND TO ALLOCATE STORAGE FOR EACH ENTRY INTO WHICH THE *
* CONTROL PROGRAM WILL PLACE ANY DIRECTORY INFORMATION IT CAN *
* FIND ABOUT EACH ENTRY. EACH ENTRY IS &LNGTH BYTES LONG. *
* * * * * * * * * * * * * * * * * * * * * * * * * * * * * * * * * * * *
SPACE 2
.* SET &T1 TO &LNGTH-8 FOR CORRECT FILL LENGTH AFTER ENTRY NAME
.* DEFINITION
&T1 SETA (&LEN-8) GET LENGTH -8
.*
DC CL8'&ENTRY' . ENTRY NAME IN CHARACTER, LEFT-
* JUSTIFIED AND RIGHT PADDED WTH BLANK
DC XL&T1'FF' . GENERATE CORRECT ENTRY LENGTH
MEND
TITLE 'BPAM I/O EXAMPLE'
* THE DCB DSECT IHADCB FOLLOWS
SPACE 2
DCBD DSORG=PO,DEVD=DA
SPACE 2
BPAMIO CSECT
SPACE 2
PRINT NOGEN
BPAM XSAVE TR='BPAM I/O EXAMPLE'
PRINT GEN
SPACE 5
* MNEMONIC REGISTER EQUATES FOLLOW
SPACE 2
R1 EQU 1 WORK REGISTER
DCBADD EQU 2 DCB ADDRESS POINTER
FNDADD EQU 3 TRACK ADDRESS POINTER
DECB EQU 4 ALWAYS POINTS TO THE DECB
AREA EQU 5 ALWAYS HAS INTERNAL BUFFER ADDRESS
ONE EQU 6 USEFUL CONSTANT 1
HEADING EQU 7 EACH PRINT HEADING ADDRESS
NEXTHD EQU 8 OFFSET TO NEXT HEADING
BLDLCNT EQU 9 COUNTING REGISTER FOR PROGRAM CNTRL
RCRDPT EQU 10 RECORD POINTER REGISTER
END EQU 11 BUFFER END POINTER
BASE EQU 12 BASE REGISTER
SAVE EQU 13 SAVE AREA POINTER
RETADD EQU 14 RETURN ADDRESS POINTER
ENTRY EQU 15 ENTRY POINT ADDRESS POINTER
SPACE 5
* INITIALIZE REGISTERS WHERE POSSIBLE
SPACE 2
LA DCBADD,BPAMDCB GET DCB ADDRESS
LA FNDADD,BLDLLIST+12 GET BLDL RELATIVE ADDRESS
LA DECB,MAC GET DECB ADDRESS
LA AREA,BUFFER GET INTERNAL BUFFER AREA ADDRESS
LA ONE,1 USEFULL CONSTANT
LA HEADING,CALLHD FIRST PAGE HEADING ADDRESS
LA NEXTHD,81 OFFSET TO NEXT HEADING
LA BLDLCNT,0 INITIALIZE COUNT
B OPDCB SKIP BLDL LIST SPACE
SPACE 5
* NEXT, USE OUR MACROS TO GENERATE BLDL LIST SPACE
SPACE 2
* GENERATE LIST HEAD(DISCRIPTOR WORD)
LISTHD BLDLLIST,3,76
* GENERATE EACH LIST ENTRY
LIST CALL
SPACE 5
LIST RETURN
SPACE 5
LIST SAVE
SPACE 5
* OPEN SYS1.MACLIB AND CMACLIB DATA SETS
SPACE 2
OPDCB OPEN ((DCBADD),(INPUT))
TM BPAMDCB+48,X'10' DID DCB GET OPEN OK
BNO EXIT IF NOT OPEN QUIT
SPACE 5
* CONSTRUCT BLDL LIST WITH THE BLDL MACRO INSTRUCTION
SPACE 2
BLDL (DCBADD),BLDLLIST
SPACE 5
* ALL INITIALIZATION AND PROGRAM SETUP IS DONE
* BEGIN BY PRINTING THE FIRST HEADING TO LABEL OUR OUTPUT
SPACE 2
PRINT NOGEN
CFIND XPRNT 0(HEADING),81 PRINT THE HEADING
XPRNT THRESKP,3 SKIP SOME LINES
SPACE 5
PRINT GEN
* DO FIND ON EACH LIST ENTRY TO RECOVER THE ACTUAL TRACK
* ADDRESS OF THE MEMBER INTO THE DCB SO THAT IT CAN BE
* ACCESSED BY QSAM(GET/PUT) OR BSAM(READ/WRITE)
SPACE 2
FIND (DCBADD),(FNDADD),C
SPACE 2
* THE 'C' PARAMETER INDICATES TO THE FIND MACRO THAT IT IS
* DEALING WITH THE LIST PRODUCT OF THE BLDL MACRO INSTRUCTION
* EXECUTION
SPACE 5
* NOW READ THE FIRST BLOCK OF THE RETRIEVED DATA INTO SOME
* INTERNAL BUFFER AREA SO THAT IT CAN BE HANDLED IN SOME
* USEFULL FASHION
SPACE 2
BREAD READ MAC,SF,(DCBADD),(AREA),'S'
SPACE 5
* NOW CHECK THE COMPLETION OF THE I/O INITIATED BY THE
* READ AS NO DE-BLOCKING OF THE RECOVERED DATA CAN BE DONE
* UNTIL THE TRANSFER IS COMPLETE
SPACE 2
CHECK (DECB)
SPACE 2
* THE READ RETURNS THE BLOCK SIZE INTO THE DCB FOR USE
* IN RECORD DEBLOCKING AND OTHER DATA MANAGEMENT
SPACE 5
USING IHADCB,DCBADD NOTE USING ON DCB DSECT
SPACE 5
* NEXT FOUR INSTRUCTIONS ALLOW THE PROGRAM TO CORRECTLY
* ACCESS NEXT BUFFER FULL OF INFORMATION ALSO TO DETECT
* SHORT BLOCKS AT END OF THE CURRENT MEMBER
SPACE 2
LH END,DCBBLKSI GET BLOCK SIZE FROM DCB
L ENTRY,16(DECB) GET IOB ADDRESS
SH END,14(ENTRY) GET RELATIVE END OF NEW BUFFER
AR END,AREA GET ABSOLUTE ENDING ADDRESS
SPACE 2
LR RCRDPT,AREA COPY AREA POINTER INTO RECORD
* POINTER REGISTER
DPRINT MVC PRNTAREA+1(80),0(RCRDPT) DE-BLOCK RECORDS INTO
* 81 BYTE PRINTING BUFFER
PRINT NOGEN
XPRNT PRNTAREA,81 PRINT THE LOGICAL RECORD
PRINT GEN
SPACE 5
LA RCRDPT,80(RCRDPT) UPDATE POINTER BY 80 BYTE LRECL
CR RCRDPT,END FIND OUT IF BUFFER IS EMPTY
BNL BREAD IF AT END READ NEW BLOCK
B DPRINT OTHERWISE-CONTINUE PRINTING
* OUT OF BUFFER AREA
SPACE 10
AEODAD AR BLDLCNT,ONE INCREMENT MEMBER COUNTER
C BLDLCNT,=F'3' IS BLDL SECTION COMPLETE
BL UPDATE YES-GO TO UPDATE FIND MACRO
* POINTER
TM TERMFLAG,X'FF' OTHERWISE-IS TERMINATION FLAG
* SET
BNO DRECTSCH NOT SET-GO FOR DIRECTORY
* SEARCH EXAMPLE
SPACE 2
* OTHERWISE IT IS TIME TO END EXECUTION SO CLOSE THE
* OPEN DATA SET AND RETURN TO THE SYSTEM
SPACE 2
EXIT CLOSE (DCBADD)
SPACE 2
* TERMINATE NORMALLY
SPACE 2
PRINT NOGEN
XRETURN SA=*
PRINT GEN
SPACE 10
UPDATE LA FNDADD,76(FNDADD) UPDATE POINTER TO NEXT LIST
* ENTRY
AR HEADING,NEXTHD UPDATE HEADING POINTER REG
* TO NEXT HEADING
B CFIND DO NEXT FIND, ETC.
SPACE 5
* FOLLOWING SECTION DOES A DIFFERENT TYPE OF FIND MACRO
* INSTRUCTION WHICH FORCES A SEARCH OF THE DATA SETS
* DIRECTORY IMMEDIATELY. IT TENDS TO BE SOMEWHAT LESS
* LESS EFFICIENT(SLOWER) THAN A BLDL-FIND COMBINATION,
* BUT MAY BE EASIER TO ORGANIZE AND CODE.
SPACE 5
DRECTSCH OI TERMFLAG,X'FF' SET TERM FLAG TO STOP
SPACE 5
FIND (DCBADD),NAME,D
SPACE 2
* NOTE THAT THE 'C' PARAMETER IN THE FIND MACRO
* HAS CHANGED TO A 'D'. THIS INDICATES TO THE SYSTEM
* THAT THE MEMBER NAME EXISTS ON A DOUBLE-WORD
* BOUNDRY AND IS A DOUBLE-WORD, LEFT-JUSTIFIED AND
* RIGHT PADDED WITH BLANKS IF NECESSARY.
SPACE 2
PRINT NOGEN
XPRNT DISRCH,81 PRINT NEW HEADING
XPRNT THRESKP,3 SKIP SOME LINES
PRINT GEN
B BREAD GO BACK TO PROCESS AS BEFORE
SPACE 2
LTORG START LITERAL POOL HERE
SPACE 2
DS 0D GET DOUBLE-WORD ALIGNMENT
NAME DC CL8'GET' DEFINE NAME FOR FIND
SPACE 5
BPAMDCB DCB DSORG=PO, INDICATE PARTITIONED DATA SET X
DDNAME=MACLIB, LOGICALLY CONNECT TO DD CARD X
EODAD=AEODAD, ON END-OF-DATA GO HERE X
MACRF=R INDICATE MACRO TYPE
* ALL OTHER REQUIRED INFORMATION WILL BE TAKEN FROM
* EITHER THE DD CARD OR THE DATA SET LABEL.
SPACE 5
CALLHD DC CL81'3********** CALL MACRO LISTING'
DC CL81'1********** RETURN MACRO LISTING'
DC CL81'1********** SAVE MACRO LISTING'
SPACE 2
DISRCH DC CL81'1********** GET MACRO LISTING USING DIRECT FIND'
PRNTAREA DC CL1' ' PRINTING BUFFER
DS 80C RECORD SPACE
TERMFLAG DC X'00' INITIALIZE TERM FLAG TO OFF
THRESKP DC CL3'3 ' LINE SKIPPER
CNOP 0,8 BUFFER ALIGNMENT AND SPACE
BUFFER DS 500D
END BPAMIO
/*
//DATA.MACLIB DD DSN=SYS1.MACLIB,DISP=SHR,UNIT=2314,VOL=SER=PSU01
// DD DSN=CMACLIB,DISP=SHR,UNIT=2314,VOL=SER=PSU02
/*LOG
/*DUMP
//DATA.SYSUDUMP DD SYSOUT=A
/*
//*
//*
//*
//* THIS PROGRAM DEMONSTRATES THE BSAM I/O TECHNIQUES.
//* 1. USES MACROS READ, WRITE, CHECK, POINT, DCB, OPEN,
//* CLOSE, AND A READ-POINT READ FORM.
//* 2. WE WILL READ A CARD FROM THE READER, THEN ECHO
//* PRINT IT TO THE PRINTER. THE CARD IMAGE IS THEN
//* WRITTEN TO DISK USING THE READ-POINT FORM .
//* AT EOD, A POINT MACRO IS ISSUED TO REPOSITION THE
//* DISK SO THAT THE FIRST RECORD CAN BE RECOVERED.
//* AT EOD FROM THE DISK, THE DCBS ARE CLOSED AND
//* CONTROL IS RETURNED TO THE CALLING PROGRAM.
//* 3. TIMEING CONSIDERATIONS: 50 SECONDS,1000 RECORDS
//*
//*
//*
// EXEC ASGCG,PARM.DATA=MAP
//SOURCE.INPUT DD *
TITLE 'BSAM I/O EXAMPLE'
BSAMIO CSECT
* SET STANDARD OS LINKAGE
XSAVE TR=NO
SPACE 5
* OPEN ALL DCBS, CARDCB TO READ DATA, PRNTDCB TO ALLOW WRITE
* TO THE PRINTER, AND THE INTERMEDIATE DISK STORAGE. OUTIN
* OPTION IN OPEN MACRO ALLOWS A WRITE OPERATION FOLLOWED BY
* A READ OPERATION WITHOUT AN ADDITIONAL OPEN-CLOSE SET.
SPACE 5
OPENDCBS OPEN (CARDCB,(INPUT),PRNTDCB,(OUTPUT),DISKDCB,(OUTIN))
SPACE 5
* TEST THE OPEN, IF OPENS DID NOT GO, TERMINATE WITH ABEND
* GIVING USER 500 COMPLETION CODE
SPACE 5
TM CARDCB+48,X'10' DID THE CARD READER OPEN GO
BNO ABTERM ABNORMALLY TERMINATE
TM PRNTDCB+48,X'10' DID PRINTER OPEN GO
BNO ABTERM ABNORMALLY TERMINATE
TM DISKDCB+48,X'10' DID DISK OPEN GO
BNO ABTERM ABNORMALLY TERMINATE
SPACE 5
* READ A CARD ON THE READER
SPACE 5
LA 5,0 SET UP CARD COUNTER
READ READ CARDECB,SF,CARDCB,BLOCK READ A CARD IMAGE INTO BLOC
SPACE 5
* ISSUE CHECK TO TEST COMPLETION OF I/O OPERATION
SPACE 5
CHECK CARDECB CHECK FOR I/O COMPLETION
SPACE 5
LA 5,1(5) COUNT CARDS COMMING IN
* DO A WRITE TO PRINTER FOR ECHO PRINT
SPACE 5
WRITE DISKDECB,SF,DISKDCB,BLOCK WRITE TO DISK FROM BLOCK
SPACE 5
* ISSUE CHECK AS ABOVE
SPACE 5
CHECK DISKDECB IS I/O OPERATOON COMPLETE
SPACE 5
* SAVE CARD IMAGE ON DISK
SPACE 5
WRITE PRNTDECB,SF,PRNTDCB,BLOCK-1 WRITE TO THE PRINTER
SPACE 5
* CHECK AS BEFORE
SPACE 5
CHECK PRNTDECB IS I/O OPERATION COMPLETE
SPACE 5
B READ LOOP TO GET ALL DATA
SPACE 5
* PRINT A LITERAL INDICATING EOD ON CARD READER, BEGIN
* READING FROM THE DISK
SPACE 5
ENDATA WRITE PRNTDEC1,SF,PRNTDCB,LITERAL
SPACE 5
* ISSUE CHECK AS ABOVE
SPACE 5
CHECK PRNTDEC1
SPACE 5
* SINCE DISK DCB WAS NOT CLOSED AT EOD A POINT MACRO MUST
* BE ISSUED TO REPOSITION THE THE DISK AT THE FIRST RECORD
SPACE 5
POINT DISKDCB,POINT REPOSITION DISK TO GET 1ST REC.
SPACE 5
*
* NOW READ FROM DISK AND WRITE TO PRINTER USING SAME DATA
*
SPACE 5
DISKRD READ DISKDEC1,SF,DISKDCB,BLOCK
SPACE 5
* CHECK FOR END OF I/O OPERATION
SPACE 5
CHECK DISKDEC1 CHECK I/O COMPLETION
SPACE 5
* WRITE TO PRINTER AS CARDS COME OFF DISK
SPACE 5
WRITE PRNTDEC2,SF,PRNTDCB,BLOCK-1
SPACE 5
* CHECK I/O DONE
SPACE 5
CHECK PRNTDEC2 I/O COMPLETION CHECK
SPACE 5
BCT 5,DISKRD WRITE ONLY THE CARDS THERE
SPACE 5
END CLOSE (CARDCB,,PRNTDCB,,DISKDCB) CLOSE ALL ACTIVE DCBS
* SET UP RETURN TO CALLER (OS)
XRETURN SA=*,TR=NO
SPACE 5
ABTERM ABEND 500,DUMP GET ABEND DUMP IN CASE OF TROUBL
DC 0F'0'
POINT DC X'00000100' CONTROL WORD FOR POINT MACRO
DC C' ' ASA CARRIAGE CONTROL CHAR.
BLOCK DC 80C' ' BUFFER AREA
LITERAL DC C'-REPEAT READ DATA FROM DISK',80C' '
SPACE 5
CARDCB DCB RECFM=F, DATA FORMAT IS FIXED X
BLKSIZE=80, PHYSICAL BLOCK SIZE IS 80 BYTES X
LRECL=80, LOGICAL RECORD SIZE IS 80 BYTES X
DDNAME=INPUT, LOGICALLY CONNECT TO INPUT DATA S
EODAD=ENDATA, ON EOD GO TO ENDATA X
SYNAD=ABTERM, I/O ERROR GO TO ABTERM X
MACRF=(R), BSAM I/O USES READ/WRITE MACROS X
DSORG=PS DATA SET ORGANIZATION
* PHYSICAL SEQUENTIAL.
SPACE 5
PRNTDCB DCB RECFM=FA, RECORD FORMAT FOR OUTPUT X
BLKSIZE=80, PHYSICAL BLOCK SIZE X
LRECL=80, LOGICAL RECORD SIZE X
DDNAME=FT06F001, CONNECT TO OUTPUT DEVICE X
SYNAD=ABTERM, I/O ERROR GO TO ABTERM X
DSORG=PS, DATA SET ORGAN. IS PHYS. SEQU. X
MACRF=(W) END PRINTER DCB
SPACE 5
DISKDCB DCB RECFM=F, RECORD FORMAT FOR DISK I/O X
BLKSIZE=80, PHYSICAL BLOCK 80 BYTES X
LRECL=80, LOGICAL RECORD LENGTH X
DDNAME=FT09F001, LOGICALLY CONNECT TO DEVICE X
EODAD=END, ON EOF GO TO END X
SYNAD=ABTERM, PERMANENT I/O ERROR GO TO ABTERMX
DSORG=PS, DATA ORGAN. IS PHYS. SEQU. X
MACRF=(RP,W) READ WRITE COMBINATION
SPACE 5
* END OF DCBS FOR I/O OPERATION
END BSAMIO
/*
//DATA.FT09F001 DD UNIT=SYSDA,SPACE=(CYL,1),DSN=&&TEMP, X
// DISP=(NEW,DELETE)
/*LOG
//DATA.XSNAPOUT DD SYSOUT=A
//DATA.SYSUDUMP DD SYSOUT=A
//DATA.INPUT DD *
I AM THE FIRST CARD TO BE READ
I AM THE SECOND CARD TO BE READ
I AM THE THIRD CARD TO BE READ
CARDS ARE ECHO PRINTED AND WRITEN TO DISK
THEN ARE READ FROM THE DISK AND PRINTED AGAIN
THIS IS THE LAST CARD
/*
CS102AS1 - 01

COMPUTER SCIENCE 102 - ASSIGNMENT 1


DUE __________

This assignment covers simple input/output, binary arithmetic for


fullword and halfword numbers, and basic data movement and testing codes
for handling such numbers.

AI. BASIC PROGRAM

The basic program should do the following:

A. Read a card (XREAD), and print it out immediately (called an ECHO


CHECK - standard practice). The card contains 5 numbers punched on it,
which are to be scanned and converted (XDECI) to binary form, and placed
in 5 consecutive fullwords in memory. Print the hexadecimal values of
these 5 words (20 bytes), using XDUMP.

B. Perform the following computations in a straightforward way,


storing each result in name given, using RX instructions where you can):
1. F = A + B + C
2. G = -A - B - C (LCR useful)
3. H = A * B * E
4. I = A / B (be careful, watch for negative #'s)
5. J = MOD(A,B) (i.e., remainder from# 4.)
6. K = ((A + E) * (B - C)) / D

C. Print all of the above values (F - K) in hexadecimal (XDUMP), then


also print them in decimal, using XDECO and XPRNT (print their values
an headings all on one line.

D. According to the sign of result H, print one of the 3 messages:


H IS LESS THAN ZERO, H IS GREATER THAN ZERO, H IS ZERO.

II. EXTENDED VERSION OF PREVIOUS PROGRAM

Modify the previous program (which only had to read 1 card), to


read cards and follow the actions above for each card, until there are
no more cards (END-OF-FILE). Keep a count of the number of cards read,
and print out this total number before ending the program.

III. HALFWORD VERSION OF PROGRAM II.

Modify program II to use halfwords wherever possible (i.e., store


A - K as halfwords, use AH instead of A, etc. Watch out for divides,
since no DH instruction exists). How much storage is saved?

IV. REGISTER VERSION OF PROGRAM II.

Change program II by saving all values A - F in registers, then


use RR instructions rather than RX instructions. Do XDECI commands
directly into registers where the values are saved. A useful trick may
be to NAME the registers symbolicly:
RA EQU 3 REGISTER WHERE VALUE A KEPT
XDECI RA,CARD CONVERT VALUE A INTO REG RA
This technique will make it clear which value you are using (note
that any register reference can be symbolic to an EQU symbol).
CS102AS1 - 02

V. WHAT TO HAND IN

By using the BATCH feature in ASSIST, you can run several programs
in one run. Turn in one run, with each of the programs II, III, and IV
shown in execution, with results and output as requested. The run
will use control cards like:

// EXEC ASACG,PARM=BATCH
//SYSIN DD *
$JOB ASSIST PROGRAM VERSION II
..... program II
$ENTRY
..... test data
*** repeat above, starting at $JOB, for programs III and IV.
/*

The following test data should be used for each program:

A B C D E
5 2 -4 -2 2
-2 -1 10 1 -1
4096 1 1 -1 -1

Note that the columns they are punched in should not matter.
CS102AS1 - 03

COMPUTER SCIENCE 102- ASSIGNMENT 2

This assignment uses the concept of indexing into an


array of elements.

I. BASIC PROGRAM

A. Read a card (and echo print) containing a maximum of 20


numbers. Convert the numbers to hex(XDECI) and store them in
successive fullwords in memory. Use a loop to eliminate redundant
coding. Then, for each card, find the maximum value and the
minimum value, printing out these numbers with appropriate
labels.

B. Form of data
1. Each card contains a maximum of 21 numbers, where
the first number =the number of numbers on the card. You will
need the first number for a counter in the loop in part A.
2. There are an unspecified # of data cards. i.e.,
make your program general to accept any # of data cards.

II. DATA FOR YOUR PROGRAM

3 56 76 -76
7 11 123 432 -123 748 -9087 -0
6 33 33 45 10 6 90
4 145 1024 6698 -1024 345
$
CS102FP1-01
COMPUTER SCIENCE 102 FINAL PROJECT
DUE ____________
Pages 1-8

I. INTRODUCTION

One of the concerns of a programmer is to design computer


systems, languages, and translators for the languages. The monitor
is that part of the system which controls the running of the
translators and interpreters.It examines the JCL to determine the
beginning and end of a job.
The function of the translator, or assembler, is to accept as
input a source language(e.g. IBM 360 Assembler Language) and
generate equivalent code in some target language (e.g. machine
language). This code is called object code. In addition to
translating, the assembler should have the capability of detecting
syntactic errors in the source listing. The interpreter however
executes the intructions of the target language.

II. LANGUAGE FORMAT

A. Control Cards

1. Control cards will be used in TRIVIAL. These cards direct the


monitor about how to process a job. On the IBM s/360 these cards are
called Job Control Language cards(JCL). Also included with the JCL
cards will be control cards used by the assembler.

2. These cards indicate the start of a program, end of assembly


and start and end of data.

B. Assembly Language

There are two types of instructions:


1. Machine instructions-can be executed by the computer hardware
The instruction consists of a mnemonic opcode followed by one or
more operands. A label field is optional. All are in free format,
i.e. one or more blanks in between.

ex- LABEL OPCODE OPERAND(S) COMMENT


separated by
commas

2. Assembler Instructions-or pseudo-instructions, or pseudo-ops.


These are instructions to the assembler. Examples are reserving
storage(DS), reserving storage with initial value(DC), setting the
location counter (ORG and START instruction ).
##
CS102FP1-02

C. Machine Code (or Object Code)

1. Machine code is the output of the assembler. The format of the


code varies from machine to machine, but in general consists of the
following:

OPCODE- coded form of the operation to be performed.


REGISTER-part of an operand
ADDRESS-part of the operand. It can consist of

a. base and displacement 10(2)


b. an actual address 100
c. an indirect address
d. an indexed register form 0(11,12) reg 11 index
e. shift counter SLA 2,4
f. immediate operand CLI 2,x'F0'

III. IMPLEMENTATION

A. Monitor

1. The monitor examines the control cards to determine the start


and end of a job.

2. The monitor usually examines switches to determine what to do.


e.g. If the assembler sets the switch for valid assembly done.
the monitor then calls for execution of the program.
3. The monitor skips to the next job if the current job can not
be executed as shown by flags.(may skip data cards)

B. Assembler

Assemblers vary as to the number of passes it performs. The number


is a function of the size of the machine, the speed(wanted) and the
complexity if the source language. We will be interested in a 2-pass
assembly, which is most common.

1. The first pass

a. In the first pass, the opcodes are checked for validity


(e.g. an opcode may not exist or may not be implemented on a
certain machine).

b. Symbols (statement labels,variable names) are entered in the


symbol table.

c. Storage is reserved for constants. Note that some storage


requested must be on a specified boundary as in the 360(fullword,..)
##
CS102FP1-03

d. The location counter is incremented according to the length


of the instruction or storage(allocated). Note instructions may
vary in length for some computers (like the 360).

e. The source statements are saved so that a listing may be


printed at a later pass. Information added to each source statement
would be the opcode type, statement number, the location counter
value, or anything else.

f. Assembler instructions are recognized and appropriate


action is taken.

g. A copy of these source statements may reside in core if there


is enough space, or may be put on disk or magnetic tape.

2. The second pass-first it must retreive the source statements fo


further processing.
a. The operands are then processed according to their type &
and type of op-code they are with.
b. Object code is then created for the instructions and data
definitions; It then resides in core or is put on disk or tape.

c. A listing is printed. It contains the location counter,


generated code, and source statment for each source statement.
Error messages are also printed on the listing.

d. The errors to check for (assembly time errors)


1. multiply defined symbols
2. undefined symbols
3. invalid opcode
4. invalid values e.g. if a machine has 16 registers and
program uses register 17
5. invalid labels-in Fortran, a label of 9 letters

3. During assembly a table (which will remain fixed) will contain


all of the legal opcodes. Information included could be the name
of the opcode (mnemonic ) and type (machine or pseudo-op).

4. A symbol table is also formed. It contains the symbol, the


location counter value, and maybe other flags. Each symbol is entere
when it appears and when a reference is made in an operand the
symbol is looked up and the value obtained.
##
CS 102FP1-04

C. Interpreter/Execution monitor

1. If the target language is executable of the 360, then merely


branch to the program.

2. Otherwise, initialize the program counter (location counter)


to BEGIN and execute the object code using pseudo registers and
pseudo storage. You will also need a Program Status Word(PSW)
containing necessary flags.Execution is as follows:

1. Fetch the next instruction & increment location counter


according to the length of the instruction
2. Decode the instruction & evaluates address(es).
3. Execute the instruction
4. Go to 1.

3. During execution there is to be error checking for:

a. reading beyond end of file

b. executing too many instructions (a limit will be set on


the job card)
c. invalid op-code (by branching into data area)

d. address out of range of program

4. A dump should be provided at the end of each job. Information


included will be the value of the program counter, the contents of th
registers, and the storage.
##
CS 102FP-05

IV. FLOWCHARTS

A. General Flow of Monitor

TRIVIAL
MONITOR

read a card

(flush)

is it /*,$*, ----------->$* or anything else


or job card
?
/*-------------->print end of
processing message

job card STOP

PASS 1
assemble opcode,res,
create symbol table

call TRIVIAL assembler

PASS 2
assemble operands

EXECUTE
execute assembled call TRIVIAL interpreter
program
##
CS102FP1-06

B. TRIVIAL assembler-Initialization and Pass 1

TRIVIAL ASSEMBLER

initialize symbol
table to blanks

set flag that prog


is executable

read next card <------------------ B

END card ---------->yes -------> Pass 2

no

is there a
a label?
------> yes ---> LOOK UP ---> in ---->no exec
symbol set flag
not in

enter symbol & set flag


displacement in print err
table.Note whether message i
an RES. PASS 2.

determine type RES?


of stmt;create convert operand to binary
partial obj. code
update loc. update location counter fo
counter illegal opcode proper boundary(if necessar

B store number

set flag for update loc counter


.false. for
execution B

B
##
CS102FP1-07

TRIVIAL Assembler Pass 2

PASS 2

E ---------> get next card image

end stmt? --------> yes ----> return to Monitor

no

process operands
using LOOK UP

illegal operand? -------> yes -----> set flag


also flag=.fa
no for execute

finish object code


for stmt D

D ------> print card image&


error message(s)

update loc counter

LOOK UP

find symbol
in table? -----> yes ----> return displacement return
& flag

no

RETURN

##
CS102FP1-08
EXEC

no <----------------- execute=.false.? ---> yes ---> print terminatio


message

set up psedo-reg
& storage flush cards unti
$*

execute instructions

wait stmt? ------> no TRIVIAL

yes
Print dump

Return to monitor

##
CS102FP2 - 01

V. SPECIFIC LANGUAGE DETAILS FOR THE TRIVIAL SYSTEM

This section describes the exact details for the various parts of
the TRIVIAL system. The monitor (main program) processes various
control cards, which direct further processing. The TRIVIAL assembly
language is converted by the assembler into machine code for a computer
system called the SIGMA 4.5 . The interpreter portion then simulates
the operation of the SIGMA 4.5, using S/360 instructions.

A. CONTROL CARDS

1. JOB CARD - SHOWS BEGINNING OF TRIVIAL PROGRAM

This card has the following format (starting in column 1):

$$JOB jobname number

$$JOB identifies this as a JOB card


jobname is a sequence of up to 20 nonblank characters which identify
this JOB.
number gives a maximum limit on the number of instructions which can
be executed by the user program on the simulated SIGMA 4.5 .

There may be any number of blanks before and after jobname, i.e.,
these cards are FREE FORMAT.

2. $* CARD - INDICATES END OF A JOB

This card is of following format, beginning in column 1:

$* rest of card is ignored.

3. OVERALL DECK SETUP

The input to TRIVIAL is made up of 1 or more JOBS, each as follows:

$$JOB jobname#1 # instructions limit for job 1


..... TRIVIAL assembly program
END card (showing end of assembly program)
..... 0 or more data cards to be read by program
$*

Note that any user program cannot be allowed to read beyond a $*


or $$JOB card into the next user's program. Test decks will be
supplied to the students.
CS102FP2 - 02

B. TRIVIAL ASSEMBLY LANGUAGE

The following describes the format of a TRIVIAL assembly program,


giving in detail the forms of mnemonic opcodes, operands, and labels.
NOTE: the reader should probably first consult Part C, since it gives
the machine code formats used by the SIGMA 4.5 .

1. MACHINE INSTRUCTIONS

There are essentially two formats for machine instructions:


RX format, which is similiar to S/360 RX format, and RI format, which
operates on a register and an immediate operand field.

a. RI INSTRUCTIONS

These instructions follow the format below:

label opcode register,immediate

label is an optional statement label


opcode is one of the immediate operand instructions (like AI)
register is a decimal number from 0 - 15 (no leading zeroes.
immediate is a signed or unsigned decimal number from -1048576
to +1048575 to be used as an immediate value.

b. RX INSTRUCTIONS

This format is basically like S/360 RX format, with some


restrictions plus an addition for indirect addressing.

label opcode register,address

label is optional statment label


opcode is one of the RX opcodes, like AW.
register is decimal number from 0 - 15 (like register in RI above).
address represents an address in memory, and may have any of the forms
given below. Note that symbol represents any legal label,
n represents any unsigned number representable in 17 bits,
and index represents any decimal number from 0 to 7, giving
an index register. The formats are then:

symbol implying direct addressing, index = 0


symbol+n " " " " " " "
symbol-n " " " " " " "
n " " " " " " "
any of the above followed by (index), i.e, symbol+n(index)
implying index register of given value.
any of the above preceded by *, indicating INDIRECT ADDRESS.

Any place symbol appears above, the character $ can appear,


which refers to the location counter value (like S/360 *).

EXAMPLES: AI 0,1000 ; AW AREA+12(7) ; BCS 8,LOOP1 ;


BDR 2,LOOP ; LW 1,*VECTOR+5(2) , BCS 15,$+2
CS102FP2 - 03

2. ASSEMBLER INSTRUCTIONS (PSEUDO OPS)

a. ORG - sets location counter to value specified in operand,


which may be any of the forms symbol, symbol+n, symbol-n, n, $, $+n,
$-n allowed by first section of RX operand format.

EXAMPLES: ORG LABEL+2

NOTE: may not have a LABEL field specified, and any symbols used must
be previously defined.

b. END - signifies end of TRIVIAL program, may have no label.

c. RES (REServe) - similiar to S/360 DC and DS, reserves storage


and may fill in constants. It may have any r of the following
forms:

label RES number

The statement above reserves number words of storage, number being


a positive integer from 0 to 1023 .

label RES W'number'

This statement causes the decimal number (signed/unsigned) to be


converted to binary and assembled at the given location. (corresponds
to S/360 DC F'number' ).

label RES numberW'number'

The first number gives a duplication factor from 1 - 1023, and


causes that many copies of the constant to be assembled (like S/360
DC numberF'number' ).

3. MISCELLANEOUS

The label field may contain any label usable on S/360, except that
$. @, # are excluded , i.e., a label begins with a letter, and then
containues with 0-7 letters/digits.

NOTE THAT ALL STATEMENTS ARE FREE FORMAT: they may have 1 or more
blanks between fields, but no blanks inside each field.
CS102FP2 - 04

C. DESCRIPTION OF THE SIGMA 4.5 COMPUTER SYSTEM

1. MEMORY, REGISTERS, AND PROGRAM STATUS BITS

The MEMORY of the SIGMA 4.5 (model W72), is composed of 1024 WORDS,
(addressed at locations 0, 1, 2, ..... 1023). Each is 32 BITS long.

The SIGMA 4.5 contains 16 REGISTERS, each 32 bits long, numbered


from 0 to 15. Of These, all may be used for holding operands and doing
arithmetic, while registers 1-7 only may be used as INDEX REGISTERS in
address calculations.

A PROGRAM STATUS WORD is used to keep the current status of the


SIGMA 4.5 computer. Of the 32 bits in this word, the following uses
are made of:

BITS NAME USAGE

0-1 CONDITION CODE exactly like S/360 condition code.


2-14 UNUSED
15-31 PROGRAM COUNTER 17-bit address of the next instruction in
memory to be executed.

NOTE: all numbers are encoded as 32-bit signed numbers, using


two's complement notation.

2. INSTRUCTION FORMATS, ENCODING, ACTIONS

The SIGMA 4.5 has two basic instruction formats:


RX (Register to Storage, Indexed, almost exactly like S/360 RX).
RI (Register Immediate - uses Immediate operand in instruction).

The layout of the RX-format instruction is as follows:

0 0 0 0 0 0 0 0 0 0 1 1 1 1 1 1 1 1 1 1 2 2 2 2 2 2 2 2 2 2 3 3
BIT # 0 1 2 3 4 5 6 7 8 9 0 1 2 3 4 5 6 7 8 9 0 1 2 3 4 5 6 7 8 9 0 1
- ------------- ------- ----- ---------------------------------
NAME I OP R X M
- ------------- ------- ----- ---------------------------------
SIZE 1 7 4 3 17 bits

The various fields above are used as follows:

I INDIRECT ADDRESS: 0 => direct addressing, 1 => indirect (see below)

OP OPCODE: number from 0 to 127 noting which operation to be done.

R REGISTER: number from 0 - 15 specifying a register (usually), or


sometimes a Branch Mask or other value.

X INDEX REGISTER: number from 0-7 specifying an index register, with


0 specifying NO indexing.

M MEMORY ADDRESS: number from 0 - 128K, specifying the actual


location in memory of an operand.
CS102FP2 - 05

EFFECTIVE ADDRESS CALCULATION: RX INSTRUCTIONS

In general, the SIGMA 4.5 calculates an EFFECTIVE ADDRESS (EA)


using the I, X, and M fields in the procedure below, then operates in
some way on the word at the EA and the word in register R.

The EA is determined by the following steps:

First, the M field is taken either as the address of a word in


memory, or the address of an address of a word in memory, depending on
the I bit, as follows:

If I=0, then EA1 = M (Direct addressing)

If I=1, then EA1 = low-order 17 bits of word at location M.


(This is called INDIRECT ADDRESSING).

Now, EA1 is either taken as the EA, or is modified by adding to


it the contents of an index register X, as follows:

If X=0, EA = EA1 (no indexing).

If X ^= 0, EA = EA1 + contents of register X. NOTE: EA1 is a


positive 17 bit number, while value in register X may be either positive
or negative. Thus, if M=100, X=1, and register 1 contains -10, the
location referenced should be 90 = 100 + -10 .

NOTES AND GENERAL INFORMATION: The SIGMA 4.5 stops at doing only 1
indirect address step, and thus uses ONE-LEVEL INDIRECT ADDRESSING. Some
other machines would extend this by testing the I bit in a word, and if
on, perform another indirect addressing step, until a word was found
wit1out I=1, in which case that word would have the address of the word
finally used as an operand. This type is called MULTILEVEL or CASCADED
INDIRECT ADDRESSING.

Also, since SIGMA 4.5 adds the index register X AFTER any indirect
addressing is done, it is called POST-INDEXING. Some machines perform
indexing before indirect addressing, and are thus called PRE-INDEXING
systems.

The RI (Register Immediate format) instructions are basically


similiar to the RX, except:

The I bit is ignored.

The X and M fields together form a two's-complement, signed, 20-bit


number, which is extended to 32 bits, then used as the operand in
combination with the register R. This allows numbers from -1048576 to
+1048575 to be specified in the instruction.
CS102FP2 - 06

3. OPCODE TABLE

The following table lists the mnemonic opcode for each machine
instruction, the machine code for each operation (hexadecimal, 7-bits),
the instruction format (RX, RI), whether or not the instruction sets the
condition code, and finally, exactly what the instruction does. If
an instruction corresponds to an S/360 instruction, it sets the CC in
the same way, unless otherwise specified.

NAME CODE TYPE CC SET ACTION


---- -- -- --- -----------------------------------------------
AI 20 RI YES ADD IMMEDIATE : add Immediate field to reg R.
LI 22 LI NO LOAD IMMEDIATE : extend immedaite field to 32
bits, load that value into register R.
MI 23 RI YES MULTIPLY IMMEDIATE : extend immedaite field,
multiply with register R, truncate to botain
low-order 32 bits in R, setting CC for result.
WAIT 2E RX NO WAIT: execution terminates, EA placed into
specified register as a completion code.

AW 30 RX YES ADD WORD: like S/360 A.


CW 31 RX YES COMPARE WORD : like S/360 C.
LW 32 RX NO LOAD WORD : like S/360 L.
MTW 33 RX YES MODIFY AND TEST WORD: the R field does not
refer to a register; instead, it is taken as
a signed, 4-bit number ( -8 to +7), extended
to 32 bits, and added to word at EA, setting CC
STW 35 RX NO STORE WORD : like S/360 ST.
MW 37 RX YES MULTIPLY WORD: like MI, except operand taken
from EA location instead of immediate field.
SW 38 RX YES SUBTRACT WORD : like S/360 S.

BDR 64 RX YES BRANCH ON DECREMENTING REGISTER: Modify reg


R by subtracting 1. Set CC according to result
and branch to EA location if result > 0.
AWM 66 RX YES ADD WORD TO MEMORY : add contents of register
R to word at location EA.
BCS 69 RX NO BRANCH CONDITIONS SET : uses R as a Mask field
to branch or not : same as S/360 BC
RD 6C RX YES READ DIRECT : read a card (set CC = 0), if no
more remain, CC = 1. A single signed number
anywhere on the card is converted to binary and
placed in the register specified by R. EA is
totally ignored, and may have any value.
WD 6D RX NO WRITE DIRECT : the number in register R is
converted to decimal and printed.
$$JOB LEGALOPS1 0
***********************************************************************
********** ATTENTION: USE LARGE PARAMETER IF YOU ARE GETTING AS999,
********** SIMILIAR MESSAGE ABOUT EXCEEDING SPACE - SEE ASSIST MANUAL.
********* NOTE EXTENSION/EXTENSION/EXTENSION: FINAL PROJECTS DUE AT *
********* 11AM WEDNESDAY, NOT MONDAY. *
***********************************************************************
* THIS PROGRAM CONTAINS NO ERRORS. IT IS A TEWST FOR THE
* RECOGNITION OF ALL LEGAL OPCODES. THE PROGRAM WILL NOT
* BE EXECUTED
AI 1,-2
AW 1,3(2)
LI 1,2
CW 1,2
LABEL MI 1,2
LW 1,3(2)
MTW 1,3(2)
STW 1,2
ORG LABEL
MW 1,2
SW 1,2
BDR 1,3(2)
AWM 1,3(2)
BCS 1,3(2)
RD 1,3(2)
WD 1,3(2)
WAIT 2,2
WORD RES 2
RES W'2'
RES 2W'2'
END
$*
$$JOB LEGALOPS2 0
* THIS PROGRAM TEST THE RECOGNITION OF LEGAL OPERANDS
MI 1,2
MI 1,-2
MI 1,+2
AW 1,2
AW 1,*2
AW 1,2(3)
AW 1,*2(3)
AW 1,$
AW 1,*$
AW 1,$(3)
AW 1,*$(3)
AW 1,$+2
AW 1,*$+2
AW 1,*$+2(3)
AW 1,$+2(3)
AW 1,SYMBOL
AW 1,*SYMBOL
AW 1,SYMBOL+7
AW 1,*SYMBOL+7
AW 1,SYMBOL+1(2)
AW 1,*SYMBOL+1(2)
AW 1,*SYMBOL-1(2)
SYMBOL RES 5
END
$*
$$JOB PASS1ERR 0
* THIS PROGRAM CONTAINS ERRORS IN LABELS AND ASSEBLER OPS
LI 5,0
LI 3,0
SWR 3,0(2) ILLEGAL OPCODE
AI 2,4
LOOP MI 2,CONST
7LAB SW 2,CONST+1 ILLEGAL LABEL
STW 2,SAVE UNDEFIND SYMBOL
ORGLINE ORG LOOP NO LABEL ALLOWED
RD 3,AREA1 UNDEFINED LABEL
STW 3,SUM
OUT WD 3,AREA
AWM 3,SUM
BRANCH BDR 2,LOOP
READ 2,AREA ILLEGAL OPCODE
BADLABEL LW 5,SUM LABEL TOO LONG
OUT WD 5,SUM MULTIPLY DEFINED LABELS
* NOTE- BLANK CARD FOLLOWS

MTW 0,OUT
ORG $-100 ORG TO NEGATIVE ADDRESS
SUM RES 1
RES W'-9999'
* THE FOLLOWING RES STMTS ARE IN ERROR
AREA RES 1100 TOO LARGE
RES 0W'1'
RES 10W
RES W'10 '
RES W'
RES W'12345A'
RES -10W
THISLABELISTOOLONG ANDSOITTHISOPCODE
MTW 0,0
ENDLABEL END ILLEGAL LABEL FIELD
$*
$$JOB PASS2ERR 0
* THIS PROGRAM CONTAINS ERRORS IN THE OPERANDS
* RI FORMATS
* OMMITTED OPERAND FOLLOWS
AI
LI 16,0 REGISTER TOO LARGE
LI 15 OPERAND OMITTED
LI 15, OPERAND OMMITTED
LI ,0 OMITTED REGISTER
LI 15,524288 TOO BIG
LI 15,-524289
LI 15,524287 LEGAL
LI 15,-524288 LEGAL
LI 15,0, INVALID DISPLACEMENT
*
* RX FORMAT
AW 16,0 REGISTER TOO LARGE
AW 15
AW 15, OMITTED OPERAND
AW 15,* OMITTED OPERAND
AW 15,*(1) OMITTED SYMBOL
X AW 15,5+X WRONG ORDER
AW 15,5+1
AW 15,X+ ILLEGAL OPERAND
AW 15,X+(3)
AW 15,*X-(3)
AW 15,X-(3,
AW ,X-X OMITTED REGISTER
AW 15,0(8)
AW 15,X+5(8) INDEX ERG TOO LARGE
AW 15,$(8) INDEX REG TOO LARGE
AW 15,$-2,
AW 15,0(7)+
AW 15,$-20000 BAD ADDRESS
AW -1,0 ILLEGAL REG SPECIFICATION
AW 0,-1
AW 0,1(-1)
AW 0,131071 LEGAL
AW 0,131072 TOO BIG
END
$*
$$JOB READBEYONDEND 100
LOOP RD 0,0 READ A CARD
WD 0,0 WRITE IT BACK OUT
BCS 15,LOOP LOOP FOREVER, OR UNITL CARDS RUN OUT
END
1 THIS IS THE ONLY DATA CARD
$*
$$JOB PROGRAMLOOPS 10
BCS 15,$ SAME AS B *
END
$*
$$JOB BRANCHTOBADOPCODE 5
BCS 15,$+1 BRANCH TO NEXT STMT
RES W'0' NOT A LEGAL OPCODE
END
$*
$$JOB ADDRESSOUTSIDE 5
LI 1,100000 BIG NUMBER
SW 0,$(1) TOO BIG - ADDRESSING ERROR
END
$*
$$JOB ADDRESSINGTEST 20
LI 1,1 FOR INDEXING
LI 2,-1 FOR INDEXING
LW 8,X(1) LOAD AN 8 INTO R8
LW 7,X(2) LOAD A 7 INTO R7
LW 6,*X LOAD A 6 INTO R6
LW 5,*X(1) LOAD A 5 INTO R5
LI 3,512 ANOTHER INDEX VALUE
AWM 1,*Y(2) BOMB OUT OF RANGE
WAIT 0,0 NEVER REACH HERE
*
RES W'7'
X WAIT 0,X6 FOR INDIRECT ADDRESSING
RES W'8'
X6 RES W'6'
RES W'5'
Y RES W'10000000' BIG
END
$*
$$JOB COMPUTEXCUBED 100
RD 0,0 GET NUBMER IN
STW 0,X SAVE THE VALUE
LOOP MW 0,X MULITPLY 1 TIME
MTW 15,CNT DECREMENT CNT TO CNT-1
BCS 7,LOOP BRANCH IF NOT ZERO
WD 0,0 WRITE RESULT OUT
X RES 1
CNT RES W'2'
END
$*
CS102M1 - 01

COMPUTER SCIENCE 102 - RUN ASSIGNMENT

1. Punch up the following program and run:


// YOUR JOB CARD
// EXEC ASACG
//SYSIN DD *
MAIN CSECT
* THIS PROGRAM ILLUSTRATES XDUMP AND PROGRAM INTERUPTION
BALR 12,0 THESE TWO STMTS ARE FOR
USING *,12 COMMON LINKAGE CONVENTIONS
LA 3,CARD PTR TO CARD IMAGE READ IN
XREAD CARD,80 READ DATA CARD
XPRNT CARD,80 ECHO PRINT
XDECI 4,0(3) CONVERT DECIMAL TO INTERNAL HEX
XDECI 5,0(1) CONVERT NEXT # ON CARD
* THE NEXT STMT PRINTS CONTENTS OF USERS REGISTERS.
* NOTE REG 4,5
XDUMP
B 4000 ABEND-BRANCH OUT OF PROGRAM
CARD DS 80C
END
/*
//DATA.INPUT DD *
100 -1024
/*

2. This next program is a batch run of 5 jobs, each terminating


abnormally. The program is stored on RJE file. Punch up the
follwoing cards EXACTLY to run the program
// YOUR JOB CARD
// EXEC ASACG,PARM=BATCH
//SYSIN DD *
/*INCLUDE RAB01.BATCH
/*

3. To merely get a listing of the prog in 2., use the following cards:
// YOUR JOB CARD
/*INCLUDE RAB01.PRINT
/*INCLUDE RAB01.BATCH
/*
CS102M1 - 02

A GUIDE TO S/360 MNEMONIC OPERATION CODES

I. INTRODUCTION

The beginning programmer facing the variety of operations available


on a modern large computer is often overwhelmed by the large number of
operations and complexity thereof. In some cases, a few hints can be
helpful in learning and remembering the names, purposes, and usage of
the various operations. In particular, certain properties of S/360
menemonics can help the learner a great deal. Some of them are:

A. REGULAR SCHEME FOR NAMING OPCODES

In general, a fairly coherent and regular method has been used in


naming operations. In some cases, it is possible to determine the bit
pattern and operation of a mnemonic just from looking at it. Related
operations usually have related mnemonics.

B. COMMONLY USED MNEMONICS

The designers apparently went to some effort to make the most often
used mnemonics the shortest and easiest to remember. Most of these have
1 or 2 letter mnemonics.

II. NAMING OF MNEMONIC OPCODES

A. VERB (MODIFIER) (DATA TYPE) (MACHINE FORMAT)

The mnemonics generally follow the format given above, with the
VERB always present, while the others may be omitted. The general
meanings of the fields are given below.

1. VERB: specifies a general type of action performed, such as


addition, subtraction, comparison, data movement.

2. MODIFIER: specifies a modification of the general action given


by the verb, such as logical addition (rather than algebraic), moving
multiple registers rather than single ones, and performing different
actions while loading one register into another.

3. DATA TYPE: specifies the type of data being operated on, and is
usually the same letter as that used to define a constant of the given
type, such as H (halfword), P (packed decimal), etc.

4. MACHINE FORMAT: gives the type of machine instruction being


used. This is most typically done by adding R or I to an RX mnemonic to
obtain a similiar RR or SI instruction.

In general, the RX instructions, which are the heaviest used, have


the shortest mnemonics, and most of the other instructions can be built
from them by adding more letters.
CS102M1 - 03

B. EXAMPLES OF COMMONLY USED MNEMONIC ELEMENTS

The following sections explain the common mnemonic elements.

1. VERBS

VERB MEANING, COMMENTS


---- --------------------------------------------------------------

A Add two numbers (which may be binary, decimal, or floating)


B Branch to another instruction (like GOTO)
C Compare two fields (numbers or character strings)
CV ConVert a number from one base to another
D Divide one number by another
L Load a quantity into a register from another or from storage
M Multiply one number by another
MV MoVe information from one area in storage to another.
N aNd information together (logical AND)
O Or information together (logical OR)
S Subtract one number from another
ST STore a register (or part of one) into storage
X eXclusive or information together (logical exclusive OR)

For example, note that a given VERB may begin many instructions,
which immediately shows they are related to each other. For example,
the following are all comparison operations: C, CD, CE, CH, CL, CP,
CR, CDR, CER, CLC, CLR.

2. MODIFIERS

The following lists verbs and their common modifiers.

VERBS MODIFIERS MEANING, EXAMPLES


-------- -------- ----------------------------------------------------

A,C,S L Logical addition, comparison, or subtract is used


rather than algebraic. EX: AL, CL, CLC, SLR.

B AL And Link - form of branch for doing linkage to


subroutine so it can return. EX: BAL, BALR
C Condition - branch or not depending on a previously
set condtion (IF(--) GOTO --). EX: BC, BCR.
CT Count - branch form used to decrement a register and
branch if value not zero (DO LOOP). EX: BCT, BCTR.
X indeX - branch form for incrementing and testing
index quantities. (DO LOOP). EX: BXH, BXLE.

L C Complement - used to set a register to complement


itself or other (Y = -ABS(X)). EX: LNR, LNDR.
P Positive - set register to positive value from self
or other (Y = ABS(X)). EX: LPR, LPER.
T Test - set register to value from self or other,

L,ST M Multiple - several registers are loaded or stored


in one operation. EX: LM, STM
CS102M1 - 04

3. DATA TYPES

As noted previously, a data type character is usually the same as


that used in a DC or DS statement to obtain a given type of data.
If a type character is omitted, it usually implies that the instruction
operates on 32-bit, fullword, binary quantities (such as A, C, S, etc).

DATA TYPE MEANING, COMMENTS


-------- ---------------------------------------------------------

C Character - usually a contiguous string of bytes in memory,


treated as printable characters or a string of bits.
(FORTRAN LOGICAL*1). EX: MVC, CLC, OC, IC, STC.
USUALLY IMPLIES SS INSTRUCTION FORMAT (all except IC, STC).

D Double precision floating point (Doubleword, 64 bit)


(FORTRAN REAL*8). EX: AD, SD, LTDR, LD.
IMPLIES RR OR RX INSTRUCTION FORMAT.

E Exponent - single precision floating point (fullword, 32 bit,


FORTRAN REAL*4). EX: AE, LER, ME.
IMPLIES RR OR RX INSTRUCTION FORMAT.

H Halfword - 16 bit binary number (FORTRAN INTEGER*2)


EX: AH, MH, STH, CH.
IMPLIES RX FORMAT.

P Packed decimal format (2 decimal digits per byte).


EX: AP, SP, CP.
IMPLIES SS INSTRUCTION FORMAT OF TWO-LENGTH TYPE.

4. MACHINE FORMATS

Several characters are used to denote the specific type of


operand format being used (note that the data types can also imply
specific formats. If they imply one of several, the last character
distinguishes among them).

FORMAT MEANING, EXAMPLES


-------- ---------------------------------------.----------------------

I Immediate - IMPLIES SI FORMAT. EX: MVI, CLI, OI.

R Register - IMPLIES RR FORMAT. EX: AR, BCR, DDR.


CS102M1 - 05
III. EXAMPLE OF FAMILY OF RELATED OPCODES

This section lists all the members of the 'Compare' family of


menemonics, showing their relationships adn the elements present in each
name. The letters V M D F stand for Verb, Modifier, Data type, and
machine Format.

OP-CODE V M D F TYPE COMMENTS


---- - - - - -- -----------------------------------------------

C C RX fullword algebraic compare, the basic one.

CL C L RX fullword logical comparison (logical modifier)

CD C D RX compare double precision floating numbers

CE C E RX compare single precision floating numbers

CH C H RX compare a register algebraicly with halfword


from storage (with sign extension)

CP C P SS compare two packed decimal numbers

CR C R RR compare two fullword values algebriacly, gotten


from C by adding R.

CLC C L C SS compare logically character strings

CLI C L I SI compare logical immediate (a byte in memory


with the one inside the instruction)

CDR C D R RR compare double precision (in registers)

CER C E R RR compare single precision (in registers)

The Sytem/370 computers have some additional opocdes:


CLM C L M RS compare logical masked (from register to mem)

CLCL C L C L RR compare logical character strings long (up to


16 million bytes in one compare)

Consider the problem of writing a FORTRAN program which would


simulate the operation of the instructions above (i.e., maintain
variables representing PSW, Memory, GP Registers, etc, and go through
the Fetch-Instruction, Decode, Fetch-Operands, Execute cycle). The
arrangement of the opcodes would make it easy to share code, i.e., it
would not be necessary to code each instruction separately. As an
example, consider the following related instructions:

MNEMONIC HEX CODE BINARY CODE SAMPLE INSTRUCTION/ASSEMBLED


-------- -- -------- -------------------------------------
CR 19 0001 1001 CR 0,1 1901
CH 49 1000 1001 CH 0,2(3,4) 49034002
C 59 1001 1001 C 0,4(5,6) 59056004

Examine the bit patterns above. The first teo bits give the
Machine Format (00-RR, 10-RX), the third and fourth give a Data Type
(01-Fullword,00-Halfword in this case). The fifth-eighth bits give the
Verb (1001 - algebraic Compare). In essence, there is only 1 Compare,
which is branched to after the operands are obtained.
CS102TPA - 01

COMPUTER SCIENCE 102 - TOPICS COVERED, HANDOUTS


WINTER TERM 1972 - MASHEY

The handouts given are described in file CS102HN.

# DATE TOPICS, HANDOUTS, READING ASSIGNMENTS


-- --/--/72 ---------------------------------------------------------

1 01/07 introduction to course. prerequistites (101, 401, equiv)


listed text materials for course:
1) STRUBLE: ASSEMBLER LANGUAGE PROGRAMMING: IBM SYSTEM/360
2) IBM: SYSTEM/360 PRINCIPLES OF OPERATION (POP)
3) IBM: S/360 OS ASSEMBLER LANGUAGE
4) PSU: ASSIST INTRODUCTORY ASSEMBLER USER'S MANUAL
(25 cents, at 426 McAllister)
5) IBM: S/360 REFERENCE CARD (GREEN CARD- BRING TO CLASS)

introduction to information representation in computer.


memory, addressing, similiarity to FORTRAN vector wit1 index
beginning at 0 rather than 1. elements of memory in S/360:
byte, halfword, fullword, doubleword.
positional notation. number systems (binary, octal, decimal,
hexadecimal). conversion between them, uses.
representations of binary numbers: Two's complement, One's
complement, Sign-magnitude. advantages and disadvantages:
(TC - 1 zero, but harder for people; OC - 2 zeroes, but easier
to handle; SM - easiest to handle, but slower circuitry)

READING: STRUBLE CHAPTER 1. Look at ASSIST PART III.

2 01/10 more on information representation; introduction to


machine structure.

meanings of bit patterns: 1,2,4-byte binary numbers; charcters


packed decimal (good for people, but wastes space); floating
point (sign, characterisitc, and fraction).

structure of a very simple machine: memory of 16-bit words;


1 register; 1 program coiunter. a few instructions, each with
opcode and address. explanation of basic instruction cycle:
1) Fetch instruction from where program counter points.
2) Increment program counter.
3) Decode instruction into its parts.
4) Execute instruction.
5) Loop back to 1.

S/360 machine structure: memory (note abbrev. K), GP and


floating point registers, PSW. refer to GREEN CARD.

Begin instruction types:


1) RR (names with -R, examples)
2) RX (give first explanation of base-displacement)
3) RS

READINGS: STRUBLE - CHAPTER 2; POP - pp. 7-15.


HANDOUTS: CS102M1 - page 01 (run some ASSIST programs for dumps)
CS102TPA - 02

3 01/12 finish operands formats and introduce assembly language.

4) SI instructions (examples: MVI, CLI)


5) SS instructions (examples: MVC, CLC)
machine language - easy for machine to execute, hard to write
assembly language converted by assembler to machine code.

format of assembly language: label opcode operand comments


machine instructions - actual operations to be executed
assembler instructions (pseudo ops) - give information to
the assembler (ex: CSECT, DS, DC)
some basic functions of the assembler:
1) location counter
2) convert mnemonic opcodes
a) machine ops - translate to codes, increm location cntr
b) assembler ops - take actions specified, increm loc cnt
3) operands - convert to internal binary, base-displacement
4) print out a listing
5) make program ready for execution and pass control to it

stepped through complete test program (XREAD, XPRNT, XDECI,


XDUMP) and explained listing and contents of dump.

READINGS: STRUBLE: Chapter 3; ASSIST MANUAL: PARTS II and IV;


ASSEMBLER LANGUAGE: pp. 1-18.
HANDOUTS: DOCUMENT (documentation techniques for assembler)

4 01/14 go over some dumps and errors; discuss operand fields.

go through various dumps, showing 0C1, 0C4, and 0C6 errors.


cover STRUBLE cahpter 3, pp.50-56: symbols, self-defining
terms, literals, location counter reference, absolute and
relocatable terms, expressions.

READINGS: STRUBLE: Chapter 4 to page 78.


ASSIGNMENT: STRUBLE: Chapter 1: problems 5,6,7,8,9. Chapter 2:
problems 2,3. Chapter 3: problems 1,2,3,4,6.
INFORMAL ASSN: modify dump program to use XDECO and DUMP storage;
use program with START to check relocatable vs absolutes.
modify one of batch programs to get 0C6 rather than 0C4.

5 01/17 introduction to arithmetic and data movement instructions


introduce idea of instruction families and regularity of
mnemonics. Go thru following instructions: LR, LPR, LCR, LNR,
LTR, L, LH, LA. AR, ALR, A, AL, AH, SR, SLR, S, SL, SH.
mention M and D, also briefly note existence of Condition Code
and show how to test it, without worrying about encoding.
20-minute question answer and review: questions occurred on
differences between literals and self-defining terms, and on
use of symbolic register equates.

READINGS: STRUBLE: Chapter 5.


HANDOUTS: CS102AS1 (pages 01 - 02) first assignment - input,
output of numbers, calculations in binary.
CS102M1 (pages 02 - 05) S/360 mnemonic construction.
CS102TPA - 03

6 01/19 quiz and finish up data movement and binary arithemetic.


Twenty-minute quiz (diagnostic mainly): base conversions (2,
8, 10, 16); negative numbers, base-index-displacement addrs,
relocatable vs absolute.
Instructions: LM, STM, MVC, MVI. M, MR, D, DR, MH and hints
on what to watch for.
Programming techniques: review input/output & conversions
(XREAD, XPRNT, XDECI, XDECO); method for building messages
and obtaining length for XPRNT via MSGL EQU *-MSG .

ASSIGNMENT: indexing and comparison assignment, CS102AS1 - 03,


due 02/02/72.
HANDOUTS: CS102AS1 - 03 (labeled CS 102 AS2 also) - indexing.
READINGS: STRUBLE CHAPTER 5, start on STRUBLE CHAPTER 7.

7 01/21 condition code, branching instructions, loops.


condition code values and encoding. BCR, BC, Extended
Mnemonics (recommended for use over BC #). BALR, BAL and
subroutines, BCT, BCTR usage, including decrementing regs.
example of basic loop to sum array of numbers.
flowcharting and good design versus kludge programming.

READINGS: STRUBLE Chapters 7,8,5.

8 01/24 finish loop control, begin on USING/DROP, linkage


Explain BXH, BXLE instructions, give typical setups:
forward BXLE loop, backwards BXH loop, BXH scan loop.
show need for USING command. give rules for computation of
base displacements: minimum base displacement for those which
are available, higher numberred register if several have same.
begin conventions: exaplin registers 15, 14 usage on entry.

HANDOUTS: LINKAGE OS/360 linkage conventions


READINGS: STRUBLE: Chapter 5, LINKAGE HANDOUT

9 01/26 savearea linkage ans ome review.


Describe 18-fullword save area. go through the standard code
used at beginning and end of a routine, calling methods. Do
not work on argument passing, just normal code.
Misc. instructions: IC, STC, start on Shifts.
Various review for problems.
Note general usage of registers: get students into good habits

READINGS: STRUBLE: Chapter 11.

10 01/28 logical/algebraic arithmetic, shifts


20-minute quiz on previous instructions.
differences between condition code setting, aroverflow in
algebraic arithmetic and logical arithmetic. examples.
shift instructions and how they are used.
READINGS: STRUBLE: Chapter 11, begin on chapter 10.
CS102TPA - 04

11 01/31 bit manipulation and uses. review on branching


bit manipulation instructions: NR, XR, OR, N, X, O, NI, XI,
OI, NC, XC, OC, plus TM. what they do, and how to use them.
EQU trick for SI instructions and how to use it.
review: prototypes on loop control, advantages/disadvantages.

READINGS: STRUBLE: Chapter 10, first 3 sections.

12 02/02 assembler housekeeping, misc areas.


go over all of DC, DS operand formats in detail, showing
what can exist as duplication factor-type-length-constant,
including multiple operands and constants, expressions as
duplication factors and length modifiers. also cover
TITLE, EJECT, SPACE

READINGS: STRUBLE: CHAPTER 6, pp 110-121, problems 7,9,10


ASM LANG: 3, 7-9, 10-18 (except variable symbols/sequence
symbols, 19-21, 29-33. section 5: EQU, DC (all except Bit
Length Modifier, Scale Modifier, Exponent Modifier. all types
except E, D, L, P, Z,Y, S, Q, complex relocatability). DS,
ORG, LTORG, END. SPACE, EJECT, TITLE
POP: pp 24-34 except CVB, CVD. Logical instructions except
TR, TRT, ED, EDMK. Branching except EX.

13 02/04 give out final project, discuss assembler/interpreters


concepts of assemblers: 2 pass assemblers, how to set up
opcode and symbol tables (indexed jump methods), output
desired.
go over structure of SIGMA 4.5 computer and its interpreter,
noting indirect addressing in particular.

HANDOUTS: CS102FP1 (01 -08) general assembler/interpreter descr


CS102FP2 (01 -06) specific material for final project

ASSIGN: Final project, due 13 March (described in CS102FPx)

14 02/07 decimal numbers and conversions


zoned/packed decimal to and from binary. PACK, UNPK, CVB, CVD
equivalent codes using M, D loops for decimal-binary-decimal.
examples of various formats/conversions.

READINGS: STRUBLE: Chapter 5: 106-110, Chapter 218-228, 228-233.

15 02/09 misc review, misc instructions, program mask.


SPM instruction, use of program mask, review BXLE, BXH, etc.

16 02/11 MIDTERM
covered data representations, most standard instructions,
hand assembly, etc.
CS102TPA - 05

17 02/14 on midterm and final project


review of midterm results and problem areas. final project:
overall structure, useful modules and how to set them up:
decimal scan and output conversions, symbol scan, symbol table
manager, opcode lookup, hexadecimal output, etc.
review of BXLE loop control.
HANDOUT: CS102PX1 (01 - 03) programming exercises: hand assembly,
interrupts.

18 02/16 more on assembly process, location counter control.


use of ORG to set up tables, timetable for gettting final
project done, program design process and debugging.

19 02/18 quiz, TR, TRT


30-minute quiz: hand assembly, BXLE loop setup.
TR uses, setup, workings.
TRT uses, setup, examples.

READINGS: STRUBLE CH 15: pp 342-345, 350-352. prob 1,3,4.


ASSIGN: write TRT table for scanning over hex digits.

20 02/21 programming techniques, use of TR, TRT, conversions


use of global table pointer, examples on TR, TRT.
decimal input conversion, using two TRT's, EX, PACK, CVB.
hexadecimal output conversion, using UNPK, TR.

ASSIGN: write code to perform conversions, also to read in


names, place in table, then search table for later names.
READINGS: STRUBLE CH 15: ED, EDMK start.

21 02/23 conversions - hexadecimal input, decimal output, ED


go through hexadecimal input, but not in detail (TRT, TRT,
EX of MVC right-justified, TR, PACK 9 into 5, ignoring extra
byte)
decimal output: CVD, UNPK, OI for plus number, with leading
zeroes.
decimal output: begin on ED, EDMK, doing parts with basic
workings of ED, and standard pattern for integer numbers.
CS411AS1 - 01
CMPSC 411 - ASSIGNMENT 1
LINKAGE HANDLING, FORTRAN/ASSEMBLER AND OBJECT DECKS
DUE ______________
This writeup: pages 01 - 02.

I. MAXIM FUNCTION SUBPROGRAM

Write a function in assembler language, consisting of 1 CSECT


named MAXIM, which accomplishes the following:

A. Follows standard OS/360 calling conventions, receiving the address


of an argument list in register 1. There may be a variable number of
arguments in the list. Each address in the argument list points to a
fullword somewhere in storage.

B. The program should algebraicly compare the fullwords addressed by


the argument list, and place the value of the maximum one in register 0
as a result, then return control to the caller.

C. In writing this program, DO NOT USE XSAVE OR XRETURN macros.

II. WRITE FORTRAN TEST PROGRAM TO TEST MAXIM

This program should test MAXIM by using it as a function, i.e.,


it will have statements of the form I = MAXIM(1,2,-5,-10,4,5) in
it. It should have at least two tests of this form. Print out the
results to show they are correct. Use the above set of data plus
another of you own choosing.

III. WRITE ASSEMBLER MAIN PROGRAM TO TEST MAXIM

Write an assembler main program which has the same logic and test
values as does the previous FORTRAN program. It should use standard
OS/360 linkage, its own save area (of course), and utilize the IBM
macros SAVE and RETURN. It should do the following:

A. As given by the LINKAGE writeup, obtain the PARM field (see if


any exists by testing for zero length). Either print the PARM field,
or the message NO PARM EXISTS. Assume first character of PARM is a
legitamate carriage control.

B. Make same two calls on MAXIM. The first must be hand coded (no
macros), while the second uses the IBM macro CALL.

IV. JOB CONTROL LANGUAGE

Do not punch an object deck until you are sure the MAXIM program
is correct. While testing, you can use the following JCL:

// EXEC ASGC
//SOURCE.INPUT DD *
..... MAXIM program.....
// EXEC FGCG,PARM.DATA=MAP
//SOURCE.INPUT DD *
..... main program
..... should do a CALL LETDMP before using MAXIM
//DATA.SYSUDUMP DD SYSOUT=A (may need XSNAPOUT card following also)
CS411AS1 - 02

An alternate form of the preceding is to use:


// EXEC FGC
//SOURCE.INPUT DD *
..... FORTRAN main program
// EXEC ASGCG,PARM.DATA='MAP'
//SOURCE.INPUT DD *
..... MAXIM
//DATA.SYSUDUMP DD SYSOUT=A

When testing MAXIM with the assembler program, you may either
run it and MAXIM as one assembly (1 ASGCG), or as two (1 ASGC and
1 ASGCG).

V. WHAT TO HAND IN

A. Run a job which produces the object deck for MAXIM, and also does
the test using the assembler main program (note that the END card in
the second assembly should specify the name of the main program on it
so that execution will start there.) Use the following deck setup:

// EXEC ASGC,PARM=DECK
//SOURCE.INPUT DD *
..... MAXIM
// EXEC ASGCG,PARM.DATA='MAP/0I AM A PARM FIELD'
//SOURCE.INPUT DD *
..... main program
*** sysudump and xsnapout cards, if needed

B. Using the object deck produced by the previous program, run this
test of MAXIM with FORTRAN:

// EXEC FGCG,PARM.DATA='MAP'
//SOURCE.INPUT DD *
..... FORTRAN main program
//DATA.DECK DD *
..... object deck from MAXIM
*** sysudump and xsnapout cards as needed.

VI. THOUGHT QUESTIONS

A. Suppose that you also wrote MAXIM as a FORTRAN function. What


would you do to obtain an object deck of it and use it as a subprogram
of your assembler test program?

B. Does MAXIM need to have its own save area? If so, why? If not,
why not?

C. How does the object deck of MAXIM compare with its source deck?
Does the answer tell you why people use object decks?

D. What reasons can you think of for using a mixture of FORTRAN


programs an assembler programs? What does FORTRAN do well that
assembler does not, and vice-versa?
CS411GI1 - 01
01/09/73: date of last revision

COMPUTER SCIENCE 411 - GENERAL INFORMATION

This writeup provides general information regarding CMPSC 411 -


SYSTEMS ORGANIZATION AND PROGRAMMING, as currently taught at PSU. It
notes the prerequisites, text materials, handouts, assignments, and
generally describes what is taught in this course, and what is expected
of the students taking it.

INDEX
I. PREREQUISITES .................................... 1 - 01
II. TEXTBOOKS AND MANUALS ........................... 1 - 02
III. WRITEUPS ......................................... 1 - 05
IV. BAT FILES ........................................ 1 - 08
V. ASSIGNMENTS/DUE DATES ............................ 1 - 10
VI. COURSE OUTLINE/READINGS ..........................
VII. MISCELLANEOUS INFORMATION ........................

I. PREREQUISITES
A. CMPSC 102 (or 410) or equivalent: effectively, a fairly complete
introduction to much of System/360 computer structure and assembler
language programming. The following should have been covered:

S/360 structure: registers, PSW, memory organization, common


interrrupts, two's complement arithmetic. Programming experience with
most of standard instruction set, possibly some with decimal opcodes
and conversions. Privileged operations are not expected to be well-
known, and floating point operations will not be used in the course.

S/360 Assembler Language: familiarity with most of the things


covered in the first half of the OS Assembler Language manual (sections
1-5). Most of the following terms or operations should be familiar:
self-defining terms, location counter, literals, absolute versus
relocatable expressions; USING, DROP, START, CSECT, ENTRY; various
instruction formats; EQU, DC, DS, TITLE, EJECT, SPACE, PRINT, ORG,
LTORG, CNOP, END. Some students may have done something with DSECTs,
MACROs, and linkage of FORTRAN and Assembler modules, but this is not
necessarily required. It is expected that most incoming students have
done most of their programming under ASSIST, and are thus not yet
proficient in debugging programs and reading completion dumps under
OS/360 directly. Students are expected to have written at least half
a dozen or more programs in Assembler, including typically a small
two-pass assembler for a simple assembly language.

B. CMPSC 404 or equivalent: data structures: arrays, linked lists;


tree structures, queues, stacks; perhaps a little on searching and
sorting methods: hash tables, etc.

Anyone who has taken equivalent courses elsewhere or wishes to


substitute other programming experience for the above should contact the
instructor immediately, to make sure their background is adequate for
the course.
CS411GI1 - 02

II. TEXTBOOKS AND MANUALS

The text materials for the course are listed below. Many of the
text items are IBM manuals, which are often in a continual state of
change. Particularly, each time IBM offers an updated version of
OS/360, many manuals are modified somewhat. It is generally desirable
to have the manuals appropriate for the current version of OS/360
(which is Release ___ at this time). However, this is not necessary,
as there are often only minor changes between one version of a manual
and the next. In addition, there are combinations of differently-named
manuals which are equivalent to others. In the list below, the most
desirable manuals are given, but equivalents are noted where possible.

Items coded R are definitely required, items coded D are desirable,


while the remaining ones are useful, but can be done without, and may
not even be available. Abbreviations to be used later are given in
in brackets for each one. NOTE: for IBM manuals, first six digits show
the specific manual, while the remaining one(s) indicate the version.
Normally, (but not always), manuals having close version numbers are
not very different.

D <STRUBLE> 1. STRUBLE:ASSEMBLER LANGUAGE PROGRAMMING: THE SYSTEM 360


This text will be referenced at most occasionally, but contains
some more readable explanations than some of the manuals below. It is
also good for review of CMPSC 102(410).

R <ASM> 2. GC28-6514-8 IBM S/360 OS ASSEMBLER LANGUAGE


This is heavily used throughout the course. By the 5th week of
term, students will be expected to understand almost everything in this
manual, while knowing offhand much of it. Besides the few sections in
the first half not already known to the students, the entire second
half (MACROs) will be covered.

R <POP> 3. GC28-6821-8 IBM S/360 PRINCIPLES OF OPERATION


This also will be used heavily. The students should be familiar
with much of the material, but it may be needed for review of some
operations (such as TR, TRT, ED, EDMK). It will also be needed for the
following topics: system structure: protection features, I/O; status
switching: program states, protection, PSW, instructions;
interruptions: all in this section; input/output operations: most of
this material: CAW, CSW, CCW, basic operation of channels.

R <INTRO> 4. GC28-6534-3 IBM S/360 OS INTRODUCTION


OR
R <C&F> GC28-6535-7 IBM S/360 OS CONCEPTS AND FACILITIES
These manuals (INTRO is effectively a reworking of the older
C&F), give an overall view of operating system services, using OS/360
terms in particular.They do not explain things in detail, but give
general concepts and vocabulary. The student must be familiar with most
of the concepts and terms in these manuals by the end of the course.
CS411GI1 - 03

The following group of manuals is continually changed around by


IBM, with various parts shuffled among manuals of same or changing names
or numbers. There are effectively 4 distinct modules of information:
a) Supervisor Services - description of general concepts.
b) Supervisor Macro Instructions - coding details for these macros.
c) Data Management Services - description of general concepts.
d) Data Management Macro Instructions - coding forms for these.

All 4 of the above modules are definitely necessary, but they are
combined in various ways, with any combination providing all parts
being generally acceptable, although the first combination is preferred.
Each manual notes which information (a,b,c,d) it contains. Later
references may refer to <S&DM>(x), where x is a,b,c, or d. In such
cases, the information can be found in any of the manuals which have
that section of information.

R <S&DM> 5. XXXX-XXXX-X SUPERVISOR AND DATA MANAGEMENT SERVICES


AND MACRO INSTRUCTIONS

R <SS&M> GC28-6646-6 IBM S/360 OS SUPERVISOR SERVICES AND


MACRO INSTRUCTIONS
(a,b) This is recommended version, and contains the general
methods used for management of programs (including linkage conventions),
tasks, and main storage allocation, with the macros for these.

R <DMSG> GC26-3746-1 OS DATA MANAGEMENT SERVICES GUIDE


(c) This is recommended form, and gives the general methods
and many examples of processing each of the different types of datasets
in different ways. Good explanatory material is given on various
characteristics of data sets (record formats, control characters, etc),
direct-access devices, magnetic tapes, and general procedures of data
management (OPEN, CLOSE, DCB, GET, PUT, READ, WRITE, etc).

R <DMM> GC26-3794-0 OS DATA MANAGEMENT MACRO INSTRUCTIONS


(d) This is recommended form, and describes in detail the
various ways of coding the data management macros. The manual just
previous is read for understanding; this one is needed for actually
writing such programs.

R <SS> GC28-6646-5 S/360 OS SUPERVISOR SERVICES


(a) This is explanatory part of <SS&M>, older version.

R <DMS> GC26-3746-1 S/360 OS DATA MANAGEMENT SERVICES


(c) This is explanatory part of <DMSG>, older version, and
not as well written as <DMSG>.

R <S&DMM> GC28-6647-4 IBM S/360 OS SUPERVISOR AND DATA


MANAGEMENT MACRO INSTRUCTIONS
(b,d) Older version of material in <SS&M> and <DMM>.

R <S&DMS> GC28-6646-3 IBM S/360 OS SUPERVISOR AND DATA


MANAGEMENT SERVICES
(a,c) Older version: same as <SS> and <DMS> put together.
CS411GI1 - 04

D <LE&L> 6. GC28-6538-9 IBM OS LINKAGE EDITOR AND LOADER


This describes how to use the named programs, and is particularly
useful and necessary for anyone writing overlay programs or concerned
with management of program libraries. The beginning contains fair
descriptions of object and load modules and their processing.

D <JCLR> 7. GC28-6704-2 IBM S/360 OS JOB CONTROL LANGUAGE


REFERENCE
This manual completely defines JCL, gives various coding forms and
examples of JCL usage. It is somewhat difficult to read as a text, but
is valuable as a reference. This manual is a rewritten version of the
combination of the two following manuals (which together contain much
redundant information). Therefore, any one of these three manuals are
acceptable, although this is the best.

OR

D <JCLR1> GC28-6704-1 IBM S/360 OS JOB CONTROL LANGUAGE


REFERENCE
Although mostly like <JCLR>, this contains fewer examples.

OR

D <JCLUG> GC28-6703- IBM S/360 OS JOB CONTROL LANGUAGE


USER'S GUIDE
This version leans more towards examples rather than a reference.

R <GREEN> 8. GX20-1703-9 IBM S/360 REFERENCE DATA


This is the GREEN CARD, and contains much useful information in
a compact form, including information on ED/EDMK patterns, contants,
assembler instructions, condition code setting, interrupt codes,
radix conversions, formats of PSW, CAW, CCW, CSW, permanent storage
assignments, most common CCW opcodes, instructions and EBCDIC bytes.

R <ASSIST> 9. ASSIST INTRODUCTORY ASSEMBLER USER'S GUIDE


This describes usage of the ASSIST assembler. A slightly outdated
version (1.0) is available in the CMPSC office (426 McAllister), while
an updated version may be available on BAT files (ask instructor).
CS411GI1 - 05

III. WRITEUPS

This section provides an alphabetic list of various explanatory


writeups and assignment handouts which are available for use in CMPSC
411 or other courses. Some of these may be handed out, while others
can be accessed by anyone who is interested. Names, number of pages,
source, and description are given for each.

The following notations may appear for the SOURCE of each writeup:

BAT The writeup exists as as PSU CC BAT file, accessible from RJE or
batch terminals. An otherwise blank card with a comma in column
1 indicates the beginning of each page, including the first. Note
that these normally contain both upper and lower case letters.

DTO The writeup exists only as a dittoed handout.

TAP The writeup exists on a tape, in which case the tape name, file
number, and file name are given.

CRD The writeup is in a punched card deck.

MTS The writeup is on an MT/ST tape.

If the description of a BAT file begins with (userid), that is the


userid under which the file is saved. If not mentioned, the file is
saved under the following userid:

JRM02

Several utility programs are available for printing or punching


any BAT file(s). JRM02.PRINT prints any input, converting lower case
letters to upper case, while JRM02.PUNCH punches its input. Both will
run in any category, including category W. The deck setup is:

// JOB CARD
/*INCLUDE JRM02.PRINT substitute PUNCH if desired
@@INCLUDE userid.filename 1 or more cards like this
@@ to terminate input

The BAT files generally have about 50 lines per page, with a limit
of 500 lines in any one file. Some writeups consist of several BAT
files together, while other BAT files contain several distinct writeups.
CS411GI1 - 06

NAME PAGES SOURCE DESCRIPTION


-------- -- --- ----------------------------------------------------

ASBROPS2 3 BAT assignment using the ASSIST REplace Monitor: each


student replaces the base register table portion
of ASSIST: exercies in table search or linked list
manipulation; USING, DROP, address conversions.

ASPRGTC1 8 BAT gives S/360 Assembler programming hints: how to


use modules, macros, and combined forms; how to set
up safe, nondestructive linkage to a module.

ASREPLGD 11 BAT ASSIST REPLACEMENT USER'S GUIDE : describes in


general terms how to use the ASSIST Replace Monitor.

CS411AS1 2 BAT assignment: linkage between FORTRAN and Assembler,


linkage conventions, argument passing, PARM field
access.

CS411GI1 10 BAT the writeup you are looking at.


CS411GI2 ## BAT

CS411MC1 8 BAT two assignments on macro-writing: pages 01-03 have


one to write own version of CALL, SAVE, RETURN
macros and test them; pages 04-08 have combined
macro/module writing: hexadecimal conversions and
dumping; various macro features illustrated.

CS411MC2 6 BAT assignment: write package of macros to manipulate


one-way linked lists. each macro is fairly easy.

CS411FP1 8 BAT assignment: write simulation of typical batch


CS411FP2 8 BAT multiprogramming computer system. Many possible
CS411GP3 8 BAT combinations of scheduling/allocation/resources are
CS411FP4 7 BAT available. Uses almost all features in BAL.
CS411FP5 6 DTO example flowcharts for this project.

DOCUMENT 4 BAT S/360 Assembler Language documentation hints and


good practices.

DSECT 3 BAT example of use of dsects to trace save areas, also


showing assembly listing of program.

DUMPSJCL 3 BAT gives basic Job Control Language cards for running
most typical assembler programs; gives several
useful hints on special JCL available at PSU; gives
programs to be run to obtain representative system
completion dumps.
CS411GI1 - 07

NAME PAGES SOURCE DESCRIPTION


-------- -- --- ----------------------------------------------------

DUMP1 8 DTO debugging and dump-reading hints for assembler


DUMP2 7 DTO programmers; concentrates more on use with Link
Editor, but has some material with Loader. Gives
examples of hunting down causes of errors.
(should be upgraded and rewritten)

HARDWAR1 5 BAT describes most devices currently part of PSU CC


360/67 system; gives device addresses, speeds,
capacities; channel priorities. Page 5 is only
DTO, and it contains diagram of 360/67 layout.

LINKAGE 5 BAT explanation of OS/360 standard linkage conventions


used by FORTRAN, Assembler, etc programs for entry,
exit, argument passing.

OSHASP 9 BAT OS/360 with HASP: explains how OS/360 is loaded


into memory (IPL-NIP), how it runs, and how it is
modified by the use of HASP.

XDUMP 5 BAT describes use of XDUMP and XSNAP debugging


macros (XDUMP is simple form used in ASSIST,
XSNAP is more complex). (JRM04.XDUMP)

XGET 2 BAT describes use of generalized XGET/XPUT I/O macros

XHEXI 3 BAT describes use of XHEXI & XHEXO hexadecimal


conversion macros (available in ASSIST).
(JRM04.XHEXI)

XREAD 3 BAT describes XREAD, XPRNT, XPNCH I/O macros.


available in ASSIST. (JRM04.XREAD)

XSAVE 7 BAT describes XSAVE and XRETURN linkage macros.


available in ASSIST only if using the macro
library. (JRM04.XSAVE)

-------------------------------------------------------------------

In addition to the above writeups, the students will normally


purchase a copy of the ASSIST Introductory Assembler User's Guide.
The very latest copy of this manual is available in the following
JRM04. BAT files:
ASSIST1
ASSIST1A 14 BAT Part I: describes language availabel in ASSIST
ASSIST2 8 BAT Part II: describes debug and I/O instructions.
ASSIST2A BAT
ASSIST3
ASSIST3A 9 BAT Part III: control cards, parameter options.
ASSIST4
ASSIST4A 17 BAT Part IV: output format, error messages, loader
CS411GI1 - 08

IV. BAT FILES

The following lists BAT files which are NOT text material,
i.e., sample programs, test data for some projects, etc.

NAME CARDS SOURCE DESCRIPTION


-------- -- --- ----------------------------------------------------

$BRTEST 178 BAT test data for the ASSIST base-register module
replacement assignment (see assignment ASBROPS2)

ATTACH ??? BAT multi-tasking example: shows ATTACH, CHAP,DETACH,etc

BDAM1,BDAM2 ? BAT run ot illustrate Basic Direct Access Method

BPAM 322 BAT an entire run, with JCL, to illustrate use of


BPAM macros for accessing pPartitioned Data Sets.
Reads selected macros from macro libraries and
prints them. Shows FIND, BLDL, READ, CHECK, etc.

BSAM 157 BAT entire run to illustrate BASM macros. shows


READ, WRITE, CHECK, etc. reads cards, writes on
disk, reads from disk, prints.

CS411FPJ 74 BAT test deck of $$JOB cards for Final Project (see
assignment CS411FP1,2,3,4,5)

CS411FPK 110 BAT same as CS411FPJ, but with different $$JOB cards.

DUMPTEST 84 BAT contains 4 runs, set up to produce dumps for


students to look at. (see DUMPSJCL writeup). note
that each run is preceded by BAT file comma card,
so that they may be extracted by listing with the
PAGE= option to find their starting sequence #'s.

EXCP 102 BAT contains complete run, set up to read cards and
print them using EXCP macro and CCW strings.

FLOTLINK 152 BAT contains a complete run, set up to show various


combinations of FORTRAN and assembler linkage.
illustrates most floating point instructions, by
computing a function in FORTRAN, then using some
equivalent assembler code.

GETMAIN ??? BAT program to illustrate use of GETMAIN/FREEMAIN

LINKLOAD ??? BAT program to illustrate load module management:


LINK, LOAD, XCTL, DELETE macros, etc.
CS411GI1 - 09

NAME CARDS SOURCE DESCRIPTION


-------- -- --- ----------------------------------------------------

OVLY1 276 BAT OVERLAY example: complete run, uses link-editor to


edit a single object module several different ways,
showing the amount of storage which can be saved by
using overlay methods. includes multiple REGIONs.

PTPCHMAC 22 BAT uses the IBM utility program to print 3 macros


from SYS1.MACLIB. illustrates use of IEBPTPCH,
allows students to look at macros if they want to.
entire run setup. shows SAVE, RETURN, CALL.

QSAM 126 BAT Queued Sequential Access Method: reads from cards,
writes to disk blocked (illustrating use of DCB from
JCL DD card), reads from disk, prints. shows
GET, PUT, OPEN, CLOSE, DCB. shows all sources of
information for DCB.

RECURASM ??? BAT illustrates recursive assembler program using


GETMAIN/FREEMAIN macros

SPIESTAE ??? BAT shows use of error-interception macros SPIE/STAE

TIME ??? BAT test program to show use of timing macros:


TIME, STIMER, TTIMER

WTOWTL ??? BAT test run to show use of WTO, WTL macros for
communicating with computer operator
CS411GI1 - 10

V. ASSIGNMENTS/ DUE DATES

The following lists the assignments given, approximate due date


of each (in terms of day number within the 30 class days per term), plus
comments on each.

# DUE NAME/DESCRIPTION/COMMENTS
- -- ---------------------------------------------------------

1 3 DUMPS - run dump programs as described by DUMPSJCL,


bring to class: familiarizes students with dump reading.

2 6 LINK - assignment CS411AS1 : gives students practice with


linkage, including FORTRAN/aseembler linkage, dumps. gets
them programming again quickly.

3 9 SAVE/RETURN - CS411MC1 (pages 01-03) - write own versions


of extended SAVE, RETURN, CALL macros: starts students
on macros.

4 12 HEX: CS411MC1 (pages 04-08) - write hexadecimal


conversion macros & modules, like XHEXI, XHEXO.
covers macro/module linkage, TR, TRT, PACK, UNPK instrs.

5 15 BASEREG - ASSIST base register replacement - ASBROPS2,


$BRTEST, ASREPLGD . covers base registers well in short
program. helps with understanding of DSECTS.

6 18 LINKED-LIST: CS411MC2 - linked-list macro package -


more practice on macros, needed for final project.

7 27 FINAL PROJECT: CS411FP1,2,3,4,5, CS411FPJ, CS411FPK -


operating system simulation.
CS411GI2 - 01

VI. COURSE OUTLINE/READINGS

A. OVERALL OUTLINE

This section gives a very brief outline of lecture topics by day.


Several empty days are left for exams, problems, and possible expansion
of any of the topic areas.

DAY TOPICS
-- --------------------------------------------------------------
1 Introduction to Course; Prerequisistes; Review X-Macros
2 OS/360 Linkage Conventions
3 Dump-reading; Debugging & good programming technqiues; Common
4 interrupts and interpretation of dumps.
5 Overall macro concepts & structure; FORTRAN analogies.
6 Details on macros; examples; most statement types.
7 Finish macros; Aspecial argument handling; character scanning.
8 Miscellaneous cleanup on S/360 Assembler. (CNOP, V-cons ,etc)
9 Addressibility; DSECTS; Multiple USINGS; Useful techniques.
*** at this point, S/360 Assembler Language is finished ***
10 Assembler Comparison: 1,2,4 pass (SPASM, ASSIST, Assembler G)
11 Introduction to operating systems: history, basic types.
12 Architecture summary: CPU, Memory, Devices, Channels; Memory
13 structure and communication; memory protection.
14 I/O devices: sequential, DASD, capacities, characteristics.
15 Finish I/O devices; I/O Channels: types and programming; S/360
16 Channel-level programming; Interrupt handling; show examples.
17 Final Project: explain simulation concepts; system overview.
18 Module management; types of modules (REENTRANT, etc); loader;
19 Link-editor; Program Fetch; Overlays.
20 User overview of OS/360 services.
21 I/O concepts: buffering, record formats, blocking, etc.
22 Survey of common OS/360 macros (except data management)
23 JCL
24 JCL
25 OS/360 and HASP internal structure; IPL, NIP, etc. ASP.
26 Assorted topics: microprogramming; cache and virtual memories.
27 Assorted topics: pipeline and array computers; non-IBM systems

28,29,30 left for exams, problems, expansion, etc.

COMMENTS: the schedule above is fairly tight. It has been useful,


especially in the first several weeks, to give 'help sessions' once a
week in the evenings, to go over problems, review, etc. This has been
useful especially to even out differences among 102/410 courses taken
at different times and/or different campuses. Note that the order of
topics above seems to work out fairly well, since it gives the students
the material needed for the assignments fairly early.

Note that some explanation of JCL should be given thoughout the


term, when relevant to specific assignments, etc, so that the two days
allotted to JCL contain a unified explanation, but assuming that the
students should have some familiarity with it by then.
CS411GI2 - 02

B. DETAILED OUTLINE, REFERENCES

DAY TOPICS
-- --------------------------------------------------------------

1 Outline of course; administrative details; grading; exams;


course prerequsisites; review X-Macros: XREAD, XPRNT, XPNCH,
XDUMP, XSNAP, XDECI, XDECO, XHEXI, XHEXO, XSET. Note that
a few of these may NOT be review, but new material.
REFS: X-MACRO Writeups.

2 OS/360 Linkage Conventions: go over in detail;


CS411FP1 - 01

COMPUTER SCIENCE 411 - FINAL PROJECT


DUE __________
This writeup: CS411FP: 1(01-08), 2(01-08), 3(01-08), 4(01-07), 5(01-06)

I. INTRODUCTION

A. PURPOSE OF ASSIGNMENT

This assignment requires the student to design, code, debug, and


test a program which simulates the execution of a fairly general
operating system (OS/411) under a variety of circumstances. It requires
the student to become familiar with a number of different strategies for
implementing operating system components, and provides experience in
working with programs of nontrivial size and complexity.

This project provides experience with the following operating


system technqiues: job scheduling, storage allocation, processor
dispatching, I/O request handling, and general job processing.

The following programming techniques can be included in this


program: linked list manipulation, queueing methods, and random number
applications.

In particular, the assignment generally requires the use of the


S/360 Assembler Language items: multiple CSECTS, DSECTS, heavy use of
macro definitions, and use of SET variables among macros and in open
code.

B. PROCEDURES FOR WRITING AND RUNNING THIS ASSIGNMENT

1. This writeup describes many alternate ways of performing the


actions needed in an operating system. Although students should study
the various options performed, they will NOT write the code to implement
all of the options. One option (or several, to be compared), will be
chosen by the instructor to be coded by the students. THE STUDENTS WILL
DEFINITELY NOT BE REQUIRED TO WRITE EVERYTHING DESCRIBED HERE, ALTHOUGH
THEY SHOULD ATTEMPT TO BECOME FAMILIAR WITH THE VARIOUS OPTIONS.

2. In some cases, there are variables which are to be given certain


values for test purposes, but which are to be represented by GLOBAL SET
VARIABLES in the student program. These SET VARIABLES may be referrred
to in various parts of this writeup. The values to be used will be
given by the instructor(to fill in chart on page CS411FP4 - 06).

3. The student will write ONLY ONE source program to cover all of
the different options desired. Alternate versions of a particular
method will be selected or deleted using conditional assembly in open
code (i.e., using GBLA, GBLB SET VARIABLES and AIF, AGO commands).

4. The instructor will supply test decks, and request that they be
run, given 1 or more sets of options/parameters. The student will then
generate the required version(s) of his program by changing ONLY a few
SETA, SETB, SETC statements at the beginning of his program, which will
create the specific version needed. This process of using SET variables
to generate the system is referred to as a SYSGEN.
CS411FP1 - 02

5. It should be noted that some of the terminology employed in this


writeup is not exactly standard, in particular the word QUEUE is used
quite often. This usually is taken to mean a list (usually ordered on
some key), from which only the first item can be removed, and new items
only added to the end. Although this may be the most common case, for
this writeup the items in some queues may be inspected, modified, added
and deleted in any position. For example, it may be necessary to scan
a queue in order for the first item meeting a specified test, then
removing that item.

C. A BRIEF DESCRIPTION OF THE PROGRAM AND WHAT IT DOES

The program to be written will read an INPUT STREAM, which is made


of one or more BATCHes of JOB cards. Each JOB card descibes the needs
and characteristics of a single JOB. The program will then simulate the
handling of this job by a typical operating system.

OS/411 handles each BATCH of one or more JOB cards as follows:

First, OS/411 initializes itself to a status in which there are no


JOBS at all in the system, and all counters, flags, etc are set to
their desired beginning values. The JOB cards will then be read (either
immediately or at various intervals during the run), until the BATCH of
JOBS is finished executing.

Reading a JOB card begins a long sequence of actions which must be


performed to simulate the actions needed to run a JOB.

First, the JOB card is scanned, and all information is recorded


from it. The JOB is entered on a queue of JOBS which are not yet able
to obtain use of a Central Processing Unit (CPU). Basically, this step
represents the process of reading in a complete JOB and storing it on
magnetic disk before it can be executed.

Whenever it might be possible that some JOB be loaded into memory


and EXECUTED, the queue of waiting JOBS is scanned, and a JOB is perhaps
selected (according to one of many possible rules). This JOB is then
INITIATED, i.e., allocated MEMORY, and made ready for EXECUTION. It is
thus free to compete with other such ACTIVE JOBS for the use of the CPU
(or one of several, if such exist).

The list of ACTIVE JOBS (ones in memory), is periodically scanned


(according to one of several algorithms) and a JOB is selected to
receive control of a CPU for some period of time, i.e., the JOB is
DISPATCHED.

After some length of time during which the JOB has use of the CPU,
it may make an Input/Output Request, in which case it relinquishes
control of the CPU (so that another ACTIVE JOB, if any, may get it).
The IO REQUEST needs the use of an IO CHANNEL, of which there are one
or more. Depending on the needs of the JOB, it either gains control of
a CHANNEL, and uses it to perform its IO immediately, or else it enters
a queue of JOBS competing for the use of CHANNELS. In the latter case,
it may have to wait a while until it is selected to use the CHANNEL it
needs. It is said to be in WAIT STATE at any time during which it is
READY to use a CPU or CHANNEL, but cannot obtain what it needs.
CS411FP1 - 03

When a JOB is finished using a CHANNEL, an IO INTERRUPT is said to


occur. This means that the JOB relinquishes control of the CHANNEL,
becomes READY to use a CPU, and thus enters the list of such JOBS, once
more competing with the others. The CHANNEL thus released of course
becomes available for use by other JOBS again, and may be used to fill
a request from some previous JOB, which is WAITING for the CHANNEL.

Among the values found on the JOB card is a time limit for the
execution of the JOB. When this limit is reached, the JOB is considered
to be finished. It is then JOBTERMED, i.e., it is removed from the 0
list of JOBS competing for CPU usage, the memory it occupies is freed
for possible allocation to other JOB(S) (i.e., the ones waiting on
disk to obtain memory).

At various times, calculations are made to determine some values


indicating the performance and nature of the particular operating system
version being generated. Typical times are the end of a JOB and the
end of a BATCH of JOBS.

The process described above occurs for every JOB in a BATCH. Each
BATCH is processed, until none remain. CS411FP5-01 has job flow chart).

The remaining portions of the writeup describe: the configuration


of the computer system begin run by OS/411, the major options possible,
SET VARIABLES which may be needed, and many hints on the implementation
of this program. The last includes general methods, ideas on good ways
to divide the program into modules, sample data structures and DSECTS,
and overall flowcharts which might be useful.

Every option is given a mnemonic name of some sort, and SET


VARIABLES are of course named as they might be inside OS/411.

* * * * * * * * * * * * * * * * * * * * * * * * * * * * * * * * * * * *
* *
* NOTE: HINTS, DSECTS, AND FLOWCHARTS GIVEN IN THIS WRITEUP *
* ARE ONLY SUGGESTIONS. THE STUDENT MAY BE ABLE TO DO THEM MUCH *
* BETTER THAN THE WAYS OUTLINED. IN PARTICULAR, THESE THINGS ARE *
* USUALLY WRITTEN TO COVER ALMOST ALL OF THE POSSIBLE OPTIONS GIVEN*
* IN THIS WRITEUP. AS A RESULT, THEY ARE MUCH MORE GENERAL THAN *
* WILL EVER BE NEEDED TO COVER ONLY ONE-TWO OPTIONS FROM EACH *
* GROUP OF OPTIONS. THUS THESE TABLES AND FLOWCHARTS ARE USUALLY *
* MORE COMPLEX THAN NEEDED FOR THE VERSIONS REQUIRED TO BE TURNED *
* IN FOR GRADE, LEAVING MUCH ROOM FOR CHANGES. *
* * * * * * * * * * * * * * * * * * * * * * * * * * * * * * * * * * * *
CS411FP1 - 04

II. COMPUTER CONFIGURATION

The OS/411 operating system is to be designed for use with a


paticular model of the famous (or infamous, depending on viewpoint)
System/411 series of computers. This section lists the various sizes
and nature of systems which may occur.

A. MEMORY SIZE

&MEMSIZE : gives the size of the S/411 computer, in K (1024)


bytes. &MEMSIZE may range from 1 to 1024, and OS/411 may or may not
be required to run on different-sized machines. Some versions of OS/411
may be written to run only with one memory size, thus allowing for more
efficient special-case programming techniques.

B. NUMBER OF CENTRAL PROCESSING UNITS (CPU)

A CPU is one of the most important resources to be needed for the


execution of a JOB. A basic S/411 system contains only 1 CPU, while the
bigger models may contain more than one. The possible options are:

CPU1 Only 1 CPU exists.

CPUv &NUMCPUS gives the number of CPU'S in the system. &NUMCPUS


may range from 1 to an upper limit to be given.

C. NUMBER OF INPUT/OUTPUT CHANNELS

Performing input/output for a user JOB requires the use of an IO


CHANNEL. The following are the possible options:

CHN1 the system is a small one with only 1 IO channel, which all
user jobs must use when they need IO.

CHNx the number of I/O channels is fixed at the number x. Channels


are numbered from 1 to x.

CHNv &NUMCHNS gives the number of channels, with &NUMCHNS varying


from 1 to some given upper limit, and OS/411 must be written
to handle any possible value. Channels are numbered 1 to
&NUMCHNS in this case. No system has more than 15 channels.
CS411FP1 - 05

III. INPUT JOB STREAM

OS/411 reads a deck of input cards, which contain cards which


describe JOBS, and may contain other kinds of cards also. The kinds of
cards possible are as follows:

A. JOB CARD - DESCRIBES CHARACTERISTICS OF ONE JOB

Each BATCH of JOBS consists of from 0 - to some maximum number of


JOBS. This maximum number may be a constant or be given by &MAXJOBS .
Each card is of the following format (starting in column 1):

$$JOB jobname T=x,SP=x,IOIN=x,IORL=x,PRIO=x,CHAN=x,CAT=x

jobname is a 1-8 character name, separated from other items by


1 or more blanks on each side. It is a unique name which
is used to identify the specific job in any messages.

The rest of the JOB card consists of the parameters shown, WHICH
MAY OCCUR IN ANY ORDER. The following options are possible:

PARM1 all of the parameters will exist on any JOB card, and no
errors need be tested for in them.

PARM2 some parameters may be omitted or in error, in which case


DEFAULT values are to be set at SYSGEN time and used instead.
The corresponding SET variables are then named by &, the name
of the parameter, and DFT, i.e., default T= value is given by
&TDFT, etc. So value of &PRIODFT is used if PRIO= is omitted.

PARM3 This includes PARM2 above, except that the defaults are done
by JOB CATEGORY (the CAT= value), so that omitted options from
JOBS in different categories will have different defaults.

All the values of x above are unsigned decimal numbers, and the
specific meaning of each parameter is given below.

T= a number from 1 to 32767, giving the number of milliseconds


which is a time limit on the execution of the JOB. As will be
given in a later section, this always counts use of the CPU, but
may or may not count use of a CHANNEL.

SP= (SPace) - a number from 1 - 1024, giving the number of K-byte


blocks of storage required to execute a JOB.

IOIN= (I/O INterval) - a number from 1 - 32767, which describes the


interval between I/O requests from a job. value is in millisecs.

IORL= (I/O Request Length) - number from 1 - 32767 describing the


duration in milliseconds for one I/O request by the JOB.

PRIO= (PRIOrity) - a number from 0 - 255 specifying the relative


priority of this job, with 0 highest and 255 lowest (i.e., if all
other things are equal, prioirty 0 gets preference over 255).
CS411FP1 - 06

CHAN= (CHANnel) _ specifies a number from 1 to the maxium number of


channels in the system. This specifies a particular channel which
the JOB needs to use to perform I/O.
=0 specifes that the JOB may use ANY available channel in the
system when it needs to perform I/O.
Of course, if option CHN1 is used, this parameter can be ignored.
If CHAN= specifies a channel number higher than the maximum one,
&NUMCHNS, CHAN=0 should be assumed instead, i.e., this is NOT an
error, but allows use of any available channel.

CAT= (CATegory) - is a number from 1 to a maximum of 15(although


some OS/411's may allow a smaller maximum). Specifies in some way
the type of processing a JOB is to receive. Some versions of OS/411
may not utilize this option at all.

The above options include many things often found on JOB cards for
various systems. Others MIGHT be required, such as a date or time by
which a JOB must be finished, or limits on output (lines printed, cards
punched, or limit on the sum of these).

B. $$CLEAR CARD - INDICATES END OF A BATCH

When this card is found, it requests the following actions:

1. The simulation is continued until all JOBS currently executing


or waiting for execution are completely processed. However, no more
$$JOB cards are read during this period of time.

2. If required, print out a report giving statistics describing the


entire previous BATCH of JOBS (watch out for case where there were 0
JOBS in the BATCH, as when $$CLEAR card is first one in deck.

3. Reset all necessary counters, lists, work queues to such status


as to allow acceptance and simulation of another BATCH of cards. I.e.,
OS/411 must be SERIALLY REUSABLE.

C. $$QUIT CARD - FINISH ENTIRE RUN

This card indicates that no more BATCHes of JOBS follow, i.e., so


that this functions like the $$CLEAR, except that no more BATCHes are
processed. NOTE: an END-FILE INDICATION SHOULD BE TREATED AS A $$QUIT
CARD, i.e., if a read finds nothing there, it should take this action.

D. $$DEBUG CARD - DEBUG ACTION CARD

This card has the following format:

$$DEBUG number,number.....

This card is mainly for debugging use, and supplies the various
numbers to whatever debug counters/flags you may wish to use. This may
be particularly useful to turn on/off trace and debug output.
CS411FP1 - 07

IV. JOB INPUT AND SCHEDULING TECHNIQUES

Briefly, when OS/411 reads a $$JOB card, it scans it, evaluates the
various parameters on it, and makes up an entry for it on the list of
JOBS waiting on disk until they can be executed. The list is generally
kept in the order in which the JOBS should be executed if possible.
The options following describe HOW OFTEN a new JOB arrives (i.e., how
often new JOB cards should be read), IN WHAT ORDER the list of WAITING
JOBS should be kept, and WHAT STRATEGIES could be followed to decide
which (if any JOB) should selected from this list and INITIATED (loaded
into memory and executed).

A. JOB READING OPTIONS

These options describe the intervals between successive arrivals of


JOBS into the OS/411 system, and are:

RDR1 A $$JOB card is read at an interval fixed at SYSGEN, arriving


every &RDRINT milliseconds.

RDRR A $$JOB card is read at intervals which are random according


to some probability distribution. Among the possibilities:
RDRRU &RDRINT is the mean of a UNIFORM distribution, i.e.,
intervals vary between 0 and 2*&RDRRINT.
RDRRE the intervals between successive JOBS are obtained from
an EXPONENTIAL distribution, with &RDRRINT as a mean (this is
called a POISSON ARRIVAL PROCESS, and is actually the most
realistic of the arrivals given here).

B. JOB ORDERING OPTIONS

After the parameters of a JOB have been scanned, it joins a list


of JOBS (which may of course be empty) which are waiting for execution.
In general, the position of a JOB on the list usually determines how
soon it can be executed; the first one on the list should be the next
one executed (if possible, according to which set of scheduling rules
is being used). Combinations of the various options may be used, with
the following general philosophy:

If all other things are equal between two jobs, then the one placed
earlier on the list should be the one :

which arrived in the system earlier and has thus waited longer.
having the higher priority (lower PRIO= value).
smallest storage requirement (smaller value of SP=)
smaller running time requirement (T= value)
smaller category number (CAT= )
CS411FP1 - 08

The following order options can be considered:

JO1 FIFO (First In, First Out) or FCFS (First Come, First Served)
A new JOB is always added to the end of the list, so that the
earliest arriving JOB is listed earliest.

JO2 STRAIGHT PRIORITY : JOBS are kept in order from highest to


lowest (low PRIO values to HIGH PRIO values). If two JOBS
have equal priority, then the earlier-arriving one is first.

JO3 CATEGORY PROGRESSION : JOBS are kept in order by CATEGORY,


from lowest CAT= to highest. Within each category, JOBS are
listed either FIFO or by PRIORITY, or both.

JO4 LENGTH OF TIME REQUIRED BY JOB, either:

JO4S (SJF - SHORTEST JOB FIRST) : in order by T=, small to big.


JO4L (LJF - LONGEST JOB FIRST) : in opposite order from JO4S.

JO5 SPACE REQUIRED BY JOB, either:

JO5S smallest job first


JO5L largest job first

JO6 INPUT/OUTPUT REQUIREMENT SELECTION


Distinguish between I/O BOUND JOBS (IORL large relative to
IOIN) and CPU BOUND JOBS (IORL small relative to IOIN) :

JO6I I/O BOUND JOBS earlier (small values of IOIN/IORL).


JO6C CPU BOUND JOBS earlier (small values of IORL/IOIN).

JO7 STATIC ORDERING COMPUTATION


When the JOB enters the system, a single number is calculated
from some subset of the JOB'S parameters, thus weighting the
various factors according to whatever the designer of OS/411
desires. (Note that all of the JO options above are really
special cases of this). The JOB is then ordered according
to this number, which is thus a generalized priority. For
example: ORDER = (PRIO + T/256 + SP/4 + IOIN/IORL) * CAT
favors high priority jobs, shorter jobs, smaller jobs, I/O
BOUND jobs, and especially jobs in lower-numbered categories,
assuming jobs are ordered from low ORDER to high ORDER.

JO8 DYNAMIC ORDER CALCULATION


This case includes all JO options as special cases, and allows
the ordering of the JOBS to be varied dynamically, according
to any system conditions. For example, it might be basically
a priority system, but check the list of JOBS at intervals,
and occasionally raise the priority of a JOB if it has been
waiting a long time. It could also take into account the
other jobs in a system, such as trying to give equal service
to each category of jobs, or deciding to select an I/O BOUND
JOB if CPU BOUND ones are in memory, or vice-versa.
CS411FP2 - 01

C. JOB SELECTION RANGE AND METHODS

Briefly, a job is to be selected from the list of waiting jobs by


scanning down the list until the first one meeting desired criteria is
found. If no such job is found within the range of the list scanned,
then no job is initiated at this time. The following options are a few
of the ways in which this range can be specified.

JSR1 Initiate the first job if it fits in memory (according to the


memory allocation rules given below). If it does not fit,
do not initiate any other job, even though it may fit.

JSRT Initiate the first job on the entire list which fits.

JSRv Initiate the first job which fits, scanning up to &JSRANGE

Note the effects of the above rules: JSR1 ensures that the jobs
are initiated in the order given by the JO option. JSRT does the best
in keeping memory full, but it may also keep a large memory job
waiting for a relatively long time. JSRv is then a compromise between
the others.

D. MEMORY ALLOCATION FOR JOB INITIATION

Many different ways exist for allocating storage to jobs, the ways
used depend strongly on the purposes of the system, and also on the
computer hardware being used. For example, the S/411 computer series
includes computers with a wide range of addressing/relocation circuits.
The smaller ones require that a program be loaded as one contiguous
block in memory, and never moved from that area. The medium systems
use bounds-registers, so that although a program must be loaded in one
contiguous block, it may be moved around in memory. The large S/411's
may contain special page-translation hardware, which permits the program
to be loaded as many noncontiguous pieces, and moved around as desired.

It should be noted that OS/411 uses a STATIC allocation scheme,


i.e., a JOB requests memory only 1 time, when it is initiated. It does
NOT request and return memory areas while executing. Some systems use
a DYNAMIC allocation scheme, in which a program can request an area of
a given size, and be supplied with the address of such an area, use it,
then return it to the operating system later. Some systems combine both
of these methods, i.e., they allocate an area of memory when the JOB
is INITIATED, but allow programs to allocate/de-allocate space within
that area. OS/360 is an example of such a method.

Finally, various methods exist for determining which of several


blocks of unused memory should be allocated to a requestor. Each of the
methods has advantages and disadvantages, both in implementation
difficulties and in statistical properties.

The next pages describe SOME of the possible options.


CS411FP2 - 02

1. MEMORY DESCRIPTION VALUES

The following SET variables describe the various parameters of


memory allocation:

&MEMSIZE = # 1K blocks of memory available for entire system, up to


1024 (also mentioned previously)

&MEMOS = # 1K blocks allocated to operating system, and thus not


available to be allocated for user programs.

&MEMPGR = page sized round value,i.e., all requests are to be rounded


up to this size. EX: if = 1, every 1K block of memory can be
allocated separately, if = 128, then each job is allocated at
least 128K, i.e., jobs occupy 128K, 256K, 348K,...
This unit will be referred to as a PAGE.

&JOBLIM1 = an arbitrary limit on the maximum number of jobs in memory


at any one time. Note that the special case &JOBLIM1 = 1
implies UNIPROGRAMMING, while &JOBLIM1 > 1 implies that
MULTIPROGRAMMING is at least possible.

&JOBLIM2 = a calculated limit on the number of jobs possible in memory,


assuming that each job must be allocated at least &MEMPGR K
bytes of storage. This can be calculated as follows:
&JOBLIM2 = (&MEMSIZE-&MEMOS)/&MEMPGR

&JOBLIM3 = final limit on number of jobs, = MIN(&JOBLIM1,&JOBLIM2).


This variable would be the one used to actually control code
generation.

2. MEMORY ALLOCATION ALGORITHMS

The following are common techniques for determining WHICH block of


memory will be used to satisfy a request. In each case, a block is
given to a job for the duration of its execution, and then returned to
unused status when the job terminates. In every case, this block just
returned must be MERGED with any contiguous free block(s), so that they
can together be used to satisfy a larger request. If this is not done,
memory becomes FRAGMENTED into small free blocks.

MAA1 (FIRST FIT) - a table of free blocks is usually kept in order


by address. The request is satisfied from the first area of
size >= request size, with the unneeded portion remaining
in the free table. This is usually the easiest to implement,
and has the best statistical properties for most applications.

MAA2 (BEST FIT) - like FIRST FIT, except that storage is allocated
from the smallest free area of size >= request size, thus
trying to maintain large free areas. May be best under some
conditions, although not usually as good as FIRST FIT.

MAA3 (BUDDY SYSTEM) - see KNUTH, Chapter 2 for this method.


CS411FP2 - 03

3. MEMORY ALLOCATION - CONTIGUITY OF ALLOCATION

MAC1 (CONTIGUOUS, NO MOVEMENT) - the memory for a job must be


allocated in one contiguous unit, and a job may never be
moved from that area.

MAC2 (CONTIGUOUS, MOVEMENT) - the job must be allocated contiguous


memory, but may be moved around in memory if necessary. (NOTE:
a system must use bounds registers or more sophisticated
setup in order to use this method).

MAC3 (NONCONTIGUOUS) - the required number of pages are allocated


anywhere at all in memory. This method definitely requires
special hardware, is most commonly used for Time-Sharing
systems, and exists in one form or another on: XDS SIGMA 7,
RCA SPECTRA 70/46, BURROUGHS B5500, B6500, etc., GE 645, and
IBM 360/67 (used as 67 not as 65 like PSU does).
This type of system may be used to allow programs to be
written which are not totally in memory, and which can
appear to the user to be much larger than the actual physical
memory available on the computer system.

4. MEMORY MERGE FOR ALLOCATED MEMORY

These options are only meaningful with option MAC2 above (why?).

MAM1 (AUTOMATIC COMPACTION) - memory is allocated from one end


of storage, and whenever a job terminates, any jobs above
it are moved down to fill the empty space. Thus at any
point in time, the memory consists of 1 region of contiguous
jobs, and 1 contiguous region of free space.

MAM2 (COMPACTION WHEN NECESSARY) - rather than compacting


always, this method only moves the jobs around when
necessary to initiate some desired job which is larger
than any 'hole' currently existing, but smaller than
the total available space.

With either option, all CPU(s) must be stopped while the programs
are being moved around, since they cannot execute a job while in motion
In this case, ALL CPU's are stopped from executing any jobs for the
following length of time:

time used = (&MAMOVE * # K BYTES MOVED)/&MUMCPUS

i.e., the CPU's share the task of moving the jobs around as needed. Note
that the decision on whether to move jobs or not is heavily dependent
on the size of the &MAMOVE factor, which is essentially a move cost.

5. INITIATION DELAY FACTOR

&INITDEL (INITiation DELay) - give the number of milliseconds required


to load a job into memory, once it has been chosen, i.e., it
cannot begin execution until time NOW+&INITDEL.
CS411FP2 - 04

V. JOB SCHEDULING DURING EXECUTION

When a JOB is INITIATED, it is added to a list of jobs in memory.


This list may be called a Ready Job Queue (RJQ), since it is a list of
jobs which are in memory, ready to execute, but not currently being
serviced by a CPU. The order of this list determines which jobs may
gain control of a CPU when one becomes available. Naturally, the list
itself can be ordered in any way desired, and generally includes all of
the methods described in IV.B. (the JO options), plus some additional
others commonly used only for CPU allocation.

Briefly, the process of allocating CPU's is as follows: at any


time when a JOB enters or leaves memory, or when the RJQ changes for
any reason, the RJQ is examined. If CPU(s) are IDLE (i.e. not being
used for ANY job), then the first job(s) on the RJQ are given control
of the idle CPU(s). If PREEMPTION is allowed (described below), a job
which would appear earlier on the RJQ than a job which currently has
a CPU is allowed to seize control of the CPU from the other job, which
is then returned to the RJQ. A table is also kept of the JOB(s)
currently in control of CPU(s). Whenever a JOB is first given control
of a CPU, it keeps control of it for AT MOST the length of time
until it must perform input/output (which can be calculated from the
IOIN parameter, as described in the IOIN options).

When a JOB requires I/O, it must then compete with other jobs for
the use of I/O CHANNEL(s). If it cannot obtain the desired CHANNEL
immediately, it must WAIT until it becomes available.

When a JOB obtains control of a CHANNEL, it keeps control of it


for the length of time calculated from the IOIN parameter. As soon as
its I/O operation is complete , it releases the channel so that other
JOBs may use it, and then reenters the RJQ so that it may compete for
use of the CPU(s) again. If PREEMPTION is allowed, it may immediately
PREEMPT a JOB=CURRENTLY HAVING CONTROL OF A CPU, if it ranks earlier
by whatever ordering scheme is being used.

When a job first enters the RJQ, it is allowed a total time from
the T=parameter. Whenever a JOB uses the CPU, it is charged the
number of milliseconds used, and depending on the option, it may be
also charged for use of a CHANNEL.

A. EXECUTION CHARGING METHOD

The following option determines whether a JOB is charged for the


use of CPU only or for both CPU and CHANNEL.

&ECCH = 0 The user is charged only for CPU usage. Thus, whenever the
JOB is given control of the CPU, the time until the next I/O
request is determined, and an interrupt scheduled to occur at
that time. However, if the time remaining to be used for the
job <= time until I/O, it is used instead, and the job
terminated rather than performing I/O at that time.

&ECCH = 1 In addition to the above charging, there is a charge for the


use of a CHANNEL, and the I/O duration is then:
time until I/O done = MIN(time left,I/O duration).
A job never gets to use anything if it has 0 milliseconds left
CS411FP2 - 05

B. EXECUTION ORDERING METHODS

These methods of course are similiar to the JO options for


deciding which JOB(s) are to be initiated. For further explanation on
similiar ones, refer back to CS411FP1-07. Note that one difference is
that the JOB(s) are generally serviced in the order they are on the
list, without having to worrying about whether they fit in memory or not
(naturally, since they already ARE in memory).

EO1 (FIFO) - the JOBs are ordered on the list according to their
arrival there. In this case, they are order according to
the FIRST time they entered the RJQ, i.e., just after they
were INITIATED, and thus this order does not change.
This method favors those jobs which were loaded earliest, and
thus tends to minimize the longest time a job must remain in
memory.

EO2 STRAIGHT PRIORITY - JOBS are ordered from highest priority to


lowest(lowest PRIO=to highest values).

EO3 CATEGORY PROGRESSION - ordered by CATEGORY numbers, this of


course favors the lowest numbered categories.

EO4 LENGTH OF TIME REQUIRED BY JOB, either:

EO4S (SJF - SHORTEST JOB FIRST), or


EO4L (LJF - LONGEST JOB FIRST).

Note EO4S tends to expedite the short jobs, and thus move jobs in
and out faster, while EO4L tends to minimize the longest time anything
ever has to remain in memory.

EO5 MEMORY REQUIRED BY JOB

EO5S (SMF - SMALLEST MEMORY FIRST)


EO5L (LMF - LARGEST MEMORY FIRST)

Note that of these two, EO5L is usually desirable since it will


attempt to get rid of large-memory jobs quicker.

EO6 INPUT/OUTPUT REQUIREMENT

These orderings are computed according to IOIN and IORL from JOB
cards, and remain constant, regardless of what JOB(s) actually do.

EO6I I/O BOUND JOBS FIRST


EO6C CPU BOUND JOBS FIRST

Of these EO6I is usually desirable, since it allows JOBs performing


much I/O to get what little CPU they need, then let others use CPU.
CS411FP2 - 06

EO7 STATIC ORDERING COMPUTATION

An order number can be calculated for each job at the time it is


initiated, and that number used to determine its relative priority for
using a CPU. Note that the relative priority of two jobs does NOT
change while the two jobs are in memory. Note that all options EO1 -
EO6 are examples of this type of scheme.

EO8 DYNAMIC ORDERING COMPUTATION

In this case, the relative ordering of jobs is obtained dynamically


and can thus change during execution, according to whatever criteria are
desired. The computation of order numbers is typically done either:

EO8F at fixed intervals, such as every 2 milliseconds. All jobs


in memory have order numbers computed for them.
EO8V at variable intervals, or whenever a decision must be made
to give a job control of a CPU.

The dynamic ordering methods thus include the static ones. They
involve more overhead, but can also give improved performance, since
they can respond better to the changing state of the system.

A number of typical dynamic ordering methods follow, including


some counterparts of the previous static ordering ones.

EO81 FIFO - jobs are ordered not according to FIRST time jobs
entered RJQ, but last, i.e., the RJQ is indeed a queue, and
a job only enters it at the end, such as when it finishes
doing I/O, it rejoins the queue at the end, rather than in
possibly the middle. Compared to EO1, this method is somewhat
more 'fair' to all jobs in memory, rather than giving the
earlier ones more advantage.

EO84 LENGTH OF TIME FOR JOB


These methods compare actual times, rather than the T= form
JOB cards.

EO84S SET - SHORTEST ELAPSED TIME - order jobs according to the


amount of time a job has had control of CPU, and give CPU to
JOB(s) having lesser time. This is very 'fair'.

EO84R SRT - SHORTEST REMAINING TIME - order jobs according to


the time estimated to be remaining (i.e., T= - elapsed), and
give CPU to jobs having least time left. This favors getting
jobs out of memory quickly, but may result in long-running
jobs sitting there forever.

EO86 I/O REQUIREMENTS


For each job, maintain totals of the amount of time used for
CPU and I/O (necessary only if I/O activity is non-constant,
as in random-generation systems). Use this ratio to order.

EO86I favors I/O bound jobs.


EO86C favors CPU bound jobs.

EO86I is preferred, since it utilizes CPU and CHANNELS better.


CS411FP2 - 07

EO90 TIME SLICING

This family of methods attempts to allow short requests to finish


quickly, without having to know what the actual time needed is before
the job is run. It also attempts to allocate CPU time to ALL of the
jobs in memory in a 'fair' way. It is most often used for interactive
and Time-Sharing systems, where many users all wish to obtain very fast
or short computations, but occasionaly have longer requests.

E090RR ROUND-ROBIN - when a job reaches the head of the RJQ, it


is given control of a CPU for a maximum of &TIMSLIC millisec,
or until it waits for I/O. In either case, the next job in
the list is given control of the CPU, and the job just
removed from control of it enters the RJQ at the end. When a
job completes, it is removed from memory. Each slice of time
is called a QUANTUM. Note that a job requiring only 1 QUANTUM
will enter, execute, and be completed quickly, while those
needing more must stay longer. This is very commonly used,
paticularly in Time-Sharing operating systems, is simple,
but can be catastrophically bad if many jobs want to use the
CPU, and if the jobs are only partially core-resident.

Many other variations exist on this scheme.

C. PREEMPTION

When a job first enters the RJQ, or when it completes I/O, and thus
becomes eligible again for use of a CPU, it enters the RJQ in the
appropriate place. If the job enters the RJQ in the earliest place,
either one of two actions may occur:
1. The job may wait until a currently executing job releases
a CPU by either requesting I/O or terminating execution entirely.
2. If the job has effective priority or order such that it would
rank ahead of a currently executing job (if that job were in the RJQ),
the new job may seize control of the CPU, i.e., PEEEMPT it. In this
case, the old job is removed from the CPU, and placed back in the RJQ,
with the following information computed: elapsed time in CPU must be
subtracted from both the job time remaining, and the time interval
until the next I/O for it, and the fact that this job has been preempted
must be noted, so that a new interval until I/O is NOT computed when
job regains control of the CPU later.

Two options are thus possible:

&EOP = 0 NO PREEMPTION

&EOP = 1 PREEMPTION ALLOWED (more complicated to program, but usually


better for utilizing CPU and CHANNELS, since it avoids having
CPU BOUND programs tying up CPU for long periods of time).
CS411FP2 - 08

VI. INPUT/OUTPUT SCHEDULING

Normally, when a job receives control of a CPU on a REAL computer


system, it keeps control of that CPU until it either requests I/O and
must WAIT, or a higher-priority job's I/O completes and is allowed to
preempt it.

Since the jobs in a simulated system are not actually performing


I/O, whenever a job is scheduled to receive control of a CPU by OS/411,
the time until an I/O request occurs must be COMPUTED, and an I/O
request scheduled to occur at that time. In general, the interval
until the job relinquishes the CPU is always the MINIMUM of:

an I/O INTERVAL (from JOB card IOIN=, or computed from it).


JOB time remaining.
QUANTUM (if using Time-Slicing methods).

When the job actually gives up the CPU, it either TERMINATES and
is removed from memory (if the time remaining = 0), or else makes an
I/O REQUEST, in which case it must obtain a channel for this action.

When the I/O REQUEST occurs, the job either uses a channel right
away, if it is free. or else must enter a queue if requests waiting
for a desired channel. Sooner or later, it will be able to use the
channel, at which time an I/O INTERRUPT must be scheduled, i.e., this
is the time at which the I/O is completed. In general, no PREEMPTION
is ever allowed for use of a CHANNEL, as it would be disastrous
to interrupt the use of a CHANNEL.

When an I/O INTERRUPT occurs, the I/O operation is completed, the


job releases the CHANNEL being used, and it returns to the RJQ to once
more compete with other jobs for use of a CPU.

A. I/O INTERVAL CALCULATIONS

The length of time until a job gives up the CPU is always found
just before the CPU is given to the job, as follows:

IOIC Constant interval from SYSGEN. For all jobs, &IOINTVL gives
the number of milliseconds until an I/O REQUEST.

IOIJ Fixed interval from JOB card. For EACH job, the time until
the next I/O REQUEST is taken from the IOIN= parameter on
the JOB card.

IOIR Random Intervals, using Job Card information. For example:

IOIRU UNIFORM - the actual interval is computed from a UNIFORM


distribution, using the IOIN= parameter as the MEAN, i.e.,
any value from 0 to 2*IOIN is equally likely.
CS411FP3 - 01

B. I/O REQUEST QUEUE SCHEDULING

When I/O request occur for channels currently in use, the


jobs making the requests must enter queue(s) to obtain channel use.
These queue(s) can of course be ordered in various ways, corresponding
to the JO and EO options given previously. However, for this type,
usually only several of the possibilities are actually done:

IOO1 FIFO - the first job requesting a channel gets it first.

IOO2 PRIORITY - the highest priority (lowest PRIO=) job waiting


for a channel obtains it, even if others arrived earlier.

IOO6I I/O BOUND JOBS are favored over CPU bound jobs, with this
calculation made either statically or dynamically.

NOTE: FIFO is the most commonly used, but sometimes PRIORITY is


used, especially if there are one or more jobs in the system which
absolutely require fast I/O service (usually in Real-Time or Process
Control systems also containing batched jobs).

C. I/O REQUEST LENGTH CALCULATIONS

Whenever a JOB gains control of a CHANNEL, the time it will use it


must be calculated, and an I/O INTERRUPT scheduled to occur at that
time, when the job will give up control of the channel. This length
of time using the channel may be found in ways analogous to the IOR
options for determining the intervals between requests:

IORC Constant interval from SYSGEN. For ALL jobs, &IOREQL gives
the number of milliseconds a job uses a channel.

IORJ Fixed interval from JOB card. For each job, the length of tim
a channel is used is constant, and taken from the IORL=
parameter on the JOB card.

IORR Random lengths, using JOB card information. For example:

IORRU UNIFORM - the actual length is computed from a UNIFORM


distribution, using IORL= from JOB card as the MEAN. Thus,
any value from 0 to 2*IORL is equally likely.
CS411FP3 - 02

VII. REPORTS

At various times during a simulation run, various reports may be


printed. In some cases, these may be useful for debugging, and others
are most useful for obtaining statistics for comparison of different
versions of OS/411. Unlike most of the other option groups, the ones
in this set are NOT mutually exclusive.

R1 SYSGEN report. This report is printed 1 time only at the


beginning of an entire run, even if multiple batches of jobs
are run. It describes which options are being used, and also
prints the values of various SET variables used to generate
the particular version of OS/411 being used.

R2 CURRENT STATUS REPORT. Every &RDRINTV milliseconds, this


report is printed, for the prupose of showing the overall
status of the system. It might include:

R2T The current time (0, 1*&RDRINTV, 2*&RDRINTV, etc).

R2N The current number of jobs waiting on disk for execution and
the current number in memory.

R2SM The current status of each job in memory, with following codes
(and other information if applicable):
R (Ready) (ready to execute, but does not have CPU).
C (Cpu) (executing now. add number of CPU used in
multiple-CPU systems).
W (Wait) (waiting for channel to become free).
I (I/O) (performing I/O. add channel number being
used in multiple channel systems).

R2MJ The current memory status for each job, i.e., which blocks
of memory are currently allocated to the jobs.

R2MM Memory Map - a map of memory, showing which jobs are located
in which areas.

R2MT The total amounts of memory in use and unused.

R3 JOB READ REPORT - printed whenever a JOB card is read, and


JOB thus enters system. Is essentially an ECHO of JOB card,
preceded by the time it enters system.

R4 JOB INITIATION REPORT - printed whenever a job is selected to


be loaded into memory. Gives time and the name of the job
from the JOB card. An additional feature might be:

R4M memory locations in which job is loaded.

****NOTE**** the memory allocation algorithms may be affected by the


requirement of reports R2MJ, R2MM, R2MT, and R4M: i.e., it may be the
case that it is NOT actually necessary to implement the algorithms in
MAA, MAC, and MAM, IF it is NOT required that memory maps be printed.
Thus, it may only be necessary to know it there is enough space to load
a job, NOT where it actually is.
CS411FP3 - 03

R5 TERMINATION REPORT - whenever a job has consumed all of its 0


allotted time, it is terminated (removed from memory). This
report should show:
Job name
Current time.
JOB turnaround time ( = current time - time job was read into
the system).
Memory residence time ( = current time - time when the JOB
first entered the AJL).

Depending on the version of OS/411 used, these might be useful:

R5R (especially for Random-type systems) - total time spent using


a CPU, total I/O time, total time WAITING for CPU, and total
time WAITING for a channel, ratio of CPU time used to total
time (showing CPU-I/O BOUNDEDNESS TYPE).

R6 DISPATCH REPORT (each time a job gets control of a CPU it


is said to be DISPATCHED). This is done whenever a job gets
control of a CPU, and displays time, jobname, and CPU number
for multiple-CPU systems. Might show length of time the job
is to be given control of the CPU.

R7 I/O REQUEST REPORT - gives time, jobname whenever an executing


job stops to do I/O.

R8 CHANNEL ALLOCATION REPORT - done every time a job actually


receives control of a channel, and gives time, jobname, and
channel number. It might optionally show the length of time
the job will use the channel.

R9 BATCH REPORT - this report occurs at the end of a complete


BATCH of jobs, when all jobs in the BATCH have been INITIATED,
EXECUTED, and terminated,and the system is completely empty. 0
At this time, statistics can be printed about the BATCH.
Needless to say, the appropriate counters must have been kept
during the simulation.

The following items are to be printed:

Total time for entire BATCH (TOTAL = time last job terminated).
Total number of jobs run (called NJOBS).

For each CPU or CHANNEL in the system:


Total time during which CPU (CHANNEL) was being used to EXECUTE (DO
I/O). (called TIMEUSED).
Percentage of time each CPU (CHANNEL) used: 100*TIMEUSED/TOTAL .

Degree of Multiprogramming: gives the average number of jobs


in memory over entire batch. Needs an accumulator (MULTI) and a
job counter (#INCORE), both initially = 0. Each time a job is
initiated or terminated, set:
MULTI = MULTI + #INCORE * (interval since last INIT or TERM).
and increment/decrement #INCORE as is appropriate.
Finally, at the end of a batch, MULTI/TOTAL gives the average
number of jobs in memory (usually >1.0 under multiprogramming).
CS411FP3 - 04

The following other report items might be printed at the end of a


batch under some circumstances:

R9TU Average TURNAROUND time for all jobs in a batch.

This option could usefully be generalized to show turnaround by


groups of jobs (for example by category CAT=, or by splitting jobs into
several groups according to T=, SP= etc). The reason for this is to
determine just which types of jobs are being favored, and if so, how
much.

RDBG DEBUGGING REPORTS - these may be added as desired. Things


which might be useful debug output to build in are:

RDWJ A dump of the list of jobs waitng on disk.

RDMJ A DUMP OF THE LIST IF JOBS IN MEMORY (AJL plus others).

RDST a dump of all the important system variables, such as the


'clock' or current time, the status of CPU(s) and CHANNEL(s),
important flags, etc, etc.

Note these reports are not meant to be pretty, but they are
probably the MOST IMPORTANT items for getting the program running.

Note that an excellent technique is to embed such debugging


reports in a program from the beginning, allowing them to be removed
in one of two ways:

ASSEMBLY TIME: if absolute sure that a given section of code is


correct, debug output can be temporarily canceled using SET variables.
When the inevitable bugs then creep out of hiding, they can be caught
by changing the SET variables again, i.e., XSNAP-XSET process.

EXECUTION TIME: suppose that a program runs a reasonable length


of time, appears to be running correctly, then bombs in a given
situation. If debug output is produced for the earlier part of the run,
record limits are exceeded. Therefore a convenient way is needed to
determine whether debug output is needed during execution. One such
way is to:

1) Read counters/flags, etc into a global area of the program,


from the $$DEBUG card.
2) Use XSNAP IF= option to test these counters/flags, etc and
either print debug output or skip it.

In particular, the above approach is of considerable merit when


OBJECT DECKS are being used, since this way, it is possible to get
an object deck which is loaded with debug output code, but never
actually prints such output unless requested from input cards.

Note that $$DEBUG cards can then be inserted in the input stream
in position just BEFORE trouble occurs, and removed when debugged.
CS411FP3 - 05

VIII. GENERAL IMPLEMENTATION METHODS

This section presents general methods helpful not only for this
project, but for any other assembler language program of more than
trivial size. Some of these methods have analogues in high-level
languages. These hints may save much time and effort.

A. MODULAR PROGRAMMING

The program should be constructed of a number of different CSECTs.


For OS/411, the appropriate number is approximately 6-12 CSECTS. At
least SOME of them can be assembled and debugged fairly quickly, object
decks obtained for them, and included with the other modules yet to
be debugged.

Inside each CSECT there may be INTERNAL SUBROUTINES where useful,


rather than complex flag testing/setting code.

B. PROGRAM DESIGN, FLOWCHARTING, DATA STRUCTURING

The program should be fairly well laid out before MUCH code is
written for it. In some cases, it is definitely possible to write a
complete section of code without having designed the next one. This
can be a good procedure, since it allows the programmer to be running
and debugging one section while writing the next. However, it is a good
idea to be SURE that the current section's design does NOT depend very
mcuh on what the next one does, since this will require unnecessary
changes: AVOID CONTINUALLY CHANGING CODE AROUND.

Flowcharting is useful because it helps eliminate unnecesaary or


redundant code, aids determinging the dependence/independence of code
segments, and helps in the designing of good data structures. Heavy
use should be made of various forms of subroutines and macros. Big
assembler programs are totally unreasonable without them.

C. NAMING CONVENTIONS

Very early in the design process (and definitely BEFORE any code
is written), the programer should make up some simple and consistent
conventions for names. Typical rules are:

1. Every register EQU begins with R, and symbolic registers are used
EVERYWHERE.

2. EAch CSECT and DSECT will have a name such that every label in
the section begins with the first 1, 2, or 3 (choice) letters of that
section.

3. Important symbols used across many CSECTS might be assigned to


begin with particular characters. Of these, $ is a often chosen to
mark such symbols.
CS411FP3 - 06

Why bother with rules such as are given on the previous page?
Briefly, it is because such rules cost little effort, but save much
time and trouble. Among other things:

1. It is EXTREMELY annoying to lose a run, with 1 STATEMENT FLAGGED


because a statement label is duplicated, very easy to do in a large
program if no rules are followed.

2. When looking for an error or at a listing for any reason, the


NAME of something shows immediately where it is located, what section
it belongs to, and perhaps what its purpose is. This is particularly
useful for dsect symbols belonging to specific control blocks.

3. The name methods given cause related symbols to appear close


together in the CROSS-REFERENCE listing, which also saves time.

D. SYMBOLIC CODING, DUMMY SECTIONS

DSECTS are an absolute necessity. Flag values and switches are


also easier set and tested if they have mnemonic EQU values rather than
using actual values. For example:
$ACTIVE EQU X'01' (AJLSTATS) => job using CPU
.....
MVI AJLSTATS,$ACTIVE show this job now active
.....
CLI AJLSTATS,$ACTIVE is this job active?

The above is much clearer than MVI AJLSTATS,X'01', etc. Even


MORE IMPORTANT is the fact that it is infinitely safer and less error-
prone.

A useful method is to have 1 different DSECT for each distinct


type of control block, list element, table, etc, plus perhaps 1 DSECT
for a global control table. A TYPICAL METHOD IS THEN TO LOAD AN
address constant of a table CSECT into a specified register very early
in the main program, connect it to the DSECT with a USING, then NEVER
modify that register during the program. Registers 10, 11, 12 seem to
be the most favored for this type of use.
CS411FP3 - 07

IX. SPECIFIC IMPLEMENTATION TECHNIQUES

This section discusses the specific project, covering specific


modules, data structures, and techniques which may be of use in writing
this project. ********** NOTE ********** THIS INFORMATION IS ONLY TO
HELP GETTING STARTED. IT IS NOT REQUIRED THAT THE PROJECT BE STRUCTURED
IN THE WAY DESCRIBED HERE, ALTHOUGH THE PROJECT MUST BE CAPABLE OF
THE REQUIRED ACTIONS, REGARDLESS OF HOW IT IS WRITTEN.

Please note that the data structures and modules described are
designed in such a way as to handle any of the combinations of options
given previously. As a result, they may be extremely inefficient for
a particular set of options. In this case, you should throw out code
or variables which are not at all needed. However, be careful about
departing too far from the methods shown in the direction of INCREASED
COMPLEXITY, because you will NOT get the project finished if you go
out of your way to make it extra complicated.

A. PROGRAM MODULES

The required functions must be performed by sections of OS/411,


some of which may be implemented as CSECTs or perhaps as internal
subroutines of CSECTs. The functions described will are not generally
suitable to be written as MACROS, although it may be useful to write
macros wherever necessary for support of their functions.

1. JOB CARD SCANNER (also called READER-INTERPRETER) (abbrev RDR)

When this module is called, it:

a) Determines the type of command on the next input card (if any),
and then branches to code sections to handle the individual types of
cards possible.

b) If command was a $$JOB, it decodes the various parameters,


obtains a free UJL element (block for job waiting on disk), places it
it in the UJL (Un-initiated Job List) in the appropriate position.

Lookup of parameter options should be done using clean, table-


driven code, i.e., for parameters, scan to an = sign, pad parameter name
to a standard length, then use a CLC - BXLE loop to find the position
of the parameter in a parameter table, which may also contain flags or
jump codes to control further processing of the parameter values.

When finished processing a card, this module may request that it


be called at some time in the future, and may also set various global
flags.

This module essentially implements the following option groups:


RDR, JO.
CS411FP3 - 08

2. JOB INITIATOR - (JBINIT)

This module is called whenever it MIGHT be possible to move JOB(s)


from the queue of jobs waiting on disk (UJL) to the queue ready in
memory (AJL). This possiblity occurs normally immediately after:

a) A new JOB has just arrived and been placed in the UJL by RDR.

b) A JOB in the AJL has just been completed and removed by the
JOBTERM routine.

In either case, it may be possible to INITIATE a job which was


not previously present or could not fit in memory.

It removes the selected UJL element from the UJL, obtains an empty
AJL element from the list of such elements, fills it in with required
times and values from the UJL, marks the element READY, then either
adds the AJL element to the AJL immediately, or takes care of requesting
it to be added at a later time (i.e., NOW + &INITDEL).

The initiator then loops through the above until it can no longer
initiate any more jobs, for any reason whatsoever.

This module implements the following groups: JSR, MA, and


probably needs EO also.

JBINIT probably must request that DISP be called whenever


there may be a change in the AJL.

3. DISPATCHER (DISP)

Whenever a CPU becomes available (either because of an I/O request


or a termination), this module determines which, if any, job should
be assigned the free CPU. If PREEMPTION is allowed, this module should
determine whether to switch a READY job for an EXECUTING one, which
can occur either when a new job is finished being loaded, or when an old
one completes I/O and is thus READY again.

It may call IOILENG to determine how long a job being DISPATCHED


(given control of the CPU for some time) will execute until it makes
an I/O request.

The DISPATCHER probably manipulates various clock values in the


AJL elements, decrements time-remaing counters, etc, and generally
performs bookkeeping operations needed to generate statistics.

If PREEMPTION is allowed, the DISPATCHER must take care of it, and


modify clock elements accordingly, so that a preempted job is treated
fairly, does not lose time, and generates an I/O request after the
appropriate amount of time.

This module contains code for option group : EO.


CS411FP4 - 01

4. I/O INTERVAL LENGTH ROUTINE (IOILENG)

This module determines how long a job will be allowed to execute,


before being halted for an I/O request. This might reasonably be an
internal subroutine of DISPATCHER.

This module implements option group: IOI, and may be involved


with &EOP variable.

5. CHANNEL REQUEST PROCESSOR (CRPROC)

This module is called whenever a job is to relinquish control of


a CPU and attempt to perform I/O. It removes the job from control of
the CPU, and markes the CPU idle, also requesting that the DISPATCHER
be called immediately to try to schedule a job into the CPU. If the
required CHANNEL is currently idle, CHANALC can be called to allocate
the channel to the job (and the job marked as in I/O status). If the
channel is not available, it must enter a queue of jobs waiting for
channels, (IOR), and wait here until the needed channel becomes free.
In this case, the job is marked as in WAIT state.

This module typically implements the option group : IOO.

6. CHANNEL ALLOCATOR (CHANALC)

This routine is supplied with a job and a channel, and essentially


gives the channel to the job, determines how long it will be until the
I/O interrupt occurs which ends the I/O, and also takes are of checking
against time remaining (if user being charged for channel time also,i.e.
if the SYSGEN specified &ECCH = 1) .

CHANALC must make sure that CINTR is called whenever the I/O
interrupt is to occur. (possibly to call JOBTERM if there is no more 0
time left and channel time is being charged).

This module implements: IOR options.

7. CHANNEL INTERRUPT HANDLER (CINTR)

This module is called whenever a job finishes with a channel.


The channel is freed, marked idle, and if any other job is waiting for
that channel, it calls CHANALC to give the channel to the job needing
it.

The job's status is changed from I/O to READY, it is placed back in


the AJL, and a request made that the DISPATCHER be called, so that the
job may effectively compete for a CPU again.
CS411FP4 - 02

8. JOB TERMINATOR (JOBTERM)

This module is called when a job finally consumes the time allotted
to it on the JOB card. It removes the job from memory, returns any
control elements to free list of such, and also notes that the JBINIT
routine be called, since it may now be possible to initiate another job.

9. EVENT EVNQUEUER (EVNQ)

This module (or possibly just a macro) is called whenever it is


necessary to schedule some type of event to occur at a certain time.
It inserts (or constructs and inserts) an EQ node into the EQ list
according to time of event.

10. REPORT MODULE (RPORT)

This module may be called to produce the various types of reports


possible at various times. In some cases, the R options may be included
as sections of code in other routines (like R3 in RDR, R4 in JBINIT).
This module might be written in FORTRAN, at least partially.

11. MAIN PROGRAM

This module first prints the SYSGEN report R1, if required. It


then consists of two nested loops.

The outer loop is executed once for each BATCH of jobs, and is
made of the following steps: INITIALIZATION (reset flags, counters,
put all list nodes into the respective free lists, and also request
that the RDR be called at time 0, set clock GNOW = 0, etc); INNER LOOP
(the actual simulation); and COMPLETION (print report R9, if exists).
If it is discovered at the end of this loop that a $$QUIT card has been
found (or end-file), the loop ends and the entire program terminates.

The inner loop is executed one time for each EVENT which occurs,
and thus traces the system actions at those times during which the
system actually changes status, ignoring times in between. Each loop
performs the following actions:

a) POP's the first node from the Event Queue (EQ), removes the
data item(s) from the node, and returns the node to the free list of
such nodes.

b) Sets the global clock GNOW = time from the node, i.e., the
current time is now whatever time the event is to occur.

c) Uses a code value from the node to determine which of several


routines (RDR, JBINIT, etc) to call to do required action.

d) Loops through a) until the EQ is empty, i.e., nothing more is


to occur.

THE ABOVE LOOP IS AN EXCELLENT CANDIDATE FOR EMBEDDED DUMPING CODE


WHICH CAN BE TURNED ON OR OFF ACCORDING TO VARIABLE SWITCHES.
CS411FP4 - 03

B. DATA STRUCTURES AND TABLES

This program is essentially a huge list-processing program, which


of course makes a set of list-processing macros very useful. It is also
useful to write simple macros, then combine calls to them in more
powerful and easier-to-use macros.

There are two basically different ways of allocating the storage


for this program, static, and dynamic.

The static method is the easiest to program. Whenever the system


is initialized, all of the nodes in an active list for a specific kind
of node can be pushed onto the free list for that kind of node, and thus
they will be ready for the next BATCH (although they may not be in
exactly the same ORDER as they were before). Since there are upper
limits on the number of any type of node, this method should work and
be easy to do.

The dynamic method implies maintaining a single FREELIST of all


unused memory, then allocating a node of given size whenever anyone
needs one, then returning the node when finished with it. This may
use less total space, but is slower and more complex to program.

In addition to the list elements, the following are tables and


variables which might be useful/necessary. AS USUAL, THESE ARE ONLY
HINTS ON POSSIBLE WAYS TO DO THINGS. ACTUAL IMPLEMENTATION METHODS ARE
YOUR CHOICE. THE FOLLOWING ARE JUST TO HELP YOU GET STARTED.

1) GLOBAL CONTROL TABLE (GCTB)

This CSECT effectively acts like FORTRAN COMMON, and is used


to hold variables and useful constants to be addressed by any section of
the entire OS/411, and lets them communicate easily with each other.
Typically, the main program would do the following:

L RGCTB,=V(GCTB) address of the csect


USING GCTB,RGCTB note pointer

Then each other csect would include the USING stmt, and no one
would ever modify register RGCTB, so that it would always point at GCTB
and make its variables available.

Among the typical items contained in this common CSECT would


be:

USEFUL CONSTANTS (such as big blocks of zeroes, blanks, Edit


patterns for conversion routines, Translate tables if needed several
places, useful Mask words, etc, etc).

HEADER CELLS and FREELIST HEADER CELLS for all global lists, since
several different routines may modify/inspect the same lists. It may
also be desirable to include the actual list nodes themselves, near the
end of the CSECT, in order to get all important items in one area.
CS411FP4 - 04

In addition to the above, the following are GLOBAL VARIABLES which


might be included in the GCTB :

GNOW DS F (clock) current time, initialized to 0


G#INCORE DS F number of jobs currently in memory, init =0
GLASTIT DS F time last initiation or termination occurred, useful
GFLAGS DS C flag byte, for such items as whether $$CLEAR found,
$$QUIT, etc.
GDEBUGS DS C debug control byte: could be used with XSNAP IF= to
control debug output from input $$DEBUG cards
GMULTIP DS F multiprogramming statistic (see report R9)

HINTS: group important variables so they can be dumped with a single


XSNAP. Consider bracketing them with character DC constants so that
they are quickly located in a dump.

2) EVENT QUEUE

This is the most important single queue, having header cell EQHD,
free list header of empty nodes EQFREE, and of which &EQ# total nodes
should be generated (use &EQ# = 100 unless otherwise necessary). A
dsect for each node might look like:

EQSECT DSECT
EQLINK DS A link to next node
EQTIME DS F time this event to occur
EQDATA DS F data for event type (might be addr of control block)
EQTYPE DS F address of routine, or code giving index to it
.......... anything else which might be useful.

3) UN-INITIATED JOB LIST (UJL)

A UJL element is needed for each job waiting on disk for execution.
There might be up to &MAXJOBS of these needed. EAch node must contain
all useful information from a $$JOB card, plus anything else desired.
A typical dsect might be:

UJLNODE DSECT
UJLLINK DS A addr of next node
UJLORDR DS F order field, compute according to JO option
UJLNAM DS CL8 name of job from $$JOB card
UJL# DS H number of job (showing order in which read)
UJLENTR DS F time at which job was read
....... appropriate entries for T=,SP=,IOIN=,IORL=,PRIO=,CHAN=,CAT=
CS411FP4 - 05

4) ACTIVE JOB LIST (AJL)

One AJLNODE is used for each job currently in memory, and would
typically include all items present in the UJLNODE (or a pointer to a
UJLNODE having them). There are a maximum of &JOBLIM3 of these, and
a typical setup might be:

AJLNODE DSECT
....... set of areas like those of UJLNODE
AJLLOAD DS F time when job first loaded into memory (initiated)
AJLTLAST DS F time when status of job last changed (useful for
statistics handling)
AJLTREM DS F time remaining until job is completed: this is
decremented, and job terminated when it = 0
AJLTINTR DS F time until a job either requests I/O or is scheduled
to be terminated. useful in I/O handling.
AJLC# DS A address of CPU element or channel element showing
which one this job is using, if any.
AJLSTATS DS B status byte: shows condition of job: ready, but not
executing, executing, waiting for I/O, doing I/O.

5) INPUT/OUTPUT QUEUE

Each node represents a request for a channel which cannot be filled


until job using it releases it. Maximum of &JOBLIM3-1 of these needed.

IORNODE DSECT
IORLINK DS A addr of next one in list
IORORDER DS F possible ordering field, depending on IOO option
IORAJL DS A address of AJLNODE showing job making request

6) CHANNEL/ CPU ELEMENTS

Two lists (or tables, depending on convenience) might exist, with


one node for each CPU/CHANNEL, mainly used for keeping statistics for
usage of each one. Of course, they might just be variables in systems
having either 1 CPU or 1 CHANNEL only. Typical dsect for CHANNEL (CPU
node would look the same):

CHNNODE DSECT
CHNAJL DS A addr of AJL of job using this device, = 0 if IDLE
CHNTLAST DS F last time status of this device changed
CHNUSE DS F total accumulated usage time during run.
CS411FP4 - 06

X. SYSTEM GENERATION OPTIONS LIST

The following lists the various options possible for a SYSGEN of


OS/411. This chart may be filled in when the instructor goes over the
project requirements in class. Note that all options are listed, with
underlines where things must be filled in. Also note that not all
options may be applicable, since some are needed only if some particular
previous choice was made. The heading numbers correspond to the numbers
of sections in this writeup. Space is left for comments.

II.

&MEMSIZE = ________K bytes


CPU___ &NUMCPUS = _____ (only if variable #)
CHN___ &NUMCHNS = _____ (only if variable #)

III.

&MAXJOBS = _____ jobs at most in system


PARM__ (if PARM2, then need values for following)
&TDFT, &SPDFT, &IOINDFT, &IORLDFT, &PRIODFT, &CHANDFT, &CATDFT
_____ ______ ________ ________ ________ ________ _______

IV.

RDR___ &RDRINT = ______ millisec (if RDR1)

JO____

JSR___ &JSRANGE = _____ (if variable)

&MEMSIZE = ______ K bytes (repeated from II)


&MEMOS = ______ K bytes
&MEMPGR = ______ K bytes
&JOBLIM1 = ______ jobs

&JOBLIM2, &JOBLIM3 calculated by SETA arithmetic

MAA__

MAC__

MAM__ &MAMOVE = _____ (if MAC2, etc)

&INITDEL = _______ milliseconds


CS411FP4 - 07

V.

&ECCH = __ (1 = charge for channel use, 0 = don't)

EO___

&EOP = ___ (1 = allow preemption of CPU)

VI.

IOI___ &IOINTVL = _____ (if IOLC)

IOO___

IOR___ &IOREQL = _____ (if IORC)

VII.

Since reports are not mutually exclusive, just list ones required
below.

&RDRINTV = _____ millisec (if report R2 is required)

******** NOTES ********


CS411MC1 - 01

COMPUTER SCIENCE 411 - MACRO ASSIGNMENT


DUE ________
This writeup: pages 01 - 03.

I. LINKAGE MACROS - QSAVE, QRETURN, QCALL

This set of macros covers the following items: OS/360 linkage


conventions, and some basic items of macro programming: referencing
macro arguments, obtaining items in sublists, use of local (and some
global) set variables, concatenation of set variables and other items,
&SYSNDX, and &SYSECT.

A. QSAVE - macro for entering subroutine

Your macro will be similiar to XSAVE or SAVE, and will accept the
following operands: REGS=, BASE=, SA=, as follows:

REGS=(reg1,reg2) will store registers reg1-reg2 at appropriate


locations , will be specified as numbers, and default to REGS=(14,12) .

BASE=number will set up register number as a program base


register. Defaults to BASE=12. VAlues 13,14,15 are illegal, should be
flagged by an MNOTE, and then use 12 instead.

SA=value controls save area linkage and save area name.


SA=NO means the subroutine has no save area, so that R13
should not be modified, and no inter-save area linkage created.
SA=name save area linkage will be done, and the address of
name will be placed in register 13 as the save area.
SA=* the macro will make up a unique name composed of the
first 3 characters of the current CSECT name, followed by a unique
number, followed by 'S', and will refer to this when setting up the
usual save area linkage. This name will be saved in a GBLC variable for
later use by QRETURN. Defaults to SA=* .

The QSAVE macro will also automatically generate an identification


field (as described in the LINKAGE WRITEUP). This identification field
will use either the label on the QSAVE statement, or will use the
current CSECT name, if there is no label on the QSAVE. It will generate
the minimum storage needed i.e., it cannot just generate:
B 14(,15)
DC X'9',CL9'name'

B. QRETURN - return from a subroutine

This macro is similiar to XRETURN or RETURN, and will accept as


arguments: REGS=(reg1,reg2), SA=value.

REGS=(reg1,reg2) registers to be restored. Default:REGS=(14,12)

SA=value controls save area linkage and generation of


a save area, and works exactly as does XRETURN. Thus, it accepts
SA=NO, SA=*, SA=name, and omitted operand.
CS411MC1 - 02

C. QCALL - call a subroutine

This macro can be written in any of the following forms:

1. label QCALL ,(arg1,arg2,....)

2. label QCALL entryname

3. label QCALL entryname,address list name

4. label QCALL entry name,(arg1,arg2,...)

Version 1 merely generates a list of addresses of each of the


arguments, with the last one flagged appropirately to show that fact.

Version 2 loads the address of the entry name (=V(entryname)) into


R15, and BALR's there, assuming R1 is already set correctly.

Version 3 is like version 2, but also does a LA to get the address


of the address list into register 1 before calling the routine.

Version 4 combines versions 1 and 3, with the address list created


inside the macro expansion (like the CALL macro does). (see CNOP instr)

D. SAMPLE EXPANSIONS OF THE MACROS

These expansions are examples: IT IS NOT NECESSARY TO GENERATE THIS


EXACT CODE, AS LONG AS THE CODE MEETS THE REQUIREMENTS GIVEN.

MAIN CSECT
QSAVE
+ USING *,15 . TEMPORARY USING
+ B 10(,15) . BRANCH AROUND IDENT
+ DC AL1(5),CL5'MAIN'
+ STM 14,12,12(13) . SAVE REGISTERS
+ LA 12,MAI0002S . GET SAVE AREA ADDRESS
+ ST 12,8(13) . POINTER TO NEW SAVE AREA
+ ST 13,4(12) . POINTER TO OLD SAVE
+ LR 13,12 . GET IN RIGHT SAVE AREA
+ BALR 12,0 . SET UP NEW BASE
+ DROP 15 . DELETE TEMPORARY
+ USING *,12 . NEW USING
CALL QCALL SUBX,ADDRX
+CALL DS 0H . DEFINE LABEL
+ LA 1,ADDRX . ADDRESS OF ADDRESS LIST
+ L 15,=V(SUBX) . SUBROUTINE ADDRESS
+ BALR 14,15 . CALL ROUTINE
GOBACK QRETURN SA=*
+GOBACK DS 0H . DEFINE LABEL
L 13,4(13) . RESTORE PREVIOUS SA PTR
LM 14,12,12(13) . RESTORE REGS
BR 14 . RETURN
+MAI0002S DC 18F'0' . SAVE AREA
ADDRX QCALL ,(MAIN,GOBACK)
+ADDRX DS 0F . DEFINE LABEL
+ DC A(MAIN)
+ DC X'80',AL3(GOBACK)
CS411MC1 - 03

E. ADDITIONAL FEATURES

If desired, additional features may be added to these macros,


which may receive extra credit. Do not however, spend too much time
on this assignment, and especilly do not spend a great deal of time
adding exotic features unless they really seem useful.

F. WHAT TO HAND IN

Hand in one run with all the macro listings, well-commented, and
showing complete macro-expansions and execution of AT LEAST the
following program (you may add more if you want, and should do so to
make sure all reasonably different cases are tested) :

MAINPRG CSECT
QSAVE
QCALL SUBX,ADDRX
QCALL SUBY
GOBACK QRETURN SA=*
ADDRX QCALL ,(MAINPRG,GOBACK)
LTORG

SUBXCS CSECT
ENTRY SUBX,SUBY
SUBX QSAVE SA=SUBXSA,BASE=11,REGS=(14,11)
cnop 2,4 cnop for nastiness
QCALL SUB1,(SUBX)
QCALL SUB2
SUBRET QRETURN SA=SUBXSA,REGS=(14,11)

SUBY QSAVE SA=NO


XPRNT =CL50'0*** AT SUBY *****',50
QRETURN SA=NO
LTORG

SUB1 CSECT
QSAVE BASE=13
QRETURN SA=*

SUB2 CSECT
QSAVE BASE=15,REGS=(2,12)
QRETURN SA=*,REGS=(2,12)

END
CS411MC1 - 04

COMPUTER SCIENCE 411 - MACRO ASSIGNMENT


DUE __________
This assignment: pages 04 - 08.

II. HEXADECIMAL CONVERSION, DUMPING MACROS: QHEXI, QHEXO, QDUMPO

These macros cover the following topics: macro/module linkage,


some macro processing techniques, and hexadecimal conversions. The
following instructions may be useful: TRT, PACK, TR, UNPK.

A. QHEXI - MACRO TO SCAN AND CONVERT HEXADECIMAL NUMBERS TO BINARY

1. REQUIRED FUNCTION OF MACRO

QHEXI is to function somewhat like XDECI, but for hexadecimal input


rather than decimal. It is to be called as follows:

label QHEXI reg,address

label is an optional statement label


reg is the name or number of a register
address is an RX-type address, i.e., anything legal in an LA instr.

Calling QHEXI should cause the following actions to be done:

a. The address should be evaluated and used as a scan pointer to


some character string in memory. A scan will be made starting at that
address, until the first character is found which is a hexadecimal
digit (0-9, A-F).

b. Starting at the first hex digit found, a hexadecimal number of


1-8 digits (followed by any character NOT a hex digit) is to be scanned,
and converted to a 32-bit binary value, right-justified, and filled on
the left with leading zeroes.

c. Register 1 is set to contain the address of the first non-hex


digit following the hexadecimal number.

d. The register specified in the macro call is loaded with the


value given by the hex number just converted (this may be any register).

e. The condition code must end up being set according to the sign
of the number placed into the register (=0 => 0, <0 => 1, >0 => 2).

2. ASSUMPTIONS PERMITTED

The implementation of this macro depends strongly on the what


assumptions are made about error condtions, modifications of registers,
etc. The following assumptions might be made. Consider their effects
on the code to be generated:
CS411MC1 - 05

a. Assume registers 0,1,14,15 may be completely destroyed by the


execution of the macro.

b. Assume that registers 0,14,15 may be changed by the macro, but


must be restored to their original values by the macro.

c. Assume that neither register 14 nor 15 is the current base reg,


but that registers 0,14,15 must all be restored by the macro if changed.

d. Assume that input hexadecimal numbers definitely contain no


more than 8 digits.

e. Assume that errors may exist in the input (i.e., more than 8
digits). Then either set the condition code to 3 to show error, ( e1 ),
convert the first 8 hex digits normally ( e2 ).

f. Assume that R13 contains the address of a usable s/360 savearea.

(Always assume the macro may not create code changing regs 2-13).

FOR THIS ASSIGNMENT, THE ASSUMPTIONS FROM ABOVE TO BE USED ARE:

a, e1, and f

3. USEFUL HINTS ON INSTRUCTIONS TO BE USED

a. SCANNING: the TRT instruction can usefully be employed to do


fast general scanning. Also, several tricks exist for setting up the
256-byte table needed to use a TRT instr. The following is an example
of code which scans until it finds the first instance of any letter
fROM A to R in a string:

LA 1,STRING init address of string


LOOP TRT 0(256,1),TAB1 scan
BNZ *+12 skip if any found
LA 1,256(,1) increment
B LOOP go back for next
..... at this pt, R1 => 1st letter
..... remaining code
TAB1 DC 256X'00' define whole table
ORG TAB1+C'A' back up location counter to
position of A in table
DC 9X'04' nonzero: stop on AIJ
ORG TAB1+C'J' now to position J
DC 9X'04' nonzero: stop on J-R
ORG , set loccntr to end again

The above table is used to STOP on any letter A - R. The table


below stops on any character EXCEPT letters A - R.

TAB2 DC (C'A')X'01' stop on anything before A


DC 9X'00' skip over A-I
DC (C'J'-C'I'-1)X'01' stop on ones between I-J
DC 9X'00' skip over J-R.
DC (255-C'R')X'01' stop on everything after R
CS411MC1 - 06

b. HEX CONVERSION - USING TR, PACK

A simple trick exists for obtaining conversion from hexadecimal to


binary, as long as the hexadecimal number ahas no more than 14 digits.
As an example, the code below can be used to convert hex numbers of up
to 8 digits.
Assume first, that the 1-8 digit hexadecimal number has been moved
to an 8-byte work area, right-justified (NOT LEFT, which is easier), and
filled on the left with character 0's (hexadecimal X'F0'). Thus, this
8-byte field is the hexadecimal number with leading zeroes. The bytes'
values then can be: A-F, 0-9, or X'C1'-X'C6', X'F0'-X'F9'. Then:

TR WORK,TAB3 convert C1-C6 to FA - FF


PACK FULL5(5),WORK(9) do funny pack

WORK DS CL8,C area with number, right justfd


FULL5 DS F,C fullword plus wiped-out byte

TAB3A DC X'FAFBFCFDFEFF' for converting C'A' => X'FA',etc


TAB3 EQU TAB3-C'A' put theoretical table origin
ORG TAB3+C'0' to position for character 0
TAB4 DC C'0123456789' leave digits alone

Note what'S OCCURRING ABOVE: since UNPK generally converts each


pair of bytes into one byte, it is likely we would want to use it for
a conversion in this direction. Unfortunately, it also reverses the
last two nibbles from the source field. But, if we pack 9 bytes into 5,
the extra ninth byte is reversed and placed into the extra fifth byte,
then each of the other bytes has the first nibble (X'F') removed, and
the second nibbles packed together into a 4-byte area, as desired.
*NOTE* if the ORG & EQU games above make little sense, try punching the
statements, running them with ASSIST, and checking the location values .

B. QHEXO - CONVERT VALUE IN REGISTER TO HEXADECIMAL

1. REQUIRED FUNCTION OF MACRO

This is like XDECO, but for hexadecimal instead of decimal:

label QHEXO register,address

label, register, and address are as described above under QHEXI

Calling QHEXO should cause the following to occur:

a. The value in the register should be converted to printable


hexadecimal format, and placed in the 8-byte area at the address given.

b. The condition code is unchanged by the execution of this macro.


CS411MC1 - 07

2. ASSUMPTIONS PERMITTED

a. Assume registers 0,1,14,15 may be completely destroyed.

b.Regs 0,1,14,15 can safely be destroyed, but restored by the end.

c. Assume that the current base register may be ANY register 1-15.

(Always assume that registers 2-13 may not be changed in the code
generated by the macro).

FOR THIS ASSIGNMENT, MAKE THE FOLLOWING ASSUMPTIONS FROM ABOVE:

c (consider using this macro in lowest-level routime with br=15)

3. USEFUL HINTS ON INSTRUCTIONS TO BE USED

a. CONVERSION: the output conversion is much easier than the


input one. Briefly, consider the effects of storing a register into
a fullword in memory, then unpacking 5 (FIVE) bytes from that area into
a 9-byte workarea, translating the first 8 bytes of that area, then
moving 8 bytes where desired:

Assume the data areas from the previous example, that the value
to be converted is in first 4 bytes of FULL5, and that the following
has been added immediately after statement labeled TAB4:

TAB4A DC C'ABCDEF' convert X'FA' => C'A',etc

Then:

UNPK WORK(9),FULL5(5) convert


TR WORK,TAB3 make printable

C. QDUMPO - PRINT LABELED REGISTER VALUE IN DECIMAL OR HEX

1. REQUIRED FUNCTION OF MACRO

label QDUMPO register,message,type

label is optional statement label

register is name or number of register to be printed

message is an OPTIONAL message to be used to identify output

type D or H. D => print in decimal, H => hexadecimal.


if omitted, default to D. If anything else used, issue
severity 4 warning message, then default to D anyway.

Calling QDUMPO should request the following actions:

a. If a GBLB set variable named &QDUMPO currently has the value


1, NOTHING IS GENERATED, EXCEPT POSSIBLY label DS 0H .
CS411MC1 - 08

b. If &QDUMPO has the value 0, then code is generated to convert


the desired register to decimal or hexadecimal, and print it out, with
an identifying message preceding it.(Add blank carriage control).

c. The identifying message noted in b is either the message operand


(which is always enclosed in quotes), or the message:
REGISTER register AT LABEL label

d. Neither registers nor condition code may be changed by the


macro expansion, and must be usable under any USING base from 2 to 13.

D. WHAT TO HAND IN

Add PRINT NOGEN'S to delete X-MACROS, and run program with data:

GBLB &QDUMPO
CSECT CSECT
XSAVE
LA 11,AREA3
LOOP XREAD CARD+1
XPRNT CARD,81
BM DONE
QHEXI 2,CARD+1
BALR 3,0
QHEXO 2,AREA2
QHEXO 3,0(,11)
QHEXI 4,0(,1)
QHEXO 4,AREA3+10
XPRNT AREA,AREA$L
CALL SUB1
B LOOP
DONE XRETURN SA=*
CARD DC CL81'0',20CL100' '
AREA DC C'0 VALUES OF REGISTERS 2,3,4: '
AREA2 DC CL10' '
AREA3 DC 2CL10' '
AREA$L EQU *-AREA LENGTH
SUB1 CSECT
XSAVE SA=NO,BR=15 WATCH OUT FOR THIS BASE REGISTER
QDUMPO 2,'HEX VALUE OF 2',H
QDUMPO 2,'DEC VALUE OF 2'
QDUMPO 4,'DEC VALUE OF 4',C'H'
SUB1H QDUMPO 4
QDUMPO 1,,H
L 0,=F'&QDUMPO'
QDUMPO 0,'VALUE OF &&QDUMPO='
&QDUMPO SETB 1
QDUMPO 4,'ERROR ERROR ERROR ERROR'
XPRNT =CL30' VALUE OF &&QDUMPO=&QDUMPO',30
XRETURN SA=NO
LTORG
END
DATA CARDS AS FOLLOWS (BEGINNING IN COLUMN 1):
00001234 FFFFFFFF
01ABCDEF,,,,,,,,,,,,,,,,,,,,,,,,,,1234567
12345678.<(+×&$*);-/,>:#@'=ABCDEFf
ONLY 1 #
CS411MC2 - 01

COMPUTER SCIENCE 411 MACRO ASSIGNMENT


DUE __________

III. LINKED LIST MACROS: QDEFL, QHED, QNEXT, QPOP, QPUSH, QSRCH, QSNAP

This assignment covers the following: one-way linked list handling


techniques and some macro instruction character-scan and operand
methods.

This assignment involves writing and testing a group of macros to


handle one-way linked lists, to be used heavily in the final project.
Each LIST to be processed is of the following form:

A HEADER WORD (or HEADER CELL, or just HEADER) is a fullword in


length, and contains the address of the first NODE in the list. Each
NODE is a block of storage, aligned on a fullword boundary, with a total
length a multiple of 4, with 3 basic subfields:

LINK: the first fullword of the NODE (offset 0). It contains


either the address of the next following NODE, if any exist, or else
a fullword binary zero to indicate that no more NODES follow, i.e., that
this NODE is the LAST NODE in the LIST.

KEY : 0 or more bytes (most commonly 4 bytes at offset 0, i.e. the


second fullword of the NODE). If present, this is used to ORDER a LIST
for insertion and retrieval of NODES. In this assignment, any ORDERED
LIST is kept in ASCENDING LOGICAL ORDER by the KEY field. For example,
a NODE having a key value of AAAA would precede that having KEY BBBB,
and so forth.

DATA: 0 or more bytes (most commonly at offset 8), divided into


as many subfields as needed and convenient to store the various values
associated with the KEY (if it exists).

An example of such a list is an alphabetical symbol table used in


an assembler, in which the KEY of each NODE is the symbol itself, and
the DATA bytes contain such things as: location counter value, length
attribute, section identifier number, and any other useful items like
ENTRY/EXTRN/CSECT flags, etc.

Given the setup described above, note that an EMPTY LIST (one
containing NO NODES), is just a HEADER CELL containing 0.

The following example illustrates an alphabetical LIST. Each NODE


contains a fullword LINK and KEY, plus 8 bytes of DATA, resulting in a
NODE length of 16:

LOCATION LINK KEY DATA ITEMS


(HEX) (HEX) (CHAR) (CHAR)
001000 00004000 (this is the header cell)

002000 00000000 CCCC 3RD ITEM

004000 00006000 AAAA 1ST ITEM

006000 00002000 BBBB 2ND ITEM


CS411MC2 - 02

The macros are to be written to handle the type of list just


described. The exact functions and formats are given below. Briefly,
QDEFL creates a LIST of empty NODES linked together, QHED creates a
HEADER, QNEXT obtains the address of the NEXT NODE in a LIST, given
a HEADER or address of a current NODE. QPOP POPS the first NODE from
a LIST (i.e., obtains the address of it and modifies the HEADER to
remove it form the list). QPUSH is the opposite of QPOP; it adds a
NODE to the beginning of a LIST, modifying the HEADER to do so. QSRCH
performs a LIST SEARCH AND INSERT, i.e., it searches an ORDERED LIST
for the correct position for a NODE according to KEY value, then INSERTS
the NODE in that position, altering the LINK of a NODE already there.
QSNAP is a debugging macro which DUMPS a list.

The following sections give example prototype statements for each


of the macros. NOTE: IN SOME CASES, DEFAULT VALUES ARE GIVEN FOR
KEYWORD OPERANDS. THESE ARE SUGGESTED AS BEING CONVENIENT, BUT THEY
ARE NOT, REPEAT NOT REQUIRED. YOU MAY SUBSTITUTE OTHER VALUES IF YOU
THINK THEY WILL BE MORE CONVENIENT DEFAULTS.

For the examples given, assume that the following EQU'S are
coded. YOU DO NOT HAVE TO USE THESE, THEY ARE ONLY INCLUDED AS EXAMPLES
OF MNEMONIC AND ERROR-STOPPING WAYS TO DO CERTAIN THINGS.

LINK EQU 0 offset of the LINK field in a NODE


KEYO EQU 4 common offset to key field.
KEYL EQU 4 most common KEY length
RWK1 EQU 5 temporary work reg, cannot be reg 0
RWK2 EQU 6 2nd temporary work reg, cannot be 0

NODE1 DSECT
NODELINK DS A link to next node
NODEKEY DS F KEY ordering field
NODEDAT1 DS CL8 first data item
NODEDAT2 DS H second data item
NODELEN EQU ((*-NODE1+3)/4)*4 node length, to 4-multiple

Unless otherwise specified, the label &LABEL is an optional


statement label, to be generated either on or before the first byte of
executable code in a macro expansion, or usually on the first byte of
data generated. POSSIBLE (BUT NOT NECESSARILY THE BEST) CODE is given
for at least one sample of each macro.
CS411MC2 - 03

A. QDEFL - DEFINE A LIST

&LABEL QDEFL &NUMBER,&LENGTH,&MESSAGE

This macro generates &NUMBER nodes, each of total length &LENGTH


bytes (including 4-byte link), linked together, with key/data areas
initialized to blanks, and preceded by an optional message.

&NUMBER is a self-defining term of value >0, giving the number of


nodes to be generated.
&LENGTH is any absolute expression giving a length for each node.
Code generated must allow for rounding this to 4-multiple.
&MESSAGE is a string enclosed in quotes. If omitted, the list only is
created, but if present, the message string is generated as
a C-type constant, rounded up to a 4-multiple, and placed on
a fullword boundary preceding the list. It is used for
debugging (i.e., to locate a list in memory in a dump).
&LABEL is generated on or before the first node generated.

LAVS1 QDEFL 2,NODELEN,'LIST OF FREE NODES FOR NODE1'


+ DC 0F'0',CL28'LIST OF FREE NODES FOR NODE1'
+LAVS1 DC A(*+((NODELEN+3)/4)*4),CL(NODELEN-4)' '
+ DC A(0),CL(NODELEN-4)' '

B. QHED - DEFINE LIST HEADER

&LABEL QHED &LISTNAM

If &LISTNAM is coded, this macro defines a HEADER containing the


address of this list, otherwise it is a header cell having a value of
0, i.e., defining an empty list.

For debug purposes, it may be very useful to let this macro


generate message '&LABEL LIST HEADER' or similiar thing immediately
preceding the header word.

HDR1 QHED LAVS1


+ DC 0F'0',CL16'HDR1 HEADER'
+HDR1 DC A(LAVS1)
LIST1 QHED
+LIST1 DC A(0)

C. QNEXT - GET ADDRESS OF NEXT NODE IN LIST

&LABEL QNEXT &RND,&ADDR,&RLK=,&END=

This macro sets register &RND to the address of the next NODE in
a list, given that &ADDR indicates the address of a NODE whose LINK
field points to the NEXT NODE. If desired, the value in &RND may be
saved into register &RLK before &RND is changed (useful for list search
and insert operations). If &END is specified, a test is made and
branch taken if there are NO MORE NODES in the list.
CS411MC2 - 04

The operands for QNEXT are described as follows:

&RND is a register EQU symbol or number, into which will be loaded


the address of the next NODE.
&ADDR if specified at all, is an RX-type address of the LINK field
which addresses the next NODE. The word at this address is to
be loaded into &RND. If omitted entirely, it is to be assumed
that &RND contains the address of the LINK already.
&RLK if specified, gives the name or number of a register into
which &RND should be saved before it is changed.
&END if specified, gives a statement label, in which case the value
newly loaded into &RND is to be tested, and if found = 0, a
branch taken to the given statement label.

LOOP QNEXT 5,RGL=RWK1,END=ENDLOOP


+LOOP LR RWK1,5
+ L 5,LINK(,5)
+ LTR 5,5
+ BZ ENDLOOP

D. QPOP - POP FIRST ELEMENT OF LIST

&LABEL QPOP &RND,&HDR,&END=

QPOP sets register &RND to the address of the first NODE in the
LIST begun by HEADER at address &HDR, taking branch to &END= if the
list is empty. (IT SHOULD BE OBVIOUS TO USE QNEXT AS AN INNER MACRO).

&RND specifies register to be set to address of NODE.


&HDR usually specifies the name or other RX-address of the header
cell of a list.
&END if specified, requests code to test the LINK just loaded into
&RND, and branch to the label specified if it = 0.

LOOPA QPOP R6,HDR1,END=ENDA


+LOOPA L R6,HDR1
+ LTR R6,R6
+ BZ END
+ MVC LINK+HDR1(4),LINK(R6)

E. QPUSH - PUSH NODE ONTO BEGINNING OF LIST

&LABEL QPUSH &RND,&HDR

&RND contains the address of a NODE, which is pushed onto the list
begun at &HDR.

&RND specifies a register name or number.


&HDR is a name of a header cell.

PUSHX QPUSH R8,HDR1


+PUSHX MVC LINK(4,R8),HDR1
+ ST R8,HDR1
CS411MC2 - 05

F. QSRCH - LIST SEARCH AND INSERT

&LABEL QSRCH &RND,&HDR,&RGW=(RWK1,RWK2),&KO=4,&KL=KEYL

This macro searches the list begun by header &HDR, which is linked
in ascending order by KEY fields, for the correct place to insert the
NODE addressed by register &RND. The KEY fields are at offset &KO, and
are &KL bytes long. &RGW gives two registers which may be used if
needed for temporary work registers without disturbing anything.

&RND gives address of the NODE to be inserted.


&HDR is the name of the list HEADER CELL.
&RGW gives the names/numbers of 2 registers which can safely be
used as temporary work registers, and destroyed by the macro.
&KO gives a number (or EQU symbol) of the offset in bytes from the
beginning of the NODE to the KEY field in the NODE.
&KL is the length (number or EQU value) of the KEY field.

Note that the NODE to be inserted is inserted AFTER any NODES which
have the SAME KEY value.

SEARCH QSRCH R10,HDR1


+SEARCH LA RWK1,HDR1
+QQ0002AA LR RWK2,RWK1
+ L RWK1,LINK(,RWK1)
+ LTR RWK1,RWK1
+ BZ *+14
+ CLC 4(KEYL,RWK1),4(R10)
+ BNH QQ0002AA
+ ST RWK1,LINK(,R10)
+ ST R10,LINK(,RWK2)

G. QSNAP - PRINT CONTENTS OF LIST

&LABEL QSNAP &HDR,&MSG,&RGW=(RWK1,RWK2),&COUNT=4095,&LEN=20

This macro dumps the list beginning at the HEADER &HDR, using XSNAP
if desired with a message &MSG printed. The work registers needed are
given by &RGW, and up to &COUNT NODES are printed.

&HDR is name of LIST HEADER.


&MSG is quoted string used as title for list output.
&RGW specifies names/numbers of 2 registers which may be erased.
&COUNT specifies the maximum number of nodes to be printed.
&LEN is an absolute expression giving node length in bytes.

DUMP QSNAP HDR1,'LIST 1',COUNT=4,LEN=NODELEN


+DUMP LA RWK1,4
+ LA RWK2,HDR1
+QQ0008AA QNEXT RWK2,END=QQ&SYSNDX.BB (not expanded)
+ XSNAP LABEL=&MSG,T=NO,STORAGE=(*0(RWK2),*&LEN.(RWK2))
+ BCT RWK1,QQ0008AA
+QQ0008BB EQU *
CS411MC2 - 06

H. OTHER USEFUL MACROS (OPTIONAL) : LREMV, LNMBR

The following macros may be found to be useful, but are not


required:

&LABEL LREMV &RND,&RLK

LREMV removes the NODE addressed by &RND from a LIST, assuming that
register &RLK addresses the LINK field of the NODE which points to the
NODE addressed by &RND, i.e., the value in &RND and the value in the
LINK field addressed by &RLK are the same.

&LABEL LNMBR &HDR,&MSG,&RGW=(RWK1,RWK2)

LNMBR counts the number of NODES present in the list headed by


&HDR, placing result in first register given by &RGW, and using second
one as a work register. If &MSG is specified also, the number is
printed with &MSG as a heading.

I. TESTING THE MACROS: WHAT TO HAND IN

Write a program to test your macros as follows:

1. Define a list of 15 empty nodes called FREE list, each with


8-byte KEY and 12-byte DATA areas. Also define two empty lists, LISTA
and LISTB. (i.e. these are names of headers).
2. Read in 10 data cards, each of which contains KEY and DATA for
a single NODE in columns 1-20. After each card is read, obtain an empty
NODE from the FREE list, fill it with the KEY and DATA just read (and
you must use a DSECT to refer to these fields at this point), then enter
it in LISTA.
3. Dump lists FREE, LISTA, and LISTB.
4. Read in 5 cards, each with a KEY value on columns 1-8. Search
LISTA for the same KEY value. If not found, print a message. If found,
first remove the node from LISTA, then push it onto beginning of LISTB.
5. POP each node of LISTA, print each as it is obtained, then place
the NODE back onto the FREE list, until LISTA is empty.
6. Peform same action as in 5, but for LISTB.
7. Show macro expansions for any other special cases you may wish
to display. Demonstrate that they work only if you feel like it.

USE THE FOLLOWING SEQUENCE OF KEY VALUES AS TEST DATA:

CCCCCCCC, AAAAAAAA, DDDDDDDD, FFFFFFFF, BBBBBBBB,


ZZZZZZZZ, XXXXXXXX, GGGGGGGG, KKKKKKKK, EEEEEEEE

(set to be moved from LISTA to LISTB if found)


NOTFOUND, ZZZZZZZZ, AAAAAAAA, AAAAAAAA, KKKKKKKK
CS411TPA - 01

COMPUTER SCIENCE 411 - TOPICS COVERED, HANDOUTS


WINTER TERM 1972 - MASHEY

The handouts given out are are described in file CS411HN

# DATE topics, handouts


-- --/--/72 ---------------------------------------------------------

1 01/06 introduction to course, covering:


prerequisistes (101, 102, 404, or equivalent)
outline of topics to be covered later (macros, operating
systems, input/output, large machines, assemblers,
loaders, memory organization, JCL, OS/360, etc)
useful macros (some review): XSNAP, XDUMP, XSTOP, XSET,
XREAD, XPRNT, XPNCH, XDECI, XDECO.

HANDOUTS: INFOR411 (basic information & what to expect)

2 01/08 (OMITTED)

3 01/11 administrative details; linkage conventions and macros.


Registers on entry to subroutine (1,13,14,15).
Parameter list format; PARM field setup as special case.
Linkage actions expected of subroutine: save area format.
Code for return from subroutine; function return, return code.
XSAVE: RGS, SA, BR, TR operands.
XRETURN: RGS, SA, TR operands. use of XSET with them.

ASSIGNMENT: run programs as described by writeup DUMPSJCL, bring


dumps to next class.
READING: ASM LANGUAGE MANUAL: Sections 1,2; 3 (except on External
Dummy Sections, CXD, DXD, COM); 4, 5 (except OPSYN, CCW,
ICTL, ISEQ, PUNCH, REPRO).
HANDOUTS: LINKAGE (linkage conventions for S/360)
DOCUMENT (documentation techniques)
INST (hints on machine and assembler instructions)
XREAD (XREAD/XPRNT/XPNCH macro descriptions)
XSNAP (XSNAP/XSTOP/XSET macro descriptions)
XSAVE (XSAVE/XRETURN macro descriptions)
DUMPSJCL (simple JCL, sample runs to get dumps)

4 01/13 interpreting output, dumps, debug techniques.


go through entire run of ASGCG, using MSGLEVEL=1, /*LOG.
System log information - times, addresses, completion code.
listing of JCL cards supplied, note manual Messages/Codes.
Assembly listing: External Symbol Dictionary, listing,
Cross-Reference, and uses of each. follow linkage code.
OS/360 Loader MAP - addresses.
information in the dump - how to find where error occurred.
COMPLETION CODE, APSW, SA TRACE, REGISTERS, STORAGE (SP 000)

HANDOUTS: CS411AS1 (pages 01-02) - 1st assignment, linkage, decks


DUE IN ONE WEEK
READINGS: ASSEMBLER LANGUAGE: Sections VI to end.
REFERENCE: Computing Surveys 1,4(Dec 1969), 183-196.
CS411TPA - 02

5 01/13 complete dump reading


follow step-by-step procedure for locating errors in dump.
system completions (precise and imprecise), user completion,
differences between link-editor and loader dumps.
interrupts: 1,2,3,4,5,6. and their meanings.
6 01/18 begin macro-instruction writing.
basic concepts of macros - comparison with FORTRAN subroutine.

HANDOUTS: CS411MC1 (pages 01-03) - MCALL, MSAVE, MRETURN ASSIGNMEN

7 01/18 details on macro statements.


most of macro statement types (with FORTRAN counterparts),
various examples. MACRO, PROTOTYPE, LCLx, GBLx, SETx, SET
VARIABLES, AIF, AGO, CONCATENATION, SUBSTRING, &SYSECT,
&SYSNDX.

8 01/20 completion of S/360 macro language


Operand processing, postional/keyword, sublists, attributes,
accessing of suboperands, usage of &SYSLIST. many examples.
Program design (5 minutes worth): importance of good design,
flowcharting, debugging techniques.
9 01/25 macro problems, multiple entry, CNOP, external symbols.
answer questions on macros, note problems with k'&SYSECT.
give examples of ENTRY usage, multiple entry points, and the
usual ways to use them. go over CNOP and how to use it.
note differences between external symbols, which exist as
symbols after assembly, and internal ones, which do not.
note USING across CSECTS, and fact that CSECTS may not be
in same order as in assembly.

HANDOUTS: ASPRGTC1 (01 - 08) - macros, internal subroutines, and


extenals, and when to use them.
ASBROPS2 (01 - 03) - ASSIST base register assignment
ASREPLGD (01 - 11) - ASSIST REPLACEMENT USER'S GUIDE.
ASSIGNMENT: write base register routine (ASBROPS2), using either
method A (worth 5 points) or method B (worth 10 points), due
02/18.

10 01/25 addressbility, USING, DROP, DSECTS


Methods for addressing large data areas using A-type adcons.
Typical setup of 1-2 local bases plus one for global table.
DSECTS: write a simple DSECT, then reference in code, showing
that each reference meerely requests a base-displacement to
be computed. Show equivalent code written explicitly, and
show why DSECTS are better for readability and ease of
modification. also show method of computing length of DSECT
using NL EQU *-NAME , and how this can be used in DC and
other instructions for real ease of change.
note importance of DROP, especially with different registers
and over what BROPS2 does.
CS411TPA - 03

11 01/27 types of assemblers, large 4-pass assemblers


answer questions about assignments, base registers, etc
assembler classification by number of passes: 2,4,1, etc
Two-pass:
Pass 1: opcodes, location counter, allocate storage, symbol
table, literal table, ORG, START, EQU#
Pass 2: produces object code for machine ops, DC's, etc
base register table, listing, PRINT, TITLE
Four-Pass: (differences between Assemblers F and G)
NOTE/POINT operation; phases versus passes.
F1: initialization, hash opcodes into global dictionary
F2(Pass 1): source program scan, build macro dictionaries,
get system macros from libraries.
F3(pass 2): macro expansion, use of NOTE/POINT stack
F7(pass 3): location counter, etc.
FI: ESD written out
F8(pass 4): final assembly, TXT cards (object code)
FPP (post processor): XREF
Global Dictionary: opcodes, macro names(NOTE addrs), GBLx
Local Dictionary: 1 for each macro/open code, sequence
symbols (NOTE addrs), ordinary symbols, LCLx, symbolic
parameters for macros. only in core when needed.
Values: set variables: pass 2; ordinary symbols: pass 3,4.
One-Pass: FORWARD REFERENCE PROBLEM

HANDOUTS: ASMTUT1 tutorial on assemblers


CS411MC1: macro assignment: hex conversions and dumps
ASSIGN: write macros for CS411MC1, due in 3 weeks+day.
12 02/01 TRT usage, types of operating systems, history.
TRT table manipulation (reference to handout CS411MC1 - HEX
conversions). using ORG instructions in tables. how TRT
works, including code equivalent.
OPERATING SYSTEM TYPES (BY HISTORY)
1) HANDS ON
2) BATCH PROCESSING (uniprogramming)
3) MULTIPROGRAMMING SYSTEMS (with SPOOLing)
4) TIMESHARING SYSTEMS

Other classifications: A) UNIPROCESSING and B) MULTIPROCESSING

HANDOUTS: CS411MC2 (pages 01 - 06) Linked List assignment


ASSIGN: assignment given by CS411MC2, due 02/22.

13 02/01 operating system types, programs, begin hardware.


give comparison table for OS types.
program attributes: non-reusable, serially resusable, reent.
REAL-TIME SYSTEMS.
COMPUTER ARCHITECTURE: CPU(S), PRIMARY MEMORY, CHANNELS, IO.
memory fetch/store; access/writeback/cycle times.
physical word versus logical word. interleaving.

READINGS: POP: pages 5-7, 15-22, 68-83 (IO, etc).


CS411TPA - 04

14 02/03 memory protection; input/output devices (DASDS)


this lecture continues preparation for general concepts of
operating systems and I/O system operation.
CPU: note Mode bit for supervisor/problem states
types of memory protection:
1) NONE use in HANDSON systems only
2) PROTECT BIT IN WORD cheap, but inconvenient
3) BASE-LIMIT REGISTERS - 1 pair: movable programs
but no reentrant code easily.
4) 2 PAIRS OF BOUNDS REGISTERS - rrentrant code OK.
5) LOCK AND KEY (S/360) - in detail
to be continued: under virtual memories
I/O DEVICES: beginning with DASD's
Drums, fixed-head disks, movable head disks, data cells.

HANDOUTS: HARDWAR1 (01 - 04, A) PSU 360/67 configuration+


information on devices.
CS411FP1 (01 - 08) 1st part of final project.
ASSIGN: final project, due 03/09.
READING: read on privileged operations in POP.

15 02/08 I/O devices completed, I/O processing beginning.


miscellaneous questions on current addignments.
Magnetic TApes: physical records vs logical records, blocking
factors, tape gaps, parity bits (EVEN, ODD), comparison of
tape usage blocked 80-80 or 80-8000.
Printers: bar, drum, train/chain.
I/O channels: control between CPU and CHANNELS
CYCLE STEAL.
Types of channels: selector (burst mode only)
multiplexor (burst and multiplex modes both)
S/360 actions: interrrupts: old and new PSW's, usage.
Masks: masking off interrupts, using 1st 4K of memory.

HANDOUTS: CS411FP2 (01 - 08) 2nd part of final project


CS411FP3 (01 - 08) 3rd part of final project

16 02/08 debugging,machine-level I/O, overview of operating systm


debug technique: XSNAP IF= option, similair methods.
I/O interrupts adn handling.
CHANNEL cicuitry - shared or separate.
CCW's, CAW, CSW, and how they interact. Expand I/O process,
note command and data chanining, SCATTER READ, GATHE WRITE.
use of protection keys like main memory.
OPERATING SYSTEM (FINAL PROJECT) overview. - RDR/INT, INIT,
DISPATCHER, I/OHADNLING.

NOTE: half-period quiz next time on hardware, general concepts,


especially for final project.

NOTE: XREAD and XPRNT will not be used on final project.


CS411TPA - 05

17 02/10 simulation concepts and implementation


continuous versus discrete simulations; clocks, event queues.
follow entire process of final project simulation, outlining
lists modified and programs whihc manage them, with overall
scheduling structure.
options to be done for this project: 1024K bytes memory,
CPU: 1, CHANv (3-15). JOB card: PARM1 (simple one), etc
through all options desired.
HANDOUT: CS411FP4 (01 - 08) specific implementation on FP.

18 02/15 module management


(final project discussion): implementation of global table
csect/dsect.
source program -> translator -> object program.
object modules -> LOADER -> executable program
object modules -> LINK EDITOR-> load module
load module -> fetch -> executable program
object module parts: ESD, TXT, RLD, END, and purposes of
each. usage of loader and waht it does.

HANDOUTS: CS411FP5 (01 - 04) FP flowcharts.


MODULES (01 - 09, 19) object/load module management

19 02/15 link editor, load modules, overlays


differences between loader and link editor, object modules and
load modules, advantages and disadvantages.
overlays: concepts, trees, commands to set them up. briefly
on implementation of them.
options to be used on loader and link editor.

20 02/17 user overview of OS/360 services.


program managment and design, data managment, job management,
task management.
program structures: simple, planned overlay, dynamic serial &
dynamic parallel.
management of resources: job, task, and data.
data management: types of data sets (SDS, Direct, PDS, IS)
and what they are used for.

21 02/22 overlay methods, input/output concepts and record formats


go over OVLY1 and OVLY2 programs, pointing out size reductions
possible and the control cards used, note PROC on OVLY2.
I/O concepts: buffer groups, flip-flop buffers.
record formats: F, FB, V, VB, VBS, U and comparisons of
LRECL, BLKSIZE, # records/block, efficiency, ease of use.
1 outline of rest of term.

READINGS: first 10 pages in DATA MANAGEMENT SERVICES


ASSIGN: run QSAM and EXCP files for next time.
CS411TPA - 06

22 02/22 OS/360 macros: all except data management


two types: with SVC calls (regs 0, 1, 15 destroyed often)
and without (0, 1, 14, 15 usually wiped, need save area).
JOB MANAGEMENT: communication with operator.
WTL - write to log
WTO - write to operator
WTO - ROUTCDE=11 (write to programmer)
WTOR - write to operator, and get reply
PROGRAM/TASK MANAGEMENT
Program Linkage inside one load module.
CALL, RETURN, SAVE
Linkage inside load module for overlay modules.
SEGLD - begin loading a segment
SEGWT - make sure segment in.
Program Linkage between load modules.
(note responsibility count = # TASKS currently using a
load module. if = 0, not needed any more).
LOAD - bring to memory, CNT = CNT + 1.
DELETE - CNT = CNT - 1, remove if desired.
LINK - bring to memoy, CNT = CNT + 1, pass control
(CALL between load modules)
XCTL - CNT (calling module) = CNT - 1, bring called
module to memory if needed, its CNT = CNT + 1.
pass control to it, no return, BRANCH between
modules.
Task Creation and Management
Task is basic resource allocation unit, each has a Task
Control Block, and can compete for resources. EAch job has
1 JOB STEP TASK, and 0 or moreSUBTASKS, in tree structure.
ATTACH - create a task.
DETACH - destroy task, terminate processing.
ABEND - abnormal end of task.
CHAP - change priority of a task.
EXTRACT - get data from TCB.
Storage Management
EAch job is given REGION, but space is left in it to be used.
GETMAIN - obtain main storage dynamically, supply length
and get back address of area(s).
FREEMAIN - return storage to the system.
Synchronization
(needed for both TASKs and I/O)
WAIT for an event to occur
POST occurrence of event (ECB's)
ENQ, DEQ (less important to user)
Timing
TIME - get time and date
STIMER - set timer, get interrupt, REAL or TASK.
TTIMER - tests timer, gets amount left.
hardware types of timers.
Error Handling
SPIE - get program interrupts.
STAE - get all ABEND's of any kind
Debug
SNAP - dump storage and registers.
DOCUMENT-1

S/360 Assembler Language


Documentation and Listing Techniques

by John R. Mashey and Andrea Rhodes

Goals of Good Documentation :


1. Aid in designing good programs
2. Aid in debugging programs
3. Make programs clear and understandable once written
4. Make structure of program well-organized

Good documentation is a great aid to producing clear, well-written,


and understandable programs, and can save much programming and computing
time. Good documentation is especially necessary for programming
projects requiring either a long period of time by one programmer,
any period of time by more than one programmer, or modifications to any
code by anyone other than the original author. Good documentation
techniques can be helpful in the following ways:

PROGRAM DESIGN
Many beginning programmers seem to write programs in haphazard
and unplanned ways, and often add comments only after the program is
running. This method not only leads to poorly-structured programs,
but usually results in wasted time, and is not feasible except for
relatively trivial problems.
A much better method is to write most of the overall comments with
a flow chart first, specifying the structure and conventions of the
program, and then writing the program to fit. This usually leads to
cleaner-coded, well-structured programs which are produced in less
time than those written by most novice programmers.

PROGRAM DEBUGGING
Program debugging is aided by documenting a program before and
during its creation, rather than afterward. Many mistakes can be
avoided by having programming conventions well-specified before writing
the code. The very act of adding a comment to a statement often helps
identify errors in the statement, because it forces the programmer to
think about the function of the statement. Finally, good documentation
is useful if help is required from someone else, since it aids one in
understanding the program quickly. (It also makes other people much
more willing to look at a program!)

PROGRAM MODIFICATIONS
Clear and complete documentation is absolutely invaluable when a
program must be modified, especially if anyone but the original
programmer is making the changes. It may be noted that useful programs
tend to be modified often.
DOCUMENT-2

ASSEMBLY LANGUAGE DOCUMENTATION


The following advantages apply to any computer language.
However, they are most important for assembly language, for the
following reasons:
1. Assembly language programs typically require many more
statements than do high-level language programs for the same task.
2. Assembly language programs are not usually self documenting.
Without good documentation, not even the programmer who wrote the code
will be able to understand it several months later.
3. Assembly language programs are often very sensitive to minor
changes, much more so than higher-level languages.

The remainder of this paper describes a well-documented assembly


program, and notes the various techniques which can be used to achieve
this result. Briefly, a well-documented program has the following
characteristics:

1. The documentation structure mirrors the program structure, and


it leads from the general to the specific. Thus, the program begins
with a block of comments which describes the overall purpose of the
program, and gives some indication of the general structure. Each
major section has a block of comments describing it, as does each
of the section's subsets.
2. At least 95% of machine-instruction statements have comments.
3. The program is easy to read, and blocked off into logical
sections, so that anyone may look at it and understand it easily.
4. Good programs typically have 15-25% of the total statements
as comment cards, in addition to the comments on the individual
statements.

S/360 ASSEMBLER DOCUMENTATION HINTS--DO'S and DON'TS

DON'T
punch statements in random columns. This makes a program very
unreadable. Use a drum card, and if you do not know how, ask your
assistant. The following is a defacto standard for S/360 Assembler
statements:

Col. 1 : LABELS
Col. 10: OPERATION CODES
Col. 16: OPERAND FIELD
Col. 36: COMMENTS (col. 40 is preferred by some people)
Col. 72: CONTINUATION COLUMN
Col. 73-80: SEQUENCE NUMBERS (very useful--ask your assistant
how to sequence a deck if you are unsure)

This layout can be obtained by the use of the following drum card:
Cols. 1,10,16,36,73: punch '1' (gives tab stops at these cols.)
Col. 72: punch '-' (skips col. 72 automatically, unless AUTO
DUP/SKIP is off)
All other columns: punch 'A'
If for some reason these columns are not wanted, a standard set should
be decided upon, and then held to completely.
DOCUMENT-3

DON'T
Place a comment card before every statement. This bad habit makes
programs absolutely unreadable. Embedded comments should be used to
block programs into logical sections, not to explain the function
of individual statements.

DON'T
bury code with too many interspersed comments. If so many
comments are necessary, place them in blocks ahead of the program
segments and not in the middle.

DO
put a comment on nearly every machine instruction. Comments are
also helpful for explanations of variables and flags. Each comment
should describe the function of its statement, and generally, it alone.
If a comment is needed to describe the function of a block of
half-a-dozen cards, it probably should be placed on a comment card
preceding the block of code. These comments should be punched when
the program is originally punched. A good technique is to add these
comments while keypunching the program. Often, this results in
catching many mistakes at that point. It is noted that few novice
programmers do this, while most experts do. It is also noted that
many programmers who do this wish they had started doing so earlier,
since they realize how much time they had wasted by not commenting
the original deck.

DO
use TITLE, SPACE, and EJECT commands. The command
TITLE 'A HEADING MESSAGE'
skips the listing to a new page, and prints the heading message at the
top of every page until another TITLE command is issued. This not only
clearly labels your listing, but it saves time in looking through a
listing which is more than a few pages long. The command
EJECT
skips the listing to a new page, and is useful in blocking off major
parts of a program. The command
SPACE n
inserts n blank lines into the listing at that point. This is useful
for blocking off smaller sections of a program, particularly small
loops, register equates, etc.
Not only do listing control instructions aid to the readability
of a program, but they also save the programmer time in debugging.

DON'T
merely restate an instruction when you place a comment on it.
Of the following two examples, which is more explanatory?

A 1,VAR ADD VAR TO REGISTER 1

A 1,VAR R1=SUMMATION OF ODD PRIME NUMBERS

DON'T
put several single comments between statements in an unreadable
manner. It is often useful to indent a single comment to column 16.
This keeps it from interfering with the reading of labels and opcodes,
and thus distinguishes it from the machine instructions.
DOCUMENT-4

DO
use comment card blocks which list useful information. For
example, a list of register allocation and usage is extremely
helpful, not only in debugging, but also in revising a program.
Such a list should appear as part of the preface to the appropriate
section of code. Another example is a list of calling conventions for
subroutines. For extensive programs, lists of the following might be
kept at the beginning of each subroutine: MACROS USED, SUBROUTINES
CALLED BY THIS SUBROUTINE, SUBROUTINES WHICH CALL THIS SUBROUTINE,
VARIABLES USED BY THIS SUBROUTINE, VARIABLES CHANGED BY THIS
SUBROUTINE, etc.

DO
block off large sections of comment cards. Large blocks of
comments can begin in whatever column is appropriate, but in general,
should use most of the card, since they will otherwise add a great deal
of length to a program. For the sake of appearance, comments should
be blocked off by blank lines (SPACE n) or lines of continuous
characters. The most common characters used for this purpose are
asterisks (in columns 1-71, or in just the odd columns). An esthetic
appearance can be obtained by placing an asterisk in column 71 of each
comment card in a major block, with lines of asterisks before and after
the entire block of documentation.

DO
flag instructions which will be modified during execution in order
to make programming logic obvious. This may be accomplished by using
'*-*' or '$', the latter EQU'ed to zero, for any modified field. For
example,

$ EQU 0 $ => INST. MODIFIED IN EX

.......... other statements ..........

STC 2,MVC+1 SET BUFFER LEN. FOR LATER


* USE.

.......... other statements ..........

MVC MVC OUTPUT($),0(5) MOVE VARIABLE # BYTES INTO


* OUTPUT BUFFER.

.......... other statements ..........

The above methods have been derived both from the examination of
many professionally-written programs and from the authors' own
experiences. Thus, they are not arbitrary rules but techniques which
have been widely used and proven to be effective aids in programming
assembler language.
CMPSC 411 - DSECT Example

PRINT NOGEN
EQUREGS
MAIN CSECT
XSAVE . ESTABLISH STANDARD LINKAGE
CALL NEXT CALL LOWER ROUTINE
XRETURN SA=* ESTABLISH SAVE AREA
LTORG
NEXT CSECT
XSAVE . ESTABLISH STANDARD LINKAGE
CALL LAST CALL LOWEST ROUTINE
XRETURN SA=* ESTABLISH SAVE AREA
LTORG
LAST CSECT
XSAVE . ESTABLISH STANDARD LINKAGE
CALL TRACE CALL TRACE RTN TO PRNT S.A.
XRETURN SA=* GENERATE SAVE AREA
LTORG
*
* THE ABOVE ROUTINES DO NOTHING BUT ESTABLISH LINKS TO TRACE
* THROUGH THE SAVE AREAS
*
*
* ROUTINE TRACE PROVIDES A PRINTED TRACE OF THE NAMES OF THE
* CSECTS OF ACTIVE S.A.'S. IT USES DSECTS SAVEAREA AND NAMECONV
* TO FORMAT THE SAVEAREA AND FIRST FEW BYTES OF THE PROGRAM.
*
TRACE CSECT
XSAVE SA=TRACESA ESTABLISH LINKS
USING SAVEAREA,R13
USING NAMECONV,R15
XPRNT =CL25'0BACK TRACE OF SAVE AREAS--',25
L R13,4(R13) CONNECT TO FIRST ACTIVE S.A.
LOOP LTR R13,R13 CHECK IF END OF CHAIN
BZ DONE IF YES, EXIT
L R15,REG15SAV GET PTR. TO BEGIN. OF CSECT
CLC BRANCH,=X'47F0' CHECK TO SEE IF VALID BRANCH
BNE ERROR IF NOT, ABORT
IC R7,LENGTH PICK UP LENGTH OF NAME
BCTR R7,R0 SET UP FOR EXECUTE
EX R7,MOVE MOVE CHARS. OF NAME TO OUTPUT
XPRNT OUT,40 PRINT NAME OF ROUTINE
MVC OUT+1(39),OUT BLANK OUT OUTPUT AREA
LM R14,R11,REG14SAV RELOAD REGS. (FOR RETURN)
L R13,BACKLINK FOLLOW LAST LINK
B LOOP
DONE XPRNT =CL25'0BACK TRACE COMPLETED',25
LA R13,TRACESA
XRETURN SA=TRACESA
ERROR XPRNT =CL25'0ERROR IN TRACE-BACK',25
ABEND 999 ABORT
MOVE MVC OUT+1(*-*),NAME INSTR. FOR EXECUTE
OUT DC CL40' '
LTORG
DSECT - 2

*
* THE FOLLOWING DSECT FORMATS THE SAVE AREA
*
SAVEAREA DSECT
UNUSED DS F
BACKLINK DS F PTER TO HIGHER S.A.
FORELINK DS F PTER TO LOWER S.A.
REG14SAV DS F SAVE AREA FOR REG 14
REG15SAV DS F START OF S.A. FOR REG 15-12
*
* THE FOLLOWING DSECT FORMATS THE BEGINNING OF A CSECT. IF THE
* NAME CONVENTION IS FOLLOWED, THE FIRST INSTR MUST BE A BR. ON
* R15 AS A BASE REG. FOLLOWED BY A LENGTH AND A NAME.
*
NAMECONV DSECT
BRANCH DS XL2,XL2 SPACE FOR BSC INSTR(4 bytes)
LENGTH DS C
NAME DS C SPACE FOR NAME (MARK BEGINNING
* ADDR. ONLY)
END MAIN
/*

Following is the output from this example--

*** MAIN ENTERED ***


*** NEXT ENTERED ***
*** LAST ENTERED ***
*** TRACE ENTERED ***
BACK TRACE OF SAVE AREAS
TRACE
LAST
NEXT
MAIN
IEWLCTRL
BACK TRACE COMPLETED
*** TRACE EXITED ***
*** LAST EXITED ***
*** NEXT EXITED ***
*** MAIN EXITED ***
DSECT - 3

Following is the actual assembler listing of the TRACE csect.


Notice those instructions which reference labels from the SAVEAREA and
NAMECONV dsects. Look at the object code and see what the base register
and displacement by which they were assembled is.

LOC OBJECT CODE ADDR1 ADDR2 STMT SOURCE STATEMENT


000300 192 TRACE CSECT
193 XSAVE SA=TRACESA
000000 220 USING SAVEAREA,R13
000000 221 USING NAMECONV,R15
222 XPRNT =CL15' BACK TRACE
000386 58DD 0004 00004 232 L R13,4(R13)
00038A 12DD 233 LOOP LTR R13,R13
00038C 4780 C07E 003E0 234 BZ DONE
000390 58F0 D010 00010 235 L R15,REG15SAV
000394 D503 F000 C1C6 00000 00528 236 CLC BRANCH(2),=X'47F0
00039A 4770 C13A 0049C 237 BNE ERROR
00039E 4370 F004 00004 238 IC R7,LENGTH
0003A2 0670 239 BCTR R7,0
0003A4 4470 C170 004D2 240 EX R7,MOVE
241 XPRNT OUT,40
0003CE D226 C177 C176 004D9 004D8 251 MVC OUT+1(39),OUT
0003D4 98EB D00C 0000C 252 LM R14,R11,REG14SAV
0003D8 58D0 D004 00004 253 L R13,BACKLINK
0003DC 47F0 C028 0038A 254 B LOOP
255 DONE XPRNT =CL20'TRACE COMPL
000406 41D0 C0F2 00454 265 LA R13,TRACESA
266 XRETURN SA=TRACESA
285 ERROR XPRNT =CL20'ERROR IN TR
295 ABEND 999,DUMP
0004D2 D200 C177 F005 004D9 00005 303 MOVE MVC OUT+1(*-*),NAME
0004D8 4040404040404040 304 OUT DC CL40' '
000500 305 LTORG

310 *
000000 311 SAVEAREA DSECT
000000 312 UNUSED DS F
000004 313 BACKLINK DS F
000008 314 FORELINK DS F
00000C 315 REG14SAV DS F
000010 316 REG15SAV DS F
317 *

000000 318 NAMECONV DSECT


000000 47F0 F000 00000 319 BRANCH B 0(,15)
000004 320 LENGTH DS C
000005 321 NAME DS C
322 *
000000 323 END MAIN
DUMPSJCL - 01

ASSIGNMENT A - DUMPS AND JCL INTRODUCTION

The first assignment (not to be turned in) is essentially to use


the Job Control Language and deck setups to be used most often during
term, and also to become familiar with the completion dumps issued by
OS/360.

I. JCL AND DECK SETUPS - OS/360

A. LOADER CATALOGED PROCEDURE - ASGCG

The following is the RECOMMENDED PROCEDURE for any assembler run


which cannot be run under ASSIST, and which does not require some of the
special facilities available using the LINK EDITOR. The procedure ASGCG
stands for ASSEMBLER G COMPILE AND GO, and it has two JOB STEPS, SOURCE,
and DATA. The typical deck setup is:

// EXEC ASGCG,PARM.DATA='MAP'
//SOURCE.INPUT DD *
..... 360 assembly language source deck
/*
//DATA.SYSUDUMP DD SYSOUT=A (required for a dump)
//DATA.XSNAPOUT DD SYSOUT=A (required if XSNAPs are used)

The above procedure is the most efficient way to assemble and run
an assembler program which cannot be run by ASSIST.

B. LINK EDITOR CATALOGED PROCEDURE - ASGCLG

This procedure is somewhat slower than the above, but can be used
to run somewhat large programs, and offers additional features. It
stands for ASSEMBLER G, COMPILE, LINK, and GO, and contains three JOB
STEPS, SOURCE, OBJECT, and DATA.

// EXEC ASGCLG,PARM.OBJECT='MAP'
//SOURCE.INPUT DD *
..... 360 assembly language source deck
/*
//DATA.SYSUDUMP DD SYSOUT=A (required for a dump)
//DATA.XSNAPOUT DD SYSOUT=A (required if XSNAPs are used)

C. EXECUTION ONLY CATALOGED PROCEDURE - ASGG

In some cases, the user may have an OBJECT DECK rather than a
SOURCE DECK, in which case he does not need the assembler at all. The
procedure ASGG has only 1 step, DATA, and just executes the program.

// EXEC ASGG,PARM.DATA='MAP'
//DATA.DECK DD *
.....input object deck.....
/*
//DATA.SYSUDUMP DD SYSOUT=A
//DATA.XSNAPOUT DD SYSOUT=A

*****NOTE***** YOU MUST INCLUDE SYSUDUMP CARD TO GET ANY DUMP AT ALL.
ALSO, USING XSNAP WITHOUT XSNAPOUT WILL RESULT IN ABEND U0300.
DUMPSJCL - 02

D. ADDITIONAL USEFUL JCL

1. MSGLEVEL=1 . If is often useful to see the JCL of cataloged


procedures used. Punch a comma after the programmer name on your JOB
card, punch anything in column 72 of you JOB card, then follow the JOB
card with the following:

// MSGLEVEL=1
or for even more information, use:
// MSGLEVEL=(1,1)

2. /*LOG CARDS. A card having /*LOG in columns 1-5 can be put


anywhere in your deck except in the middle of continued cards or in
data or source decks. It causes additional information to be printed
in the system log, which is the very beginning of your output. This is
strongly recommended for multi-step jobs, since it shows how far a
a program progressed, and how much time each step needed.

3. /*INCLUDE CARDS. Your instructor may sometimes place cards on


magnetic disk (such as test programs), and make them accessible to you.
Each FILE on disk has a FILENAME, and you can essentially copy each
such file by using a /*INCLUDE card referencing that file. Files may
contain both data and JCL. Your instructor has an identification which
must be used to refererence the files. The form is:

/*INCLUDE ident.filename
for example:
/*INCLUDE JRM02.TESTDECK

4. /*DUMP CARDS. If your program runs out of time or records, you


do not normally receive a completion dump. Inserting a card with /*DUMP
in columns 1-6 anywhere in your deck (like /*LOG) will allow you to get
a dump, assuming you have a SYSUDUMP card also in the correct place.

4. PARM FIELDS. PARM fields can be used to pass information to a


processing program, with up to 1 PARM for each STEP in a cataloged
procedure. The following options may be useful to you:

SOURCE STEP (ASSEMBLER G)


NOESD Deletes 1st page - External Symbol Dictionary, which is
often not too useful.
NOLIST Deletes entire source listing - especially good for a
debugged program when you want to save records.
NOXREF Deletes the Cross-Reference from end of listing, saves
time and records.
DECK Requests that an OBJECT DECK be punched. You can then
run the program (or include it with another one) without
having to assemble it again, saving time.

OBJECT STEP (LINK EDITOR)


MAP Requests a MAP of the modules in your program.

DATA STEP (LOADER)


MAP Requests a MAP of where modules are loaded into memory.

EXAMPLES
// EXEC ASGCG,PARM.SOURCE='NOESD,NOXREF,DECK',PARM.DATA=MAP
// EXEC ASGCLG,PARM.SOURCE=NOLIST,PARM.OBJECT='MAP' (missing 's ok)
DUMPSJCL - 03

II. OS/360 DUMP ASSIGNMENT

This assignment should help familiarize you with the typical cards
used to run an assembler program using Assembler G, and show several of
the most common causes of error termination, with the effects they have
on the completion dumps printed by OS/360.

Run each of the following programs, using appropriate JCL cards.


Use MSGLEVEL=1 and /*LOG cards for all of them. Use procedure ASGCG
for all programs, and ASGCLG for part C. in addition. (total 4 runs)

A. TYPICAL INTERRUPT DUMP - PRECISE INTERRUPT - 0C6

DUMP1 CSECT
XSAVE ID=NO
SPACE 2
L 0,2 cause 0C6
XRETURN SA=* return, create save area
END DUMP1

B. ABEND DUMP - CAUSED BY USER PROGRAM ABEND

DUMP2 CSECT
XSAVE TR=NO
SPACE 2
ABEND 400,DUMP U0400 completion code
XRETURN TR=NO,SA=* no trace, generate save area
END

C. INTERRUPT DUMP WITH MULTIPLE CSECTS, IMPRECISE INTERRUPT - 0C4

DUMP3 CSECT
XSAVE
SR 0,0 0 for main program
CALL SUB1 CALL SUBROUTINE
XRETURN SA=*
SUB1 CSECT
XSAVE
LA 0,1 set to 1 for 1st level sub
CALL SUB2
CNOP 0,8 line up for max overrun
ST 0,20 0C4 - store into protected core
AR 0,0 get value of 2
AR 0,0 get value of 4
XRETURN SA=*
SUB2 CSECT
XSAVE
LA 0,2 set to another value
XSNAP
XRETURN SA=*
END DUMP3
//************************************************************
//*
//* E X C P P R O G R A M
//*
//* CMPSC 411 - 12/7/71
//************************************************************
// EXEC ASGCG,PARM.DATA='MAP'
//SOURCE.INPUT DD *
TITLE 'EXCP - EXECUTE CHANNEL PROGRAM - TEST PROGRAM'
CHANPROG CSECT
PRINT NOGEN
XSAVE
PRINT GEN
OPEN (INDCB,(INPUT),OUTDCB,(OUTPUT)) OPEN DCBS
* I.E. CONNECT BLOCKS TO
* ALLOW IO TO TAKE PLACE
SPACE 3
EXCP OUTIOB EXEC. THE CHANNEL PROG.
* BEGINNING AT LOC. OUTIOB
MVI OUTCCW,X'11' CHANGE FROM SPACING TO TOP
SPACE 3
* OF NEW PAGE TO SINGLE SPACING
READ EXCP INIOB EXEC. CHAN. PGM. TO READ A PIECE
* OF DATA AS SPECIFIED IN INIOB
SPACE 3
WAIT ECB=INECB GO INTO WAIT STATE AND DO NOT
* PROCESS ANY MORE UNTIL THIS IO
* HAS POSTED COMPLETION IN INECB
CLI INECB,X'41' CHECK FOR GOOD TERMINATION
BE EOF IF TERM. CODE =X'41', EOF READ
SPACE 3
EXCP OUTIOB EXEC. CH PGM AT OUTIOB
WAIT ECB=OUTECB WAIT FOR TERMINATION OF IO.
B READ LOOP
SPACE 5
EOF CLOSE (INDCB,,OUTDCB) CLOSE OPEN DATA SETS
PRINT NOGEN
XRETURN SA=*
SPACE 5
INAREA DC CL80' ' AREA FOR INPUT
INDCB DCB MACRF=E, USING EXCP MACROS X
DDNAME=IN UNDER THE DDNAME FOR JCL 'IN'
INECB DC F'0' BLOCK TO POST STATUS OF IO
SPACE 3
INIOB DC B'01000010',X'000000' INFORMATION ON FORM OF
* IO ACTIVITY
DC A(INECB) LOCATION TO POST STATUS
DC 2F'0' **MAGIC**USED FOR STATUS
DC A(INCCW) ADDR. OF CHANNEL COMMANDS
DC A(INDCB) PTR. TO DCB ASSOCIATED WITH
* THIS IO TASK
DC 2F'0' **MAGIC**USED FOR STATUS
SPACE 3
* COMMAND WORD FOR READ FOLLOWS--
INCCW DC 0D'0' MUST BE DOUBLE WORD ALIGNED
DC X'02' COMMAND = READ
DC AL3(INAREA) WHERE TO PLACE DATA
DC B'00100000' FLAGS = SUPPRESS INCORRECT LEN.
DC X'00' UNUSED (BUT MUST BE INCLUDED)
DC H'80' LENGTH OF DATA FIELD TO READ
* EVERYTHING DOWN TO HERE HAS BEEN ONE COMMAND WORD FOR ONE IO
* ACTIVITY (A READ)
SPACE 5
OUTDCB DCB MACRF=E,DDNAME=OUT
OUTECB DC F'0' EVENT CONTROL BLOCK FOR OUTPUT
SPACE 3
* COMMAND BLOCK FOR OUTPUT FOLLOWS--
OUTIOB DC X'42000000' INFORMATION FOR CHANNEL.
DC A(OUTECB) ADDR. OF ECB FOR OUTPUT
DC 2F'0' MAGIC STATUS
DC A(OUTCCW) ADDR. OF CHAN. COMM. WORD(S)
DC A(OUTDCB) ADDR. OF ASSOCIATED DCB
DC 2F'0' MAGIC STATUS AGAIN
SPACE 5
* OUTPUT CHANNEL COMMAND WORD FOLLOWS--
DS 0D
OUTCCW DC X'8B' SKIP TO NEW PAGE
DC AL3(INAREA) AREA FROM WHICH TO TRANSFER
DC B'00100000' STATUS FLAGS
DC X'00' UNUSED
DC H'80' LENGTH OF DATA TRANSFER
SPACE 5
* JCL USED--
* // EXEC ASGCG,PARM.DATA='MAP'
* //SYSIN DD *
* SOURCE DECK
* /*
* //DATA.OUT DD SYSOUT=A FOR THE DATA SET 'OUT' CREATED AT THE
* DATA LEVEL, TO BE ROUTED TO A PRINTER
* //DATA.SYSUDUMP DD SYSOUT=A JUST IN CASE
* //DATA.IN DD * THE DATA SET 'IN' CREATED AT THE
* DATA STEP, WILL FOLLOW DIRECTLY
* DATA CARDS
* /*
SPACE 5
END CHANPROG
//DATA.OUT DD SYSOUT=A
//DATA.SYSUDUMP DD SYSOUT=A
//DATA.IN DD *
THIS IS DATA CARD #1
THIS IS THE SECOND DATA CARD
THIS IS THE LAST DATA CARD--AFTER IT THE DCB'S WILL BE CLOSED
/*LOG
//*
//* PROGRAM FLOTLINK: THIS PROGRAM ILLUSTRATES THE FOLLOWING:
//* 1. JOB CONTROL LANGUAGE FOR LINKING FORTRAN/ASSEMBLER
//* 2. CALLING LINKAGE AMONG FORTRAN/ASSEMBLER MODULES
//* 3. FLOATING POINT INSTRUCTIONS.
//*
//* FLOTLINK CONSISTS OF A FORTRAN MAIN PROGRAM, A FORTRAN
//* FUNCTION (F2A), AND A FORTRAN SUBROUTINE (F3A), PLUS SEVERAL
//* ASSEMBLER LANGUAGE SUBROUTINES (A1, A2).
//*
//* THE EXEC FGC REQUESTS A FORTRAN G COMPILATION.
//*
// EXEC FGC
//SOURCE.INPUT DD *
C MAIN PROGRAM - READS VALUES, CALLS A1.
WRITE(6,9000)
1000 READ(5,9020,END=8000) A,B,C,I
WRITE(6,9040) A,B,C,I
C EXAMPLE: CALL ASSEMBLER SUBROUTINE FROM FORTRAN.
CALL A1(A,B,C,I)
GO TO 1000
8000 WRITE(6,9060)
STOP 20
9000 FORMAT('1***** FLOTLINK - FORTRAN/ASSEMBLER FLOATING PT/LINKAGE')
9020 FORMAT(3F10.0,I10)
9040 FORMAT('0***** INPUT VALUES: A,B,C,I = ',3F20.10,I10)
9060 FORMAT('0***** END EXECUTION OF FLOTLINK')
END
FUNCTION F2A(A,B,C,I)
C THIS FORTRAN FUNCTION COMPUTES THE FOLLOWING VALUES:
C F2A = (A/2.) * B + (C**I)/10. - 2.
C IT GENERATES CODE RETURNING RESULT IN FLOATING PT REGISTER 0.
C IF RESULT WERE FIXED PT, IT WOULD BE IN GP REGISTER 0.
WRITE(6,9000)
F2A = (A/2.) * B + (C**I)/10. - 2.
WRITE(6,9020) F2A
RETURN
9000 FORMAT(' *** FUNCTION F2A ENTERED ***')
9020 FORMAT(' *** RETURN FROM F2A, RESULT = ',E15.8)
END
SUBROUTINE F3A(VALUE,TITLE,NTITLE)
C THIS SUBROUTINE IS USED TO PRINT THE SINGLE PRECISION FLOATING
C POINT VALUE, FOLLOWED BY TITLE HAVING NTITLE CHARACTERS.
LOGICAL*1 TITLE(NTITLE)
WRITE(6,9000) VALUE,TITLE
RETURN
9000 FORMAT(E15.8,60A1)
END
//*
//* THE EXEC ASGCG REQESUTS FIRST AN ASSEMBLY AND THEN EXECUTION.
//* EXECUTION WILL BEGIN AT ROUTINE NAMED 'MAIN'.
//*
//STEP2 EXEC ASGCG,PARM.SOURCE=NOXREF,PARM.DATA='MAP,EP=MAIN'
//SOURCE.INPUT DD *
TITLE 'MODULE A2 OF FLOTLINK'
A2 CSECT
* WITH ARGUMENTS (A,B,C,I), A2 COMPUTES SAME AS F2A:
* F2A = (A/2.) * B + (C**I)/10. - 2.
* RESULT IS RETURNED IN FLOATING POINT REGISTER 0.
PRINT NOGEN
EQUREGS
EQUREGS L=F,DO=(0,6,2) FLOATING POINT EQUATES
SPACE
XSAVE
* R1 CONTAINS ADDRESS OF ADDRESS LIST OF ARGUMENTS.
LM R2,R5,0(R1) GET ADDRESSES OF A,B,C,I
LE F0,0(,R2) LOAD VALUE OF A
HER F0,F0 = A/2. USING HALVE SHORT INSTR
ME F0,0(,R3) = (A/2.) * B, MULTIPLY SHORT
* NOW COMPUTE C**I / 10. PART
LD F2,=D'1' INITIALIZE, WILL MULITPLEY IN HERE
LE F4,0(,R4) F4 = C, WILL SAVE IN REGISTER
L R6,0(,R5) R6 = I, FOR LOOP COUNTER
XSNAP T=FL,LABEL='REGISTERS IN A2'
LPR R0,R6 R0 = ABS(I)
BZ A2NOMUL IF I =0, C**I = 1.0 ALWAYS
MER F2,F4 F2 * C, LOOPING
BCT R0,*-2 LOOP, MULTIPLYING TO GET C ** ABS(I)
SPACE
LTR R6,R6 WAS I POSITIVE
BP A2NOMUL YES, SO CAN SKIP, F2 IS OK
LD F4,=D'1' GET VALUE OF 1 FOR DIVIDE
DER F4,F2 DIVIDE TO GET 1.0 / (C ** ABS(I))
LER F2,F4 GET CORRECT VALVE OF C ** I
A2NOMUL DE F2,=E'10' F2 = (C ** I) / 10.
AER F0,F2 F0 = (A/2.)*B + (C ** I)/10.
SE F0,=E'2' F0 = (A/2.)*B + (C ** I)/10. - 2
* RESULT HAS BEEN COMPUTED AT THIS POINT.
* SAVE ACROSS CALL (FLOAT REGS NOT PROTECTED), AND PRINT.
STE F0,A2RESULT SAVE THE RESULT
PRINT GEN
SPACE 2
CALL F3A,(A2RESULT,A2MSG,A2LEN)
SPACE 2
PRINT NOGEN
LE F0,A2RESULT RELOAD RESULT
XRETURN SA=*,TR=NO RETURN, NO TRACE
A2RESULT DS E
A2MSG DC C' COMPUTED BY A2 AT EXIT'
A2LEN DC A(L'A2MSG)
LTORG
TITLE 'MODULE A1 OF FLOTLINK'
A1 CSECT
* THIS MODULE ILLUSTRATES THE CALLING SETUPS FOR CALLING
* BOTH FORTRAN AND ASSEMBLER ROUTINES. IT CALLS A2, F2A.
SPACE
* ON ENTRY, R1 CONTAINS THE ADDRESS OF AN ADDRESS LIST, FOR
* ARGUMENTS A, B, C, I, AS FOLLOWS:
* R1 ==> (0(R1), ADDRESS OF A) ==> VALUE OF A
* (4(R1), ADDRESS OF B) ==> VALUE OF B
* (8(R1), ADDRESS OF C) ==> VALUE OF C
* (12(R1),ADDRESS OF I) ==> VALUE OF I
XSAVE
* DUMP THE ADDRESS LIST FOUND ON ENTRY.
XSNAP STORAGE=(*0(R1),*16(R1)), #
LABEL='R1 ==> 4 FULLWORDS OF ADDRESS LIST'
* MOVE THE ARGUMENTS OVER. THIS IS NOT REALLY NECESSARY,
* IT IS JUST DONE TO SHOW ACCESSING OF ARGUEMNTS.
LM R2,R5,0(R1) LOAD PTRS TO VALUES OF A,B,C,I
MVC A,0(R2) GET LOCAL COPY OF A
MVC B,0(R3) GET LOCAL COPY OF B
MVC C,0(R4) GET LOCAL COPY OF C
MVC I,0(R5) GET LOCAL COPY OF I
* AT THIS POINT,LOCAL A,B,C,I HAVE SAME VALUES AS THOSE
* SUPPLIED IN ORIGINAL PROGRAM.
* NOW MAKE CALLS TO ROUTINES AND SEE HOW THEY RETURN VALS.
LA R1,ADCONS GET ADDRESS OF ADCON LIST
L R15,=V(F2A) ADDRESS OF FORTRAN ROUTINE
BALR R14,R15 CALL THE ROUTINE
XSNAP T=FL,LABEL='F0 CONTAINS RESULT OF FUNCTION F2A'
* NOW CALL EQUIVALENT ASM ROUTINE, USING CALL MACRO.
PRINT GEN
SPACE 2
CALL A2,(A,B,C,I),VL
SPACE 2
PRINT NOGEN
XSNAP T=FL,LABEL='F0 CONTAINS RESULT OF FUNCTION A2'
XRETURN SA=*
A DS E
B DS E
C DS E
I DS F
ADCONS DC A(A,B,C),X'80',AL3(I) ADCON LIST
LTORG
END
//DATA.XSNAPOUT DD UNIT=AFF=FT06F001 XSNAPS ON FT06F001
//DATA.SYSUDUMP DD SYSOUT=A
//DATA.FT05F001 DD *
10. 5. 10. 2
1. 10. .1 -1
/*
//*
//* THIS JOB WILL RUN WITH TIME = 25 SECONDS
//* RECORD = 600
//*
// EXEC ASGCG
//SYSIN DD *
PRINT NOGEN
EQUREGS
* . . . . . . . . . . . . . . . . . . . . . . .
* THE PURPOSE OF THIS PROGRAM IS TO DEMONSTRATE THE GETMAIN AND
* FREEMAIN MACRO USING THE REGISTER CONVENTION
* FIRST READ IN THE NO OF BYTES TO BE OBTAINED FROM THE OS THEN
* READ IN NUMBER TO FILL THESE BYTES AND PLACE THEM IN THE AREA
* OBTAINED NEXT SNAP THESE NUMBERS AND FREE THE AREA WITH A
* WITH A FREEMAIN MACRO
* . . . . . . . . . . . . . . . . . . . . . . .
MAIN CSECT
XSAVE
* . . . . . . . . . . . . . . . . . . . . . . .
* THE FIRST SECTION PREPARES FOR THE GETMAIN MACRO
* FIRST READ IN THE NUMBER OF BYTES TO BE OBTAINED FROM THE OPERATING
* SYSTEM THEN ECHO PRINT THE NUMBER
* MOVE THE NUMBER OF BYTES TO BE OBTAINED INTO REG 0 AND MAKE A
* COPY OF THIS NUMBER IN R9
* DIVIDE R4 BY 4 TO GET THE NUMBER OF NUMBERS TO BE READ IN
* THEN PLACE THE SUBPOOL NUMBER IN R0 ALONG WITH THE NUMBER OF BYTES
* REQUESTED
XREAD WORD READ IN THE NUMBER OF BYTES TO BE
* OBTAINED FROM THE OPERATING SYSTEM
XPRNT WORD-1,81 ECHO PRINT THE NO OF NUMBERS TO BE R
XDECI R4,WORD CONVERT TO INTERNAL FORM
LR R0,R4 MAKE A COPY OF R4 FOR GETMAIN
LR R9,R4 MAKE A COPY OF THE NUMBER OF BYTES
SRL R4,2 DIVIDE THE NUMBER OF BYTES BY 4 TO
* GET THE NUMBER OF WORDS TO BE READ
LA R3,1 PLACE A 1 IN BIT 31 OF R3
SLL R3,24 MOVE THE BIT TO BIT 7 OF R3
OR R0,R3 PLACE SUBPOOL IN R0
PRINT GEN
* . . . . . . . . . . . . . . . . . . . . . . .
* USING A GETMAIN MACRO OBTAIN THE NUMBER OF BYTES REQUESTED
* THE REGISTER CONVENTION REQUIRES THAT THE SUBPOOL NUMBER BE PLACED
* IN THE FIRST BYTE OF REG 0
* . . . . . . . . . . . . . . . . . . . . . . .
GETMAIN R,LV=(0)
PRINT NOGEN
* . . . . . . . . . . . . . . . . . . . . . . .
* MAKE TWO COPIES OF THE ADDRESS OF THE AREA OBTAINED FROM THE
* OPERATING SYSTEM THEN USING R4 FOR LOOP READ IN THOSE NUMBERS
* AND PLACE THEM IN THE AREA OBTAINED
* . . . . . . . . . . . . . . . . . . . . . . .
LR R6,R1 MAKE A COPY OF ADD OF NEW STORAGE
LR R7,R1 MAKE A COPY OF ADD OF NEW STORAGE
LOOP XREAD WORD READ IN THE NUMBERS
XPRNT WORD-1,81 ECHO PRINT THE NUMBERS
XDECI R5,WORD CONVERT THE NUMBERS TO INTERNAL FORM
ST R5,0(R6) PUT NEW NUMBER IN STORAGE
LA R6,4(R6) INCREASE POINTER TO NEXT NEW WORD
BCT R4,LOOP IF NOT LAST NUMBER RETURN FOR NEXT
* . . . . . . . . . . . . . . . . . . . . . . .
* FINALLY SNAP THE AREA OBTAINED AND THEN FREE THE AREA OBTAINED
* PLACE THE SUBPOOL NUMBER AND THE NUMBER OF BYTES TO BE FREED IN
* R0 AND THEN USING THE REGISTER CONVENTION FREE THE AREA OBTAINED
* WITH THE REGISTER CONVENTION PUT THE ADDRESS OF THE AREA TO BE
* FREED IN A REGISTER
* . . . . . . . . . . . . . . . . . . . . . . .
XSNAP STORAGE=(*0(7),*4(6)),T=NOREGS, X
LABEL='THIS IS A SNAP OF THE AREA OBTAINED FROM GETMAIN'
OR R9,R3 PLACE SUBPOOL NUMBER IN FIRST BYTE
LR R0,R9 PUT THE PS NUMBER AND LENGTH IN R0
* FOR THE MACRO CALL
PRINT GEN
* . . . . . . . . . . . . . . . . . . . . . . .
* USING A FREEMIAN MACRO FREE THE AREA OBTAINED WITH THE REGISTER
* CONVENTION THE SUBPOOL NUMBER IS PLACED IN THE FIRST BYTE OF R0
* THE ADDRESS OF THE AREA TO BE FREED IS PLACED IN A REGISTER
* DESIGNATED BY THE A= PARAMETER
* . . . . . . . . . . . . . . . . . . . . . . .
FREEMAIN R,LV=(0),A=(7)
PRINT NOGEN
XRETURN SA=*
DC F'0'
WORD DC 20F'0'
END
/*
/*LOG
//DATA.XSNAPOUT DD UNIT=AFF=FT06F001
//DATA.SYSUDUMP DD SYSOUT=A
//DATA.INPUT DD *
40
0
1
2
3
4
5
6
7
8
9
/*
HARDWAR1 - 01
FEB 1972
PENN STATE UNIVERSITY COMPUTATION CENTER
360/67 CONFIGURATION
this writeup: pages 01 - 04, plus Diagram A (separate).

INTRODUCTION

This writeup briefly describes the devices included in the PSU


360/67 system, and shows how they are connected together. Each device
is described below, and diagram A shows the connections.

References are made to DEVICE ADDRESSES. Each individually


addressable device (such as a single disk drive, card reader, etc) has
a 3 digit (hexadecimal) number which uniquely identifies it to the
system, and is used in all input/output operations. The DEVICE ADDRESS
is of the following form:

abc where:
a gives the CHANNEL NUMBER (from 0 up)
b specifies a CONTROL UNIT attached to that channel
c notes which device attached to a given control unit.

Since each digit can have the value 0-F, theoretically it would be
possible to attach 16 devices to each of 16 control units attached to
16 channels, for a maximum of 4096 separate devices. In practice, this
number is much less, since most S/360's allow a MAXIMUM of 7 channels or
less.

The devices follow, more or less in order from the CPU outward.

CENTRAL PROCESSING UNIT

2067-1 (a single 360/67 CPU). uses 200 nanosec (.2 microsec) cycle
Read Only Storage (ROS) of 88 bits/word to implement S/360
instruction set (Universal plus special model 67 instructions)
includes a HIGH RESOLUTION TIMER (13 microsec cycle).
includes a BCU (Bus Control Unit), which is connected to all
memory modules, and determines which channel or CPU gets to
use a given memory module.

PRIMARY STORAGE

2365 III (4 units) each unit contains 256K bytes. Physically each
2365 contains 2 arrays of 128K bytes, with physical word size
of doublewords, i.e., each has 2 arrays of 16K doublewords,
and is thus 2-way interleaved at this level. Each 2365 is
independent of the others.
CYCLE TIME: 750 nanosec / ACCESS TIME: 375 nanosec

2361 II (1 unit) - Large Core Storage (LCS) - 2048K bytes, organized


physically of 2-way interleaved doublewords.
CYCLE TIME: 8000 nanosec (8 microsec) / ACCESS TIME: 3.2 mic

Of the two types of storage, the first contains user programs, and
heavily used parts of system programs, while the LCS contains less-used
system programs, tables, and buffer areas.
HARDWAR1 - 02

CHANNELS

2870 MULTIPLEXOR CHANNEL - includes 2 SELECTOR SUBCHANNELS (used


for magnetic tape drives). generally handles LOW-SPEED
devices (card readers, printers, etc)
MAXIMUM TOTAL TRANSFER RATE: 426 KB (kilobytes) per second

2860 SELECTOR CHANNELS - 5 total (2 in 2860 II, 3 in 2860 III).


used for HIGH-SPEED devices (disk, drum, etc)
MAXIMUM DATA TRANSFER UNIT, EACH SELECTOR: 1250KB

All CHANNELS and the CPU contend for use of memory modules. The
BCU arbitrates among them using a simple priority scheme in following
order:

SERVED EARLIER ---> SERVED LATER


CHANNEL # : 1 2 0 3 4 5 CPU
drums disk mx disk disk ADAGE

The above order is used since the drums cannot wait very long and
have the highest transfer rate, the multiplexor channel (0) is fairly
early because it may have a large number of things to do, and the CPU
is always last because it never hurts it to wait.

CONTROL UNITS

Each control unit can attach to a number of devices, and it is used


to control greatly different devices in a such a way as to make them
appear more alike, as far as the channels are concerned. Each device
must be attached to a particular type of control unit, and each control
unit normally can control a group of related devices.

2820 STORAGE CONTROL UNIT - controls the 2301 drum units, attached
to channel 1 .

2821 CONTROL UNIT - controls UNIT RECORD devices (card readers,


printers, punches). attached to multiplexor channel.

2848 DISPLAY CONTROL - controls the 8 2260 scopes which display


system status to the operators.

2701 DATA ADAPTOR - controls a small number of high-speed


transmission lines, i.e. high speed terminals (4800 bits/sec
transmit rate), such as 360/20's at various locations.

2703 TRANSMISSION CONTROL - controls a larger number of lower-


speed terminals, including typewriter/teletype terminals and
read/print/punch terminals at Commonwealth Campuses (such as
IBM 2780, DCS CP-4, etc).
HARDWAR1 - 03

DISPLAY DEVICES

1052 CONSOLE TYPEWRITER - messages are printed here requiring


action by computer operators, and they can enter commands
to the system at this location.

2260 ALPHAMERIC DISPLAY SCOPES (8 units) - these display current


system status (jobs, disk usage, etc), and also are used to
display requests for magnetic tapes to be mounted, etc.

SECONDARY STORAGE - DIRECT ACCESS STORAGE DEVICES (DASDs)

2301 MAGNETIC DRUMS (2 drums) - attached to channel 1 via 2820.


Each holds 4.09 megabytes (million bytes) of data, rotates
once each 17.5 milliseconds, with average rotational delay
(latency time) of 8.6 milliseconds. Records data 4 bits in
parallel (for high transfer rate). Has 200 conceptual TRACKS,
each of 20,483 bytes maximum size. EACH DRUM IS UNREMOVABLE.
MAXIMUM TRANSFER RATE: 1.2 megabytes/second (FASTEST DEVICES
USED ON THIS SYSTEM).
These hold most heavily-used compilers and system programs.

231x (2314, 2319) MAGNETIC DISK STORAGE FACILITIES - total of 22


disk drives (including 2 spare ones). Each DRIVE holds one
2316 DISK PACK: 29.17 megabytes maximum, on 20 disk surfaces
(11 plates - outside ones not used). Uses MOVABLE HEADS
to access information. Each CYLINDER (of which there are 200
usable at any one time) contains the 20 TRACKS accessible at
one time without moving the READ/WRITE HEADS. Each track can
record at most 7294 bytes of information.
NOTE: unlike drums, each DISK PACK can be removed, and another
one mounted in is place if desired.
ROTATION TIME: 25 millisec, AVERAGE LATENCY: 12.5 millisec.
SEEK TIMES (time to move HEADS to correct cylinder):
MIN = 25, AVERAGE = 60 or 75, MAX = 130 or 135 millisec.
MAXIMUM DATA TRANSFER RATE: 312,000 bytes/sec.

NOTE: each of the three storage facilities contains its own


control unit, and each drive is numbered accordingly, i.e.,
230-237, 330-337, 430-433, on channels 2, 3, 4.

TOTAL DASD STORAGE IS AS FOLLOWS:


2314 (8 drv) 233 megabytes
2319 (8 drv) 233 megabytes
2314 (4 drv) 116 megabytes
2301 (2 drums) 8 megabytes
-------------- --- ---------
*TOTAL* 590 megabytes (approx)
HARDWAR1 - 04

SECONDARY STORAGE - SEQUENTIAL DEVICES

240x (2402 III, 2403 III) MAGNETIC TAPE DRIVES - read/write tape
at maximum density of 800 BPI (bits/inch), 9 tracks per tape
(2 of the drives also read/write 7-track tapes). Each group
of 4 drives is connected to one SELECTOR SUBCHANNEL of the
MULTIPLEXOR CHANNEL. The control units for these drives are
contained in the 2403 units.
MAXIMUM TRANSFER RATE: 90,000 bytes/sec (90KB), using tape
speed of 112.5 inches per second, tape gaps of .6 inch between
blocks of data.

UNIT RECORD DEVICES

1403 LINE PRINTERS (of various models), printing with maximum rated
speed of 1100 lpm (lines/minute) for 1403 N1, 600 lpm for
others. Use removable TRAINs, so that different character
sets can be obtained (upper case only: QN, upper/lower: TN).
Attached to 2821 control units (on multiplexor).

2540 CARD READ/PUNCH - one unit contains a card reader and card
punch (treated logically as separate addresses: for example:
00C for reader, 00D for attached punch).
READS cards (optically) at 1000 cpm (cards/minute) maximum.
PUNCHES cards at 300 cpm maximum.
Attached to 2821 control unit.

2671 PAPER TAPE READER - reads punched paper tape at up to 1000 cps
(characters per second). attached also to 2821 control unit.

SUMMARY OF DEVICE CHARACTERISTICS


- - - - - - - - - - - - - - - - - - - - - - - - - - - - - - - - - - - -
DEVICE CAPACITY PER UNIT TRANSFER RATE AVERAGE DELAY
TYPE (megabytes) (KB/second) (seek) (latency) ms.
---- ----- ------ ------ ---------

2301 DRUM 4.09 1200 0 8.6

2319 DISK 29.17 per pack 312 60 12.5


2314 DISK 29.17 per pack 312 75 12.5

2400 TAPE DRIVE varies, 20 per 90 - -


2400-ft tape OK

1403 PRINTER 132 bytes/line 2.4 - -


2540 READER 80 bytes/card 1.3 - -
2540 PUNCH 80 bytes/card 0.4 - -
2671 PAPER TAPE -- 1.0 - -

REFERENCES: GA22-6810 IBM S/360 SYSTEM SUMMARY


GA27-2719 IBM S/360 MODEL 67 FUNCTIONAL CHARACTERISTICS
01/08/73: date of last update INDEX102 - 01

CMPSC 102 - INDEX OF BAT FILES - J R MASHEY

The following provides a brief index to BAT files available for


CMPSC 102. Unless otherwise specified, these files are kept under
the following RJE ID: JRM02.

CS102AS1 - first assignment, mainly for arithmetic operations

CS102FP1 - final project writeup - write assembler/interpreter for


CS102FP2 - what is basically an XDS SIGMA 5 subset computer

CS102M1 - two writeups: beginning run setup; explanation of the


conventions used to make up S/360 opcode mnemonics

CS102TPA - day-by-day outline of most of CS 102 course

FLOTLINK - sample program illustrating FORTRAN/ASSEMBLER LINKAGE


and floating-point instructions.

A number of files used in CMPSC 411 may also be suitable for


CMPSC 102(410). See also file JRM02.CS411GI1.
Some of the files mentioned in CS411GI1 include:
DOCUMENT - hints on good documentation for assembler
DSECT - sample DSECT usage
DUMPSJCL - typical dump setups; common ASM G JCL setups
LINKAGE - explanation of OS/360 linkage conventions
01/09/73 INDEX411 - 01

CMPSC 411 - INDEX OF BAT FILES - J R MASHEY

The following provides a brief index to materials useful for


CMPSC 411 (11).

CS411GI1 - contains general information about CMPSC 411, text


CS411GI2 - materials, and also has further index to BAT files
contained in CS411GI1. Approximately 45 files of
sample programs, assignments, writeups, etc are listed
here.

CS411TPA - contains detailed descriptons of day-by-day lectures

INDEX102 - contains index to CMPSC 102 files, which in some cases


may overlap with 11 or 411.

*****NOTE: above files are held under RJE ID JRM02.


LINKAGE-1

STANDARD LINKAGE CONVENTIONS


Charles Pfleeger

Under OS/360, certain conventions have been established regarding


the use of registers. These conventions will have been followed when
you, the problem programmer, receive control from the system; they
should be followed for any routines which you call, or for communi-
cating with the system (e.g. system macro calls, SVC's, returning
control, etc.). Following these conventions will make your code
easier for someone else to follow. Certain debugging aids are also
available for those who adhere to standard conventions. In general,
unless there is a strong reason to deviate, these conventions should
be employed.

REGISTER 14 is called the return register and contains the address


to which this routine is to return upon exit.

REGISTER 15 is called the entry point register, and contains the


address through which this routine was entered. Note that tempor-
ary addressability may be established by
USING entrypointname,15
If this routine calls no other routines, register 15 may be used as
a permanent base register. If this routine calls any other routines,
however, register 15 will be changed, and should not be used as a
permanent base register. In this latter case, the sequence
LR BASEREG,15
USING entrypointname,BASEREG
(where BASEREG is any of registers 2-12) may be used to establish
permanent addressability.
On return, register 15 may be used to return a code to indicate
normal or error return. One frequently-used technique is to set R15
zero on a normal return and set it non-zero if some error condition
occurred prior to return.

REGISTER 0 is used to return the single result from some process


(as in a Fortran function subprogram). Note: although you will
probably not use this convention much, it is heavily used by the
operating system. Register 0 cannot be guaranteed to be intact
after executing some call to the system, as a system macro, or
an SVC.

REGISTER 1 is the pointer to an argument list. It contains the


address of the first of one or more full word entries (on con-
secutive f.w. boundaries). These entries are the addresses of arg-
uments to be used by the calling routine.
If there may be an indefinite number of arguments, (as with a
routine which would accept one, two, or any number of arguments--
c.f. Fortran MAX0), the first bit of the last address is set to
a 1. (This bit will not interfere with ordinary S/360 addresses,
since an address can be fully specified in 3 bytes; byte 1 is ig-
nored on an address constant.)
LINKAGE-2

The following example illustrates how to use the address list


passed through register 1.

LA 1,ARGLIST get argument list address


L 15,=V(CALLRTN) get entry address
BALR 14,15 call routine
. . .
ARGLIST DC A(ARG1)
DC A(ARG2)
. . .
DC X'80',AL3(ARGn) Note the length factor
does not provide auto-
matic alignment.
. . .
CALLRTN CSECT
. . .
L 2,0(1) get addr. of next arg.
LTR 1,1 last arg. in list?
BM RETURN if yes, return
LA 1,4(1) else get addr. of next arg.

When a programmer receives control from the system, information


from the PARM field of his EXEC card is passed via register 1.
Register 1 points to a fullword of storage. Bit 0 of this fullword
is set to 1 (to indicate the last--only--argument of the list).
This fullword contains the address of a halfword. The halfword is a
count of the number of characters in the parm field message, and
these characters follow immediately after the halfword count field.
The contents of the halfword may be picked up to use as a length
count in an execute instruction, and the address of the halfword may
be used as a base to move the information characters of the PARM
field.

REGISTER 13 is called the save area register. It contains the add-


ress of an 18 fullword area (on a f.w. boundary) within the calling
routine. The routine called will use this area to save the contents
of registers, to be able to return the registers intact to the
calling program. This save area has a set format:

Word 1 Used by PL/I and FORTRAN


Word 2 address of the save area used by the calling
program.
Word 3 address of the save area set up by the called
program.
Word 4 address to which to return (reg. 14).
Word 5 address of entry point (reg. 15).
Word 6 contents of register 0.
. . .
Word 18 contents of register 12.

Save areas are chained in a doubly-linked list. At any low-


level routine, by tracing back through a chain of save area links,
one can eventually return to the system at the original point of
call.
LINKAGE-3

When your routine is entered, first you should save registers


and then establish and link your own save area.

STM 14,12,12(13) save regs. 14, 15, and 0-12 in


calling program's save area.
LA 5,MYSAVE get addr. of my save area
ST 5,8(13) link calling pgm. s.a. to mine
ST 13,4(5) link my s.a. to calling pgm's
LR 13,5 transfer pointer to s.a.

On return:

L 13,4(13) retrieve addr. of calling pgm's


save area
LM 14,12,12(13) restore registers as they were
BR 14

MYSAVE DC 18F'0'

A calling program is known as a "higher routine", and the routine


called is the "lower routine". Register 13 is always to point to an
area whose contents may be destroyed.
An exception to the requirement that a routine must always
establish a save area is that the lowest-level routine (the one which
calls no others) need not set up a save area. The reason for this is
the save area is for the use of any called routines, but that the
lowest-level routine will have no called routines.
It is important to know the conventions on save areas, but the
use of XSAVE AND XRETURN (consult appropriate documentation) can
reduce the problems in coding and linking save areas.

THE NAME CONVENTION is a means of having the EBCDIC form of the name
of a routine appear at certain key places on dumps. To use this
convention, the first four bytes of a routine must be a branch, on
15 as a base register, which passes over a series of bytes.
These bytes contain the EBCDIC form of the name of a routine, and
also a length count for this name area. This example shows how to
code a name field.

name CSECT
B m+1+4(,15)
DC X'm'
DC CLm'name'
next instruction.
The value of m must be odd, in order to have the next instruction
properly aligned. An alternate approach uses the convention on
register 15:

name CSECT
USING name,15
B NEXTINST
DC X'm'
DC CLm'name'
NEXTINST next instruction
LINKAGE-4

Notes:

O/S follows these conventions strongly. In particular, the


system often destroys the contents of registers 0, 1, 14, and 15 when
it returns control from a system macro, an SVC, or another system
function. One must SAVE THE CONTENTS of these registers BEFORE exec-
uting one of these functions; hard-to-locate errors will frequently
occur after failure to do so.

It is a good idea to mark a save area upon exit. This is usually


done be moving X'FF' into the first byte of the fourth word of the
save area (the place register 14 was stored). Although this technique
does not seriously affect the contents of the save area for reading
in a dump, this technique quickly shows what save areas are active and
which are not active when reading a dump.

Register 13 must be kept as the save area pointer; however, by


careful programming, it can also double as a base register. Consult
the appropriate section from XSAVE and XRETURN documentation for the
coding sequence using these macros. You may set up your own save area
for this purpose by setting it high in a program, and following it by
a USING on register 13, referencing the name of the save area.

For reserving the 18 fullwords of storage for a save area, use DC


instead of DS. A constant of F'0', or F'-1' will quickly show in a
dump if the save area was ever used.

SAVE and RETURN are two system macros which will eliminate much of the
coding for saving and returning conventions. SAVE generates the code
necessary to save a specified series of registers. The registers are
specified as they would be for a STM instruction. In addition, the
operand T will cause registers 14 and 15 to be stored, regardless of
what other registers may also be saved from the pair specified. The
following example will cause registers 5, 6, ... 10 and 14 and 15 to
be saved.
SAVE (5,10),T
The RETURN macro will generate code to restore registers, insert a ret-
urn code in register 15, flag the save area (X'FF' in wd. 4), and
branch back via register 14. The registers to be restored are coded
as with SAVE. If 15 already has a return code in it and should not
be restored, it is coded as RC=(15); else RC=n may be coded, where n
is some value to insert into register 15. The operand T causes the
flag X'FF' to be inserted in the save area. The following code will
restore registers 5, 6, ... 10 to be reloaded, the save area to be
flagged, and 15 to be loaded with a value 16.
RETURN (5,10),T,RC=16
**NOTE** Both of these macros expect that register 13 will already be
loaded with the address of the appropriate save area.
LINKAGE-5

The use of the PSU macros XSAVE and XRETURN can provide added
flexibility in saving and restoring registers. Both can generate
code to print a trace message showing entry and exit from a module;
XSAVE can be used to establish and load a base register or to print a
snap of the registers saved; XRETURN can create a save area. NOTE
that as with RETURN, XRETURN assumes that register 13 still points to
the relevant save area.

For most uses, the code XSAVE alone can be used to save regis-
ters. For a routine with only one return point, XRETURN SA=* will suf-
fice; if a routine has more than one return point, however, XRETURN
alone should be coded at all return points except one, and at that one
XRETURN SA=* should be coded. The reason for this is that SA=* will
cause a save area to be created; only one should be created per module.
For further details on the parameters involved in these two macros, see
the appropriate PSU documentation.

The following example causes register 12 to be established as a


base register, causes all registers to be saved on entry, cuases no
trace messages to be printed on entry or on exit, and causes R15 to be
loaded with the return code value 8.
MAIN CSECT
XSAVE BR=12,TR=NO (Note--default is for all
registers to be saved)
XRETURN SA=*,TR=NO,RC=8
//* THIS JOB WILL RUN WITH TIME = 110
//* RECORDS = 800
//*
// EXEC ASGCL
//SOURCE.INPUT DD *
*
* . . . . . . .
* THE PURPOSE OF THIS PROGRAM IS TO DEMONSTRATE THE MACROS
* GIVEN BELOW
* LOAD
* DELETE
* LINK
* XCTL
* . . . . . . .
*
*
* . . . . . . .
* THE OVERALL FLOW OF THIS PROGRAM IS AS FOLLOWS:
* 1 THE FOLLOWING CSECTS ARE ASSEMBLED AND LINK EDITED
* SECOND, THIRD, AND FOURTH.
* 2 MAIN IS ASSEMBLED AND LINKEDITED THEN IT IS GIVEN
* CONTRLL AND EXECUTES.
* 3 DURING EXECUTION OF MAIN SECOND IS LOADED USING
* THE LOAD MACRO THEN SECOND IS CALLED USING CALL
* MACRO. CONTROL IS THEN RETURNED TO MAIN AND
* SECOND IS DELTED USING THE DELTTE MACRO.
* 4 THIRD IS LOADED AND CONTROL PASSED TO IT USING THE
* LINK MACRO. CONTROL IS RETURNED TO MAIN THROUGH
* THE LINK MACRO CONTROL PROGRAM, AND THE OONTROL
* PROGRAM DELETES THIRD.
* 5 FOURTH IS LOADED AND GIVEN OONTROL THROUGH THE XCTL
* MACRO. THE XCTL MACFO DELETES MAIN AND THEN CONTROL
* IS RETURNED TO THE OPERATING SYSTEM USIGN
* IS RETURNED TO THE OPERATING SYSTEM.
* . . . . . . .
*
EJECT
PRINT NOGEN
*
* . . . . . . .
* THE PURPOSE OF THIS CSECT IS TO BE LOADED USING THE LOAD
* MACRO AND THEN TO BE CALLED USING CALL MACRO. THEN IT PRINTS
* A MESSAGE AND RETURNS TO MAIN. NOTE THE NORMAL SAVE AND
* RETURN CONVENTIONS.
* . . . . . . .
*
SECOND CSECT
XSAVE TR=NO
OPEN (OTPT,OUTPUT)
PUT OTPT,SHEAD
CLOSE (OTPT,)
XRETURN SA=*,TR=NO
SHEAD DC CL80'0SECOND HAS BEEN LOADED AND CALLED RETURN TO MAIN'
OTPT DCB DSORG=PS,MACRF=PM,LRECL=80,BLKSIZE=80,RECFM=FA, X
DDNAME=FT06F001,EROPT=ACC
PRINT GEN
END
/*
//OBJECT.SYSLMOD DD DSNAME=&&LOADMOD(SECOND)
// EXEC ASGCL
//SOURCE.SYSGO DD DISP=(OLD,PASS)
//SOURCE.INPUT DD *
*
* . . . . . . .
* THE THIRD CSECT IS ENTERED VIA THE LINK MACRO. THE LINKAGE
* CONVENTION APPEARS STANDARD, BUT ACTUALLY REGISTER 14 POINTS
* TO AN ADDRESS IN THE CONTROL PROGRAM OF THE LINK MACRO.
* THEREFORE, THE LINK CONTROL PROGRAM GETS CONTROL WHEN CONTROL
* IS PASSED FROM THIRD TO MAIN AND FROM MAIN TO THIRD.
* . . . . . . .
*
PRINT NOGEN
THIRD CSECT
XSAVE TR=NO
OPEN (ATPT,OUTPUT)
PUT ATPT,THEAD
CLOSE (ATPT,)
XRETURN SA=*,TR=NO
THEAD DC CL80'0THIRD ENTERED VIA LINK MACRO RETURN TO MAIN'
ATPT DCB DSORG=PS,MACRF=PM,LRECL=80,BLKSIZE=80,RECFM=FA, X
DDNAME=FT06F001,EROPT=ACC
PRINT GEN
END
/*
//OBJECT.SYSLMOD DD DSNAME=&&LOADMOD(THIRD),DISP=(OLD,PASS,DELETE)
// EXEC ASGCL
//SOURCE.SYSGO DD DISP=(OLD,PASS)
//SOURCE.INPUT DD *
*
* . . . . . . .
* THE FOURTH CSECT IS GIVEN CONTRLO THROUGH THE XCTL MACRO.
* WHEN CONTROL IS PASSED VIA THE XCTL MACRO, CONTROL IS NOT
* RETURNED TO THE STEP ISSUING THE XCTL MACRO, AND THE STEP
* ISSUING THE XCTL MACRO IS DELETED BY THE XCTL MACRO. THEREFOR
* ISSUING THE XCTL MACRO IS DELETED BY THE XCTL MACRO.
* THEREFORE, THE REGISTERS ARE RELOADED IN THE ISSUING STEP SO
* THAT WHEN THE STEP SHICH IS XCTLED TO RETURNS IT RETURNS TO
* THE PROPER POINT
* . . . . . . .
*
PRINT NOGEN
FOURTH CSECT
XSAVE TR=NO
OPEN (ETPT,OUTPUT)
PUT ETPT,FHEAD
CLOSE (ETPT,)
XRETURN SA=*,TR=NO
FHEAD DC CL80'0FOURTH LOADED AND ENTERED VIA XCTL MACRO'
ETPT DCB DSORG=PS,MACRF=PM,LRECL=80,RECFM=FA,BLKSIZE=80, X
DDNAME=FT06F001,EROPT=ACC
PRINT GEN
END
/*
/*LOG
//OBJECT.SYSLMOD DD DSNAME=&&LOADMOD(FOURTH),DISP=(OLD,PASS,DELETE)
// EXEC ASGCLG
//SOURCE.SYSGO DD DISP=(OLD,PASS)
//SOURCE.INPUT DD *
*
* . . . . . . .
* THIS IS THE MAIN JOB STEP. WHEN IT RECEIVES CONTROL, IT FIRST
* LOADD SECOND AND CALLS SECOND, THEN WHEN CONTRO IS RETURNED
* IT PASSES CONTROL TO THIRD VIA THE LINK MACRO, FINALLY IT XCTL
* TO FOURTH AND CONTROL IS NOT RETURNED.
* . . . . . . .
*
PRINT NOGEN
MAIN CSECT
XSAVE TR=NO
PRINT GEN
*
* . . . . . . .
* THE LOAD MACRO INSTRUCTION IS CODED SO THAT THE LOAD MODULE
* WITH ENTRY POINT SECOND IS LOADED INTO CORE. SINCE DCB IS
* OMMITED IT SEARCHES THE STEPLIB WHICH IS INCLUDED BY
* //DATA.STEPLIB DD DSNAME=&&LOADMOD,DISP=(OLD,PASS)
* THE ENTRY ADDRESS OF SECOND IS RETURNED IN REGISTER 0 SO THAT
* SECOND CAN BE CALLED
* . . . . . . .
*
LOAD EP=SECOND
PRINT NOGEN
LR 15,0 GET ADD OF SECOND CSECT IN 15
CALL (15) BRANCH TO SECOND
PRINT GEN
* NOW THAT WE HAVE FINISHED WITH SECOND WE DELETE LOAD MODULE.
* AGAIN THE ENTRY POINT IS SPECIFIED. THE DELETE MACRO MUST
* BE ISSUED IN THE SAME TASK AS THE LOAD MACRO.
*
* . . . . . . .
DELETE EP=SECOND
*
* . . . . . . .
* IN THE LINK MACRO WE CODE THE ENTRY POINT OF THE LOAD MODULE
* TO WHICH WE SISH TO LINK. THE PARAM SPECIFIES A PARAMETER
* LIST WHICH IS PASSED IN REGISTER 1. THE VL = 1 INDICATES A
* VARIABLE NUMBER OF ARGUMENTS. THESE ARGUMENTS WILL NEVER
* BE USED IN THIRD THEY ARE FOR EXAPMLE.
* . . . . . . .
*
LINK EP=THIRD,PARAM=(PARM1,PARM2),VL=1
*
* . . . . . . .
* BEFORE WE CAN PASS CONTROL TO FOURTH WE MUST RELOAD REGISTERS
* 13 AND 14 TO POINT THE WAY THEY DID BEFORE ENTRY TO MAIN.
* THEN SINCE WE USE THE ENTRY POINT CONVENTION TO FIND THE LOAD
* MODULE WE LET THE MACRO RESOTRE REGISTER 2 THRU 12.
* THE XRETURN IS INCLUDED TO PROVIDE A SAVEAREA FOR THE XSAVE
* . . . . . . .
*
L 13,4(13) GET ADD OF SYSTEM SAVEAREA
L 14,12(13) RESTORE REGISTER 14
XCTL (2,12),EP=FOURTH
PRINT NOGEN
XRETURN SA=*,TR=NO
PARM1 DC F'0'
PARM2 DC F'1'
END
/*
//OBJECT.SYSLMOD DD DSNAME=&&LOADMOD(MAIN),DISP=(OLD,PASS,DELETE)
//DATA.STEPLIB DD DSNAME=&&LOADMOD,DISP=(OLD,PASS)
//DATA.SYSUDUMP DD SYSOUT=A
OSHASP - 01

OVERVIEW OF OS/360 WITH HASP

This writeup gives a quick overview of the process by which any


OS/360 sytstem is initialized, how storage is used (particularly in
OS/360/MVT), and describes how OS/360 is modified by the use of HASP
(Houston Automatic Spooling Priority system). The storage layout is
described for the PSU CC 360/67 system.

I. INITIALIZATION - getting a system up and running

Consider a computer with no operating system currently in it. The


first necessity is to get a workable operating system in it, so that
jobs can be run. This is NOT a trivial process: note that there is no
Program Fetch resident in the machine, no I/O Access Method routines,
and not even a correct set of PSW's in low core for directing interrupt
actions.

For OS/360, the initialization process is composed of two parts:


IPL and NIP. IPL (Initial Program Loader) initializes memory and some
other things, and brings the NUCLEUS (the core of the OS) into memory.
NIP (Nucleus Initialization Program) performs the remaining actions
required to set up a specific NUCLEUS to be ready to execute.

A. IPL - Initial Program Loader

The process of getting an OS/360 system running is called IPLing,


and includes the following main steps:

1. The operator makes sure the disk pack called SYSRES (SYStems
RESidence) is mounted on a disk drive. The LOAD UNIT switches are set
to show the device address of the SYSRES disk pack, and the LOAD button
pressed. This causes the CONTROL RECORD to be read from the first
record on the disk pack, consisting of a PSW and two CCW's, placed at
location 0 in memory. Execution of this record causes the IPL
BOOTSTRAP record to be read into memory. The BOOTSTRAP record consists
of a set of CCW's which are used to read the IPL program into memory,
beginning at location 0. It ends with a LPSW to give control to the
IPL program.

2. IPL selects which NUCLEUS will be loaded (there may be a choice


which can be given by switches on the operator console).

3. IPL clears all memory above itself to zeroes, also obtaining


the size of memory; i.e., it stores until addressing interrupt occurs.

4. IPL clears the floating point registers, thus finding out if


the floating point feature is installed.

5. IPL brings the NUCLEUS into memory. First, it relocates the


part of itself not yet executed into high memory (near 252K), so that
the NUCLEUS can be placed beginning at 0. It then simulates Program
Fetch, loading the csects of the NUCLEUS load module into memory. The
first csect loaded is the NIP, loaded just below IPL, followed by the
I/O Interrupt Handler at 0 (which thus defines all of the special PSW's
in low core). IPL then passes control to NIP.
OSHASP - 02

B. NIP - Nucleus Initialization Program

The IPL process described above applies to all versions of OS/360.


The NIP is generated in different ways, depending on the specific type
of system and choice of options desired. Note: NIP is a csect which is
link-edited with the nucleus, so that it can refer to sections of the
nucleus via address constants, and provide efficient and specific
initialization services. It includes the following steps:

1. The CVT (Communications Vector TAble) is initialized, and its


location placed at location 16, so that it can be accessed from any
routine, whether part of the nucleus or not.

2. NIP determines whether the computer has Large Core Storage (LCS)
attached to it or not. This is particularly necessary for those
systems which include HIARCHY SUPPORT, i.e., the ability to usefully
distinguish between main core and LCS, perhaps splitting programs into
heavily-used and lesser-used sections.

3. NIP checks the workability of operator console(s), and also


checks the workability of ready direct-access devices (using TIO
instructions). It particularly checks that the SYSRES volume is mounted
and contains certain datasets needed by the system.

4. NIP performs various housekeeping actions, such as checking and


setting the timer to make sure it is working correctly, initializing
some pointers for storage management, initializing the SVC table (which
gives a pointer to each routine associated with a defined SVC number).
It also sets up to be able to obtain modules from the SYS1.LINKLIB,
which contains the heaviest-used load modules for the system, and also
establishes communications with the operator.

5. For any system having one, NIP loads reentrant modules into the
LINK PACK. These modules can be used during following execution, and
are located at the high end of memory. In a system with fast core+LCS,
the LINK PACK can be split, residing at both the high end of fast core
and the high end of LCS.

6. With the addition of various other miscellaneous operations,


NIP prepares a REGION which will contain the MASTER SCHEDULER, which is
the program doing overall job scheduling and operator communication.
It then can pass control (LINK or XCTL) to the MASTER SCHEDULER, and
the system is finally ready to run jobs.

At this point, memory layout (fast core only) is as follows:

HIGH ADDRESS LINK PACK (reentrant modules)


MS (MASTER SCHEDULER)
FREE AREA (dynamic for problem programs)
SQS (SYSTEM QUEU SPACE) (contains space for system
control blocks - TCB's, etc)
LOW ADDRESS NUCLEUS

NOTE: in systems with HIARCHY SUPPORT, FREE AREA, MS, and


LINK PACK would also have areas in LCS.
OSHASP - 03

II. RUNNING JOBS IN AN OS/360 SYSTEM

This section describes how jobs are run in a standard OS/360


system, using either OS-MFT or OS-MVT. Note that OS-PCP runs jobs
one at a time (sequential scheduling, uniprogramming), with no SPOOLing
of jobs to and from disk before and after execution. OS-MFT and OS-MVT
are generally similiar in that they both can SPOOL input onto DASD,
execute jobs in priority order, and write the output out later. The
main difference is in the handling of storage, in which OS-MVT is much
more dynamic. Note that all scheduling of jobs and communication with
the operator is effectively under the control of the MASTER SCHEDULER.

A. READING INPUT STREAMS

For each existing input stream (card reader, or input on tape),


the operator can issue a START RDR command. This causes a copy of the
READER/INTERPRETER program (referred to herafter as a RDR) to read
cardimages from the requested input device.

During its operation, a RDR reads an input stream, scans JCL cards
and converts them to a standard internal text form, and also obtains
cataloged procedure definitions from the procedure library (PROCLIB).
From the internal text, it builds INPUT QUEUE entries, representing
the information on the user JCL cards. It also writes any input data
cards onto disk, while placing pointers to the data into the INPUT
QUEUE entries so that it can be found later. The job's INPUT QUEUE
entry is enqueued in priority order with other jobs awaiting execution.

When all of the cards for a job have been read, it has in effect
been split up into the following:
1. INPUT QUEUE ENTRIES, in priority order, in a special system data
set used only for work queue entries, referred to as SYSJOBQUE.
2. INPUT STREAM DATA SETS, placed on DASD, using normal OS/360
Direct Access Device Storage Management (DADSM) routines. NOTE: DADSM
routines are themselves kept on DASD, nonresident, and allocating disk
space often requires a fair number of accesses to disk to look for free
space on one, and to allocate the space appropriately. The DADSM
routines are quite general and powerful, but also create some overhead.

B. INITIATING JOB STEPS

The operator may START one or more INITIATORs, each of which can
initiate jobs from one or more classes(categories) of jobs. Each
initiator will then attempt to initiate the highest priority job from
the first class of jobs which has a ready job. If there are no jobs
awaiting execution in its allowed classes, it WAITs for one to become
available. Note that it essentially removes input queue entries from
SYSJOBQUE. Like every RDR, each INITIATOR is executed as a separate
task. (INITIATOR may be abbreviated INIT).
OSHASP - 04

When an allowable job becomes available, the initiator obtains


a REGION for the job (from the FREE area, also called the DYNAMIC area),
uses the information from the RDR to allocate DASD storage, tape drives,
and other I/O devices. It then ATTACHes the first module of the program
to be executed (thus creating the JOB STEP TASK), and WAITs until the
job step completes.

When a job step is finished, the TERMINATOR (part of the INITIATOR


really, so that the whole unit is called an INITIATOR-TERMINATOR)
effectively cleans up, performing disposition of I/O devices (DISP
parameter in JCL), and releasing the REGION which had been acquired for
the job step.

During this process, job steps are essentially independent, i.e.,


they could require different sizes of regions, and might execute in
different locations. Note that the INITIATOR-TERMINATOR must also
control the skipping of steps as controlled by the JCL COND option.

During execution, SYSOUT datasets are written to DASD, to be


printed/punched later. When the last job step of a job completes,
the INIT creates a work queue entry calling for the job's output to be
printed/punched.

C. WRITING SYSTEM OUTPUT

A program called a SYSTEM OUTPUT WRITER (WTR) can be STARTed by


the operator to transcribe output from DASD to printers or punches, or
even tapes to be printed/punched later. Output can originally be
grouped into CLASSes, which can be written according to priority or
otherwise treated differently as desired.

COMMENTS ON THE PROCESS ABOVE

The process described above is quite flexible and general. However,


it does require a fair amount of time to set up any job, even a small
one. As such, it is quite satisfactory for any installation which runs
jobs which require a fair amount of time, since then the setup time is
negligible. However, due to the use of OS DADSM for PSPOOLed input and
output, DASD space can become fragmented, disk head movement can
become excessive, and much time can be used up allocating and
deallocating disk space. Although OS/360 is quite reasonable in a
commercial installation, or in one running a few large jobs, it seems
to have too much overhead for university or other installations which
often run many small jobs. For this reason, most larger S/360 computers
(i.e., models 75,67,65, and larger 50's) typically use some method to
reduce the overhead in running small jobs. All of the methods involve
'faking out' OS/360 in some aspect or other. The method emphasized here
(which happens to be the most popular one) is HASP (Houston Automatic
Spooling Priority) system.
OSHASP - 05

III. RUNNING AN OS/360 HASP SYSTEM

In any OS/360 system, it is fairly typical to have one or more


special jobs in the system, which are loaded before normal user jobs.
and typically remain resident from one IPL to the next. Such jobs may
control remote batch terminals, timesharing typewriter terminals, or
provide any other service which the installation desires. Such jobs
are normally placed into the high-address sections of the FREE area
(or of the two FREE areas, if the system has both main core plus LCS).
When HASP is used, it is normally the first job submitted to OS/360,
and it essentially takes over the system, even though it appears to
OS/360 as just another job.

A. HASP INITIALIZATION

There are two possible cases when starting HASP up after an IPL.
A COLD START occurs when the system is completely empty, i.e., there
are no jobs already enqueued on disk which can be executed. If there
are disk packs on the system containing previously-read jobs, the start
is called a WARM START. A WARM START normally occurs if the system was
previously taken down on purpose, such as for systems programming, or
if enough information had been saved previous to a 'crash'. A COLD
START only occurs when the system crashes badly, and destroys records
of jobs already SPOOLed onto disk. In this case, the jobs must be read
in again.

When HASP first gains control, it issues a special SVC call, which
returns to HASP with protect key 0 and supervisor state, also supplying
HASP with some useful pointers to control blocks in the nucleus. NOTE:
this special SVC can only be called 1 time, since it locks after its
first usage after an IPL.

UCB's (Unit Control Blocks) exist for every device connected to


the computer system. HASP now scans these, and essentially allocates to
itself:

1. All real unit-record devices (readers, punches, printers).

2. All disk packs which have volume label names beginning SPOOL.

It also obtains effective control of the operator's console(s),


plus remote terminals, if any.

Finally, HASP modifies the SVC table (which contains pointers to


the routines which are called for each specific SVC number), so that
the following ones go into HASP, rather than to the original routines
(also saving these addresses for later use for itself):

SVC 0 (EXCP - all input/output)


SVC 34 (WTL - write to log)
SVC 35 (WTO, WTOR - write to operator, with/withput reply)
OSHASP - 06

B. RUNNING NORMAL USER JOBS UNDER OS/360 WITH HASP

1. Input Stage - HASP continually reads cards from whatever card


readers are active in the system. It checks for JOB cards, performs
various accounting checks on input jobs, and transcribes the jobs to
disk. In this stage, each job is split up into two sections: the JCL
cards (with certain modifications), and the input data cards. It
enqueues the jobs according to a priority scheme, which can be found
from many different sources of information. These include category,
time, output, storage requirements, originating site of job, and
commands from the operator to change priority of either single jobs
or entire groups of jobs. The disk allocation scheme used is quite
efficient, and is described later.

2. Execution Stage - HASP has the ability to control which jobs


may execute in which portions of the OS FREE area, and using the various
priority and storage requirements, it selects jobs from its queue to be
executed. One OS RDR exists, permanently STARTed to a card reader.
This card reader does not actually exist (i.e., it has a device address
which does not correspond to a real card reader). Since SVC 0's are
intercepted by HASP anyway, HASP effectively selects a job and feeds it
to the OS RDR, which thinks the job is coming across a real card reader.
The OS RDR includes an EXIT LIST, which allows it to call some routine
after it has scanned each JCL Card, but before the JCL card's data is
actually recorded. HASP is entered, and takes this opportunity to
modify any JCL that it wishes to, for example, removing any REGION=
requests on JOB or EXEC cards. HASP has special treatment for any
system input or output data sets, as described below:

//XXXXXXXX DD * or DATA : the OS RDR would normally expect data


to follow such a card, and would normally thus SPOOL such to disk
itself. HASP does not want this to occur, since it has already SPOOLed
the data. It happens that there are large number of UCB's for pseudo
card readers already in the system. HASP selects one of these UCB's
which is not being used, and effectively changes the tables for this
type of card so that it appears as:
//XXXXXXXX DD UNIT=xxx
As a result, the OS RDR thinks that the data set will be read from
unit xxx, so that it does not try to SPOOL the input. In any case,
the input no longer follows that JCL card, because HASP feeds the RDR
only the JCL cards of a user job. During this process, HASP connects
up the device address xxx to the specific input data set which had
been previously SPOOLed.

//XXXXXXXX DD SYSOUT=x : HASP also has a large number of UCB's for


nonexistent, pseudo printers/punches. It does the same thing to this
kind of card as it does to DD * cards, except that it only allocates
the pseudo devices, and will later save the output which is written to
them.

As soon as the RDR finishes reading a job, an initiator can


immediately initiate it, since HASP chooses jobs appropriately.
When the initiator chooses i/o devices, it finds that it can always
allocate devices for unit-record i/o, since HASP had already checked
to make sure a pseudo reader/printer/punch was available for each
SYSIN or SYSOUT data set.
OSHASP - 07

Finally, a job step of the user job executes. When it wishes


to read cards or print lines, it acts as though it were using a real
device attached to the system, and OS/360 accepts this. Whenever an
SVC 0 is issued to request such I/O, HASP intercepts it.

HASP may be entered for any of the following reasons:

1. WTO, WTOR, WTL - HASP adds own processing as desired.


2. I/O to disk, drum, tape, terminals, etc - HASP does not
interfere, but passes these on to the real I/O Supervisor.
3. I/O to real unit-record devices - these have probably been
issued by HASP in the first place, so it passes control to the real
I/O routines to let them perform the I/O.
4. I/O to a pseudo device - these must be caused by user program.
For input, HASP fetches the cardimages from disk into memory (if they
are not already present), and feeds requested cardimage(s) to the user
program by MVCing them there (using user protect key for safety). For
output, it blocks up output and eventually writes it to disk. In all
cases, HASP simulates the effect of having real card readers/printers/
punches, which are odd only in possessing great speed; i.e., the effect
on OS/360 is of having issued an I/O request and having had it complete
immediately.

During execution, HASP can also provide extra services, such as


monitoring time used, output records, etc. It also reorders priorities
of executing user tasks so that I/O bound jobs have higher priorities
than do CPU-bound ones. This action (which is unknown to OS/360) helps
minimize time spent waiting .

3. Output Stages - Print and Punch - after a job has been executed,
it enters the Print queue, is printed, enters the Punch queue, and
has punched output (if any) actually punched. This activity occurs
without the knowledge of OS/360, which believes the job disappeared
whenever it finished execution. Only when a job is finished punching
is its disk space released. This allows for jobs to be saved across
system crashes, and for such useful services as repeating output by
operator control.

C. DASD STORAGE MANAGEMENT IN HASP

HASP manages its DASD storage quite efficiently, not only needing
NO accesses to DASD to allocate or deallocate space, but also doing a
good job of minimizing arm movement on moveable-head devices. HASP
requires the use of entire volumes (normally 2311 or 2314 disks). For
example, the PSU CC's 360/67 has 3 2314 disk packs for HASP. The
management of this storage works as follows:

A MASTER CYCLINDER BIT-MAP is maintained in HASP. This is a


string of bytes, in which each bit represents 1 CYLINDER on the SPOOL
disks (for example, 600 bits for the cylinders on 3 packs). A one-bit
represents a FREE CYLINDER, while a zero-bit shows that the given
cylinder is allocated to some job. HASP also remembers for each disk
which cylinder was the last referenced, thus always noting the current
position of the read/write heads.
OSHASP - 08

Two JOB BIT-MAPS exist for each job, one for SYSIN data and the
other for SYSOUT data. Whenever a cylinder is required for a job,
HASP searches for a free one in the following fashion:
1. It first searches the master bit-map for a free cylinder at
the current position of any read/write head, i.e., where it can read
or write without even moving a head.
2. It then searches for a free cylinder at +1 from current head
positions, then -1 from each, followed by +2, -2, etc up to +8, -8
cylinders away from current head position.
3. If the above fail, it searches sequentially through all
cylinders in the master bit-map.
When a cylinder is found, its bit is turned off in the master bit-
map, and turned on in the appropriate job bit-map. The overall effect
of this process is to minimize head movement.
When disk storage for a job is to be released, the deallocation
scheme is extremely fast and efficient: the job bit-maps are just
OR'd into the master bit-map, thus returning all of the cylinders to
free storage.

IV. OTHER PSEUDO-DEVICE SYSTEMS FOR USE WITH OS/360

The following are other systems which are based on OS/360, but
use some kind of pseudo-devices to make it run faster.

A. ASP - ATTACHED SUPPORT PROCESSOR

In this system, 2 computers are used. All unit-record devices are


attached to the multiplexor channel of a medium-sized 360, along with
some disk. It performs all SPOOLing, control of remote terminals, etc.
It is connected to a larger system via a chnnel. OS/360 is in the
large system, and it reads its input and sends its output along the
channel-channel hookup between the two CPU's. A typical setup would
use a 360/50 hooked to a 360/75.

An advantage over HASP is that ASP offers somewhat better setup


facilities for optimizing use of tapes and non-SPOOL disks. A
disadvantage is the requirement of two CPU's, either of which may have
problems, and thus stop the entire system.

B. LASP (LOCAL ASP) or CLASP (CLOSELY LINKED ASP)

These are versions of ASP in which the code from the smaller
computer is moved over into a region on the larger machine. This allows
an ASP system to be run on one processor. If the system is also run
under straight ASP, it requires switches to switch the unit-record
devices over to the bigger machine. It also requires more memory than
HASP, but does allow the system to run even with one CPU down.

C. TUCC HYPERDISK

This method uses LCS plus part of a 2314 disk pack to simulate
the entire disk pack containing heavy-used systems programs. The most
recently used tracks of this disk are kept in LCS, thus making the disk
effectively faster, without changing the internals of OS/360.
OSHASP - 09

V. PSU CC 360/67 SYSTEM - OS/MVT WITH HASP

The following tables gi$e the current layout (with no guarantee of


future appearance) as of 6/12/72, for the 360/67 at the PSU CC. The
system has both fast core (1024K) and Large Core Storage (2048K).

LOW HIGH K LOW HIGH


MS 2928 3072 144 2DC000 300000
HASP 1968 2928 960 1EC000 2DC000
FMGR 1628 1968 340 197000 1EC000
RJE 1346 1628 282 150800 197000
WATFOR 1336 1346 10 14E000 150800
RASP 1236 1336 100 135000 14E000
FREE 1024 1236 212 100000 135000
______________________________________________________________
MS 964 1024 60 0F1000 100000
HASP 876 964 88 0DB000 0F1000
RDR 866 876 10 0D8800 0DB000
FMGR 852 866 14 0D5000 0D8800
RJE 832 852 20 0D0000 0D5000
WATFOR 704 832 128 0B0000 0D0000
FREE 122 704 582 01E800 0B0000
NUC 0 122 122 000000 01E800

NOTES

MS (Master Scheduler) includes the Link Pack areas. The fast core
section contains mainly modules for the various I/O Access Methods,
while the LCS part contains reentrant parts of INITIATORS, RDRS,
plus other routines (overlay supervisor, special tables,etc).

HASP Fast core section is most heavily-used sections. LCS part has
lesser-used sections, plus such items as in-core SYSJOBQUE (HASP
intercepts all RDR and INIT reads/writes to SYSJOBQUE, and keeps
such information in about 600K of LCS). Also has HASP buffers for
all devices, plus tables of tape names/locations for user tapes.

FMGR File Manager - manages, synchronizes RJE, BAT files.

RJE Remote Job Entry - handles typewriter terminals.

WATFOR WATFOR REgion - RPSS - manages CAtegory W fast processors


swapped in and out of memory (WATFOR, ASSIST, PL/C, etc).

RASP Interface between 360/67 and ADAGE AGT/30 graphics computer.

FREE fast core - 560K for user programs (4x140, 2x280, 1x280+2x
140, occasionally 1x560), rest for Sytem Queue Space.
LCS - currently unused, except for systems programs.
//JOBLIB DD UNIT=SYSDA,DSN=&&LOADMOD,SPACE=(CYL,(5,1,3)),DISP=(,PASS)
//* * * * * * * * * * * * * * * * * * * * * * * * * * * * * * * * * * *
//* *
//* OVERLAY TEST PROGRAM *
//* *
//* THIS PROGRAM ILLUSTRATES THE USE OF THE OVLY OPTION *
//* FOR THE LINKEDITOR. IT FIRST PRODUCES AN OBJECT MODULE *
//* OF A NUMBER OF CSECTS, THEN USES THE LINKE EDITOR TO PUT *
//* THEM TOGETHER IN VARIOUS WAYS, USING: *
//* ASMLINK: ASSEMBLE, THEN LINK MODULES 4 WAYS, PLACING THEM *
//* IN &&LOADMOD AS MODULES MOD0 - MOD3. *
//* THE REMAINING STEPS EXECUTE THE MODULES MOD0-MOD3. *
//* STEP0: NO OVERLAY WHATSOEVER *
//* STEP1: SIMPLE OVERLAY WITH THREE SEGMENTS *
//* STEP2: COMPLEX 1-REGION OVERLAY WITH 10 SEGMENTS *
//* STEP3: THREE REGION OVERLAY - MOVES SUBROUTINES OUT *
//* OF THE ROOT SEGMENT. *
//* *
//* CALLING HIERARCHY CHART FOR THIS PROGRAM *
//* LEVEL MODULE CALLS ROUTINES AT LEVEL SHOWN (CSECTS ONLY). *
//* 5 MAIN *
//* 4 SUB1 *
//* 2 SUB1C, SUB2 *
//* *
//* 4 SUB1 *
//* 3 SUB1B *
//* 2 SUB1C *
//* 1 MSUB1, MSUB2 *
//* 0 MSUB3, MSUB4, SUB1A *
//* *
//* 3 SUB1B *
//* 2 SUB1C *
//* 0 SUB1D *
//* *
//* 2 SUB1C *
//* 1 MSUB2 *
//* SUB2 *
//* 1 MSUB1 *
//* 0 SUB2A, SUB2B, SUB2C *
//* *
//* 1 MSUB1 *
//* 0 MSUB3, MSUB4 *
//* MSUB2 *
//* 0 MSUB3, MSUB4 *
//* *
//* 0 MSUB3, MSUB4, SUB1A, SUB1D, SUB2A, SUB2B, SUB2C *
//* *
//* * * * * * * * * * * * * * * * * * * * * * * * * * * * * * * * * * *
//*
//* STEP ASMLINK(SOURCE,OBJECT) : ASSEMBLE THE PROGRAM,
//* THEN USE LINKEDITOR TO PRODUCE 4 LOAD MODULES, WITH THE
//* MODULES LINKED IN INCREASING ORDER OF OVERLAY COMPLEXITY.
//*
//ASMLINK EXEC ASGCL,PARM.SOURCE='NOXREF',PARM.OBJECT='MAP,LIST,OVLY'
//SOURCE.SYSGO DD DSN=&&STUPID
//SOURCE.INPUT DD *
OVLY TITLE 'TEST PROGRAM FOR OVERLAY OPTIONS'
MACRO
&LABEL OCALL &ENTRY
.*--> MACRO: OCALL SPECIAL VERSION OF CALL TO SHOW V-A-ADCONS. . .
&LABEL L 15,=A(&ENTRY) . A-TYPE ADCONS
L 15,=V(&ENTRY) . V-TYPE ADCON
BALR 14,15 . CALL THE ROUTINE
MEND
SPACE 4
XSET XSAVE=OFF,XRETURN=OFF ZAP THE TONS OF MESSAGES
MAIN CSECT
PRINT NOGEN
XSAVE
L 15,=V(SUB1) GET @ WHERE ENTAB IS
XSNAP T=NO,LABEL='THIS IS ENTAB',STORAGE=(*0(15),*40(15))
SPACE 2
OCALL SUB1
OCALL SUB2
OCALL SUB1CE ENTRY POINT OF CSECT SUB1C
OCALL SUB2C
XSNAP T=NO,LABEL='A-V-ADCONS FOR SAME',STORAGE=(MAIN1,MAIN2)
SPACE 2
XRETURN SA=*
MAIN1 DS 0D BEGINNING ADDRESS FOR LITERAL DUMP
LTORG
MAIN2 EQU * ENDING ADDRESS FOR LITERAL DUMP
ORG MAIN+X'1000' MAKE SIZE NIZE
TITLE 'CSECTS SUB1, SUB2, SUB1A, SUB1B'
SUB1 CSECT
XSAVE
SPACE 1
CALL MSUB1 CALL LOW LEVEL ROUTINE
CALL MSUB2 "
CALL MSUB3 "
CALL MSUB4
CALL SUB1A
CALL SUB1B
CALL SUB1C
SPACE 1
XRETURN SA=*
ORG SUB1+X'2000'
SPACE 3
SUB2 CSECT
XSAVE
SPACE 1
CALL MSUB1
SPACE 1
CALL SUB2A
CALL SUB2B
CALL SUB2C
SPACE 1
XRETURN SA=*
ORG SUB2+X'3000'
SPACE 2
SUB1A CSECT
XSAVE
SPACE 1
XRETURN SA=*
ORG SUB1A+X'4000'
SPACE 1
SUB1B CSECT
XSAVE
SPACE 1
CALL SUB1C
CALL SUB1D
SPACE 1
XRETURN SA=*
ORG SUB1B+X'5000'
TITLE 'CSECTS SUB1C,D SUB2A,B,C'
SUB1C CSECT
ENTRY SUB1CE
XSAVE
SPACE 1
CALL MSUB2
SPACE 1
XRETURN
SUB1CE XSAVE
SPACE 1
CALL MSUB2
SPACE 1
XRETURN SA=*
ORG SUB1C+X'1000'
SPACE 2
SUB1D CSECT
XSAVE
XRETURN SA=*
ORG SUB1D+X'1000'
SPACE 3
* SUB2A,B,C - SUBROUTINES CALLED BY SUB2 OR MAIN.
SUB2A CSECT
XSAVE
XRETURN SA=*
ORG SUB2A+X'3000'
SPACE 2
SUB2B CSECT
XSAVE
XRETURN SA=*
ORG SUB2B+X'2000'
SPACE 2
SUB2C CSECT
XSAVE
XRETURN SA=*
ORG SUB2C+X'2000'
TITLE 'MSUB1,2,3,4 CSECTS - CALLED FROM ALL OVER'
MSUB1 CSECT
XSAVE
SPACE 1
CALL MSUB3
CALL MSUB4
SPACE 1
XRETURN SA=*
ORG MSUB1+X'3000'
SPACE 2
MSUB2 CSECT
XSAVE
SPACE 1
CALL MSUB3
CALL MSUB4
SPACE 1
XRETURN SA=*
ORG MSUB2+X'4000'
SPACE 2
MSUB3 CSECT
XSAVE
XRETURN SA=*
ORG MSUB3+X'1000'
SPACE 2
MSUB4 CSECT
XSAVE
XRETURN SA=*
ORG MSUB4+X'1000'
END
//*
//* THE FOLLOWING STMTS ARE JCL KLUDGES REQUIRED TO
//* GET EVERYTHING IN THE RIGHT PLACE, GIVEN THE WAY THE CAT.
//* PROCEDURES ARE SET UP.
//*
//OBJECT.SYSLIN DD *
INCLUDE OBJ GET FOR MOD0 (NO OVERLAY
NAME MOD0 (OVERLAY OPT WILL BE NULLED OUT)
INCLUDE OBJ GET ANOTHER COPY OF THE OBJECT
OVERLAY ALPHA DEFINE BEGINNING
INSERT SUB1,SUB1A,SUB1B,SUB1C,SUB1D SUB1&ITS SUBRS
OVERLAY ALPHA BACK TO SAME PLACE AS ABOVE
INSERT SUB2,SUB2A,SUB2B,SUB2C SUB2& ITS SUBRS
NAME MOD1 3-SEGMENT OVERLAY MODULE
INCLUDE OBJ COPY FOR 10-SEGMENT OVERLAY
OVERLAY ALPHA ORIGIN AS BEFORE
INSERT SUB1 POSITION SUB1 AFTER ROOT
OVERLAY BETA1 ORIGIN FOR SUB1A,B
INSERT SUB1A PUT SUB1A AT END OF SUB1
OVERLAY BETA1 BACK TO END OF SUB1
INSERT SUB1B PUT SUB1B AT END OF SUB1 ALSO
OVERLAY CHI1 END OF SUB1B
INSERT SUB1C PUT SUB1C AT END OF SUB1B
OVERLAY CHI1 BACK TO END OF SUB1B
INSERT SUB1D PUT SUB1D BEGIN LIKE SUB1C
OVERLAY ALPHA BACK TO WHERE SUB1 BEGAN
INSERT SUB2 BEGIN SUB2 WHERE SUB1 DID
OVERLAY BETA2 ORIGIN FOR SUB2'S SUBROUTINES
INSERT SUB2A PUT SUB2A AT END OF SUB2
OVERLAY BETA2 BACK EVEN WITH SUB2A
INSERT SUB2B PUT SUB2B IN SAME PLACE AS SUB2A
OVERLAY BETA2 ONCE MORE
INSERT SUB2C PUT C IN SAME AS A AND B
NAME MOD2 10-SEGMENT SINGLE REGION MODULE
INCLUDE OBJ COPY FOR 3-REGION OVERLAY
OVERLAY ALPHA ORIGIN AS BEFORE
INSERT SUB1 POSITION SUB1 AFTER ROOT
OVERLAY BETA1 ORIGIN FOR SUB1A,B
INSERT SUB1A PUT SUB1A AT END OF SUB1
OVERLAY BETA1 BACK TO END OF SUB1
INSERT SUB1B PUT SUB1B AT END OF SUB1 ALSO
OVERLAY CHI1 END OF SUB1B
INSERT SUB1C PUT SUB1C AT END OF SUB1B
OVERLAY CHI1 BACK TO END OF SUB1B
INSERT SUB1D PUT SUB1D BEGIN LIKE SUB1C
OVERLAY ALPHA BACK TO WHERE SUB1 BEGAN
INSERT SUB2 BEGIN SUB2 WHERE SUB1 DID
OVERLAY BETA2 ORIGIN FOR SUB2'S SUBROUTINES
INSERT SUB2A PUT SUB2A AT END OF SUB2
OVERLAY BETA2 BACK EVEN WITH SUB2A
INSERT SUB2B PUT SUB2B IN SAME PLACE AS SUB2A
OVERLAY BETA2 ONCE MORE
INSERT SUB2C PUT C IN SAME AS A AND B
OVERLAY REGION2(REGION) NEW REGION
INSERT MSUB1 TAKE OUT OF ROOT SEGMENT
OVERLAY REGION2 REPOSITION (DON'T NEED (REGION)
INSERT MSUB2 PUT MSUB2 SAME AS MSUB1
OVERLAY REGION3(REGION) NEED ANOTHER REGION FOR MSUB3,4
INSERT MSUB3 PUT IN THIS REGION
OVERLAY REGION3 BACK TO BEGINNING OF REGION
INSERT MSUB4 PUT MSUB4 SAME AS MSUB3
NAME MOD3 3-REGION, 14-SEGMENT OVERLAY
//*
//* THE FOLLOWING SECTIONS MODIFY THE SYSLMOD CORRECTLY AND
//* DEFINE &&STUPID SO THAT IT CAN BE INCLUDED.
//*
//OBJECT.SYSLMOD DD VOL=REF=*.JOBLIB,DSN=&&LOADMOD,DISP=(OLD,PASS)
//OBJECT.OBJ DD DSN=&&STUPID,DISP=(OLD,PASS)
//*
//* NOW EXECUTE THE LOAD MODULES PRODUCED BY ASMLINK.
//* STEPS STEP0-STE3 FOR MODULES MOD0-MOD3
//* THESE ARE IN OUR JOBLIB, SO WE CAN JUST CALL THEM OUT
//* WITH EXEC STMTS.
//*
//STEP0 EXEC PGM=MOD0 NO OVERLAY
//XSNAPOUT DD SYSOUT=A
//*
//STEP1 EXEC PGM=MOD1 3-SEGMENT OVERLAY
//XSNAPOUT DD SYSOUT=A
//*
//STEP2 EXEC PGM=MOD2 10-SEGMENT, 1-REGION OVERLAY
//XSNAPOUT DD SYSOUT=A
//*
//STEP3 EXEC PGM=MOD3 14-SEGMENT, 3-REGION OVERLAY
//XSNAPOUT DD SYSOUT=A
//*
//* END OF EXAMPLE ON OVERLAY PROGRAMS
//*
//*
//* 1. SAMPLE PROGRAM - EXAMPLE OF IEBPTPCH, ON PDS, SHOWING HOW TO
//* PRINT SEVERAL MACROS FROM SYS1.MACLIB (CALL,SAVE,RETURN)
//*
//*
//* PRINT SEVERAL MACROS, USING PTPCH
//*
//PRINTMAC EXEC PGM=IEBPTPCH
//SYSPRINT DD SYSOUT=A
//SYSUT2 DD SYSOUT=A
//SYSUT1 DD DSN=SYS1.MACLIB,DISP=SHR
//* DSN=CMACLIB,DISP=SHR FOR PSU LOCAL MACROS
//SYSIN DD *
PRINT TYPORG=PO,MAXFLDS=6,MAXNAME=3
TITLE ITEM=('MACRO LISTINGS',40)
TITLE ITEM=(' ',40)
MEMBER NAME=CALL
RECORD FIELD=(72,,,10),FIELD=(8,73,,90)
MEMBER NAME=SAVE
RECORD FIELD=(72,,,10)
MEMBER NAME=RETURN
RECORD FIELD=(72,,,10)
//*
//* SAMPLE PROGRAM - INPUT/OUTPUT - QSAM
//* 1. READ FROM CARD READER, ECHO TO PRINTER, WRITE ON DISK.
//* 2. READ FROM DISK, WRITE TO PRINTER.
//* ILLUSTRATES GET-MOVE, PUT MOVE, GET-LOCATE, PUT-LOCATE.
//*
//STEP1 EXEC ASGCG,PARM.SOURCE='NOESD,NOXREF',PARM.DATA='MAP'
//SOURCE.INPUT DD *
TITLE 'QSAM SAMPLE PROGRAM'
IOTESTQS CSECT
PRINT NOGEN
EQUREGS
XSAVE TR=NO NO TRACING TO BE DONE
PRINT GEN GEN SO CAN SEE OPENS, ETC
SPACE 1
* USE THE OPEN MACRO TO INITIALIZE FOR INPUT/OUTPUT.
SPACE 1
OPEN (IOCRDDCB,(INPUT),IOPRTDCB,(OUTPUT))
* THE ABOVE GIVES 2 DCB NAMES AND DIRECTIONS FOR I/O.
OPEN (IODSKDCB,(OUTPUT)) OPEN WHERE WE WILL PUT DATA
SPACE 1
* PRINT A TITLE BEFORE DOING ANYTHING ELSE
PUT IOPRTDCB,IOTITLE1 PUT THE MESSAGE - PUT-MOVE FORM
SPACE 2
* THE FOLLOWING LOOP READS A CARD FROM CARD READER,
* PRINTS IT AS AN ECHO CHECK, THEN WRITES IT ON DISK.
* CONTROL IS TRANSFERRED TO IOEOF1 WHENEVER THERE ARE
* NO MORE CARDS LEFT.
IOREAD GET IOCRDDCB,IOCARD MOVE NEXT CARD TO IOCARD#
PUT IOPRTDCB,IOCARD PRINT IT (IT HAS CARRIAGE CONTROL)
SPACE 1
* NEXT PUT ILLUSTRATES PUT-LOCATE. OS/360 RETURNS IN
* R1 THE ADDRESS OF NEXT BUFFER IN WHICH TO PLACE OUTPUT
* CARD. WE MOVE IT THERE OURSELVES.
PUT IODSKDCB 2ND OP OMITTED SINCE PL
MVC 0(80,R1),IOCARD MOVE THE CARD THERE
B IOREAD GO BACK FOR MORE
SPACE 1
IOEOF1 EQU * BRANCH HERE - SEE EODAD=IOEOF1
* USE CLOSE MACRO TO CLEAN UP AT END OF PROCESSING.
* WILL ALSO WRITE OUT LAST BUFFER CREATED.
CLOSE (IOCRDDCB,,IODSKDCB) NOTE EXTRA COMMA REQUIRED.
* WE NOW REOPEN IODSKDCB FOR INPUT THIS TIME. NOTE THAT
* THE NAME ONLY IS INCLUDED. IF THE OPTION IS OMITTED,
* INPUT IS IMPLIED.
OPEN (IODSKDCB) OPEN IT FOR INPUT
PUT IOPRTDCB,IOTITLE2 PRINT SECOND TITLE
SPACE 1
* AT THIS POINT, WE CLOSE PRINT DCB, DYNAMICALLY CHANGE
* LRECL AND BLKSIZE TO 80, SO WE DON'T HAVE TO PAD WITH
* BLANKS THIS TIME, THEN RE-OPEN.
CLOSE (IOPRTDCB) CLOSE IT, FLUSH BUFFERS
MVC IOPRTDCB+X'3E'(2),=H'80' MAKE BLKSIZE 80
MVC IOPRTDCB+X'52'(2),=H'80' MAKE LRECL 80 ALSO
OPEN (IOPRTDCB,(OUTPUT)) REOPEN NOW
* THE ABOVE KLUDGE ONLY NECESSARY BECAUSE LAZY PROGRAMMER
* DOESN'T WANT TO PAD WITH BLANKS AND MOVE CARDS AROUND.
SPACE 1
SPACE 1
* FOLLOWING LOOP READS THE RECORDS BACK FROM DISK, THEN
* PRINTS THEM OUT AGAIN.
IOREAD2 EQU * LOOP HEAD FOR READING
GET IODSKDCB GET-LOCATE - R1= @ NEXT RECORD
LR R0,R1 MOVE TO PLACE BEST FOR PUT
PUT IOPRTDCB,(0) ILLUSTRATE REGISTER FOR FOR PUT-MOVE
B IOREAD2 LOOP UNTIL DONE
SPACE 1
IOEOF2 EQU * BRANCH HERE - SEE EODAD=IOEOF2
CLOSE (IODSKDCB) DONE WITH IT - CLOSE IT
LA R2,IOTITLE3 PUT IN @ TITLE AREA
PUT IOPRTDCB,(2) ILLUSTRATE REGISTER FORM
CLOSE (IOPRTDCB) MAKE SURE LAST PRINTED -DONE
SPACE 1
PRINT NOGEN
XRETURN SA=*,TR=NO
SPACE 1
IOCARD DS 0D,CL80 80 BYTES, D ALIGNED
DC CL53' ' PAD TO 133 BYTES FOR PRINTING
IOTITLE1 DC CL133'1***** ECHO-CHECK OF INPUT CARDS BELOW *****'
IOTITLE2 DC CL133'0***** FIRST PASS DONE, RECORDS FROM DISK FOLLOW #
BELOW *****'
IOTITLE3 DC CL133'0***** END OF EXAMPLE - LAST LINE PRINTED *****'
SPACE 1
PRINT GEN
* DATA CONTROL BLOCKS FOLLOW.
SPACE 1
* DATA CONTROL BLOCK FOR THE CARD READER
IOCRDDCB DCB DDNAME=CARDS, JCL DDNAME DEFINING THE DATA #
DSORG=PS, PHYSICAL SEQUENTIAL DEVICE #
MACRF=GM, GET-MOVE MACRO FORM USED #
EODAD=IOEOF1, END-OF-DATA EXIT ADDRESS TO GOTO #
RECFM=F, RECORD FORMAT - FIXED -NOT BLOCKED #
LRECL=80, LOGICAL RECORD LENGTH = CARD SIZE #
BLKSIZE=80 BLOCK SIZE = CARD SIZE, UNBLOCKED
* NOTE, THE LAST 3 PARAMETERS COULD BE LEFT OFF HERE
SPACE 1
* DCB FOR THE PRINTER, PSECIFYING ALL NEEDED.
IOPRTDCB DCB DDNAME=PRINT, JCL DDNAME FOR THE PRINTER #
DSORG=PS, DATA SET ORGANIZATION-PHYS SEQ. #
MACRF=PM, MACRO FORMAT IS PUT-MOVE #
RECFM=FA, RECORD FORMA -FIXED, HAS CARR CONTRL#
LRECL=133, LOGICAL RECORD LENGTH- PRINT LINE #
BLKSIZE=133 BLOCK SIZE SAME AS LRECL, UNBLOCKED
SPACE 1
* NOW HAVE DCB FOR DISK, WILL SPECIFY SOME DCB VALUES IN
* THE JCL CARDS (DD CARD FOR WORKDISK).
IODSKDCB DCB DDNAME=WORKDISK, JCL DDNAME USED #
DSORG=PS, ALSO PHYSICAL SEQUENTIAL DATASET #
MACRF=(GL,PL), BOTH GET- AND PUT- LOCATE MACRO FORM#
EODAD=IOEOF2 FOR WHEN END-OF-DATA
END
//*
//* NOW EXECUTE THE PROGRAM
//*
//DATA.WORKDISK DD UNIT=SYSDA, GIVE ME SPACE ON ANY DASD #
// SPACE=(160,(20)), SPACE FOR 20 RECORDS OF 2 CARDS #
// DCB=(RECFM=FB,LRECL=80,BLKSIZE=160), SUPPLY DCB #
// DSNAME=&&TEMP, GIVE DATA SET A NAME (UNNEC HERE) #
// DISP=(NEW,DELETE) CREATE IT NOW, GET RID WHEN DONE
//DATA.PRINT DD SYSOUT=A PUT THIS ON A PRINTER SOMEWHERE
//DATA.CARDS DD * WE HAVE A SET OF CARDS FOLLOWING
0 FIRST INPUT TEST CARD
SECOND INPUT TEST CARD - GOES IN BLOCK WITH FIRST.
0 THIRD INPUT TEST CARD
FOURTH INPUT TEST CARD - GOES IN BLOCK WITH THIRD
0 FIFTH INPUT TEST CARD - WILL BE IN TRUNCATED BLOCK BY ITSELF.
//*
//* THIS JOB WILL RUN WITH TIME = 25 SECONDS
//* RECORDS = 600
//*
// EXEC ASGCG
//SYSIN DD *
*
* . . . . . . . . . . . . . . . . . . . . .
* THE PURPOSE OF THIS PROGRAM IS TO DEMONSTRATE THE USE OF
* GETMAIN AND FREEMAIN WITH THE E CONVENTION
* . . . . . . . . . . . . . . . . . . . . .
*
RCALL DSECT
SAVEAREA DS 18F
NUMBER DS F
PRINT NOGEN
EQUREGS
*
* . . . . . . . . . . . . . . . . . . . . .
* THE MAIN PROGRAM ONLY CALLS THE RECURSIVE SUBROUTINE RECRSIVE
* . . . . . . . . . . . . . . . . . . . . .
*
MAIN CSECT
XSAVE
CALL RECRSIVE,(NMBR)
XRETURN SA=*
NMBR DC F'5'
*
* . . . . . . . . . . . . . . . . . . . . .
* THE CSECT RECRSIVE IS A RECURSIVE CSECT THE SAVEAREA IS OBTAIN
* FROM THE OPERATING SYSTEM BY A GETMAIN THEN THE PARM HAS 1
* SUBTRACTED FROM IT AND IF IT IS 0 THEN WE OUTPUT THE SAVEAREAS
* IF NOT 0 THEN WE CALL RECRSIVE THE LAST WORD THAT IS OBTAINED
* HAS THE VALUE FOR THE NEXT CALL TO RECRSIVE
* . . . . . . . . . . . . . . . . . . . . .
*
RECRSIVE CSECT
USING *,15
LR R11,R15 MAKE A COPY OF ENTRY ADDRESS
*
* . . . . . . . . . . . . . . . . . . . . .
* FIRST WE GET A COPY OF THE ADDRESS OF THE PARM LIST THEN
* OBATIN THE DESIRED STORAGE FROM THE OPERATING SYSTEM
* NEXT SET R2 FOR A DSECT THEN DO AN XSAVE WITH SA = SAVEAREA
* NEXT TEST THE PARM TO SEE IF IT IS 0
* . . . . . . . . . . . . . . . . . . . . .
*
LR R3,R1 MAKE A COPY OF PARM LIST ADDRESS
PRINT GEN
GETMAIN EU,LV=80,A=ADDRESS,SP=1
PRINT NOGEN
LR R15,R11 SET R15 FOR USING IN XSAVE
L R2,ADDRESS SET R2 TO BEGINNING OF AREA OBTAINED
XC 0(80,R2),0(R2) CLEAN OUT THE AREA
* THIS WILL BE USED WITH DSECT
USING RCALL,2
STM R14,R12,12(R13) SAVE REGS OF CALLING PGM
LA R5,SAVEAREA GET ADD OF CALLED PGM SAVEAREA
ST R5,8(R13) SET LINK FOR LSA OF CALLING PGM
ST R13,4(R5) SET HSA OF CALLED PGM
LR R13,R5 SET R13 TO CALLED PGM SAVEAREA
BALR R12,R0 SET R12 FOR BASE FEG
DROP R15
USING *,R12
L R4,0(R3) GET ADDRESS OF PARM
L R5,0(R4) GET PARM
XDECO R5,N CONVERT TO OUTPUT FORM
XPRNT OUT,52
LA R6,1 SET R6 TO 1 FOR SUBTACTION
SR R5,R6 DECREASE RECURSIVE COUNTER BY ONE
BZ OUTPUT IF RECURSIVE COUNTER = 0 THEN OUTPUT
*
* . . . . . . . . . . . . . . . . . . . . .
* AT THIS POINT WE HAVE NOT DONE ENOUGH RECURSIVE CALLS SO CALL
* RECRSIVE AGAIN WITH THE NEW PARM IN NUMBER WHICH WAS OBTAINED
* FROM THE OPERATING SYSTEM
* . . . . . . . . . . . . . . . . . . . . .
*
ST R5,NUMBER SET VALUE FOR NEXT CALL TO RECRSIVE
LA R9,72(R2) PUT ADD OF NUMBER IN R9
ST R9,76(R2) PUT ADD OF PARM IN PARM LIST
LA R1,76(R2) PUT ADDRESS OF PARM LIST IN R1
CALL RECRSIVE
B DONE GO TO RETURN FROM THIS CALL
*
* . . . . . . . . . . . . . . . . . . . . .
* AT THIS POINT WE HAVE DONE 5 RECURSIVE CALLS TO RE RSIVE
* SO OUTPUT THE SAVEAREAS AND AND RETURN
* . . . . . . . . . . . . . . . . . . . . .
*
OUTPUT LA R6,5 SET R6 TO 5 FOR COUNTER ON LOOP FOR
* OUTPUTTING THE SAVEAREAS
LR R11,R13 GET R13 TO R11 FOR LOOP
LA R10,80(R11) GET THE END OF THE AREA OBTAINED
XPRNT HEADING,47
LOOP XSNAP STORAGE=(*0(11),*0(10)),T=NOREGS
L R11,4(R11) GET ADD OF HSA
LA R10,80(R11) GET ADD OF END OF AREA
BCT R6,LOOP RETURN FOR NEXT SAVEAREA
PRINT GEN
*
* . . . . . . . . . . . . . . . . . . . . .
* AT THIS POINT WE HAVE FINISHED WITH THIS VERSION OF THE CSECT
* SO FREE THE STORAGE OBTAINED WITH A FREEMAIN AND RETURN TO
* CALLING PROGRAM
* . . . . . . . . . . . . . . . . . . . . .
*
FREEMAIN E,LV=80,A=ADDRESS,SP=1
DONE ST R2,ADDRESS SET ADD FOR FREEMAIN
PRINT NOGEN
LA R5,1(R5) INCREASE R5 FOR OUTPUT
XDECO R5,NN PLACE IN OUTPUT STREAM
XPRNT IN,52
L R13,4(R13) GET ADD OF HIGHER SAVE AREA
LM R14,R12,12(R13) RESTORE THE REGISTERS
BR R14 RETURN TO CALLING PROGRAM
HEADING DC C'0THE SAVEAREAS AND NUMBERS ARE OUTPUTTED BELOW '
ADDRESS DC F'0'
OUT DC CL40' RECURSIVE CALLED WITH VALUE'
N DC 3F'0'
IN DC C' RETURNING FORM RECRSIVE WITH NUMBER ='
NN DC 3F'0'
LTORG
END
/*
/*LOG
//DATA.SYSUDUMP DD SYSOUT=A
//DATA.XSNAPOUT DD UNIT=AFF=FT06F001
//*
//* THIS JOB WILL RUN WITH TIME = 35 SECONDS
//* RECORDS = 1000
//*
//*
// EXEC ASGCG
//SOURCE.INPUT DD *
*
* . . . . . . .
* THE PURPOSE OF THIS PROGRAM IS TO DEMONSTRATE THE FOLLOWING
* MACROS:
* SPIE
* STAE
* . . . . . . .
*
*
* . . . . . . .
* THE BASIC FLOW OF THIS PROGRAM IS AS FOLLOWS:
* 1 FIRST ISSUE A SPIE MACRO FOR ABEND CODES 1 - 5.
* THEN CAUSE AN ABEND S0C1 AND INTERCEPT IT WITH A SPIE.
* 2 RETURN CONTROL TO THE NEXT INSTRUCTION FROM THE
* SPIE EXIT ROUTINE.
* 3 CANCEL THE SPIE MACRO.
* 4 ISSUE A STAE MACRO. THEN CAUSE A SOC6 AND
* INTERCEPT THE ABEND WITH THE STAE EXIT ROUTINE.
* THEN ALLOW THE ABEND TO CONTINUE.
* . . . . . . .
*
* PROGRAM INTERRUPTION CONTROL AREA
*
* DISPLACEMENT
*
* BYTES
* 0 1 2 3 4 5 6
* *-----------------------------------------------------------*
* × × × × × × ×
* × 0000 ×PROGRAM × EXIT ROUTINE ×INTERRUPTION ×
* × × MASK × ADDRESS × TYPE ×
* × × × × × × ×
* *------------------------------------------------------------
EJECT
* PROGRAM INTERUPTION ELEMENT
*
* DISPLACEMENT
* BYTES 0 1 2 3
* *---------------------------------------*
* 0 ×RESERVED × PICA ADDRESS ×
* *---------------------------------------*
* 4 ×OLD PROGRAM ×INTERUPTION CODES ×
* ×STATUS WORD *-------------------×
* × ×
* *---------------------------------------*
* 12 × REGISTER 14 ×
* *---------------------------------------*
* 16 × REGISTER 15 ×
* *---------------------------------------*
* 20 × REGISTER 0 ×
* *---------------------------------------*
* 24 × REGISTER 1 ×
* *---------------------------------------*
* 28 × REGISTER 2 ×
* *---------------------------------------*
EJECT
PRINT NOGEN
EQUREGS
MAIN CSECT
XSAVE SA=NO
*
* . . . . . . .
* THE SPIE MACRO BELOW INDICATES THAT IF AN ABEND SOC1 THRU
* ABEND SOC5 OCCURS THAT FIX IS TO BE GIVEN CONTROL.
* . . . . . . .
*
PRINT GEN
SPIE FIX,((1,5))
PRINT NOGEN
ST R1,HOLD SAVE ADDRESS OF PREVIOUS PICA
DC F'0'
XPRNT MHEAD,80
L R5,HOLD
*
* . . . . . . .
* THE SPIE MECRO IS THE EXECUTE FORM IT CANCELS THE PREVIOUS
* SPIE MACRO.
* . . . . . . .
*
PRINT GEN
SPIE MF=(E,(5))
*
* . . . . . . .
* THE STAE MACRO BELOW INDICATES THA THE FIXSTAE ROUTINE IS
* TO BE GIVEN CONTROL ON AN ABEND AND TO ALLOW THE I/O TO
* CONTINUE EVEN THOUGH THE ABEND HAS CCCURED. ALSO CREATE THIS
* STEA AREA NOT OVERLAY ANY PREVIOUS
* . . . . . . .
*
STAE FIXSTAE,CT,PURGE=NONE
LA R3,HALFWORD GET ADDRESS OFHALFWORD
L R2,0(R3) IMPROPER ALIGNEMNT CAUSE ABEND
PRINT NOGEN
XPRNT MHEAD1,80
PRINT GEN
STAE 0
PRINT NOGEN
XRETURN SA=NO
DROP 12
USING *,15
FIX STM R0,R15,SAVE
L R2,8(R1) GET IL CC AND NEXT INSTRUCTION
* ADDRESS
LA R11,255 SET R11 TO HEX 000000FF
LR R10,R11 PUT HEX FF IN R10
SLL R11,8 MOVE OVER 1 BYTE
OR R10,R11 MAKE R10 HEX 0000FFFF
SLL R11,8 MOVE OBER 1 MORE BYTE
OR R10,R11 MAKE R10 HEX 00FFFFFF
NR R10,R2 GET INSTRUCTION ADDRESS
SR R9,R9 ZERO R9 FOR IC
IC R9,0(R10) GET OPCODE FOR NEXT INSTRUCTION
LA R8,64 SET TO HEX 40
CR R9,R8 CHECK FOR RR INSTRUCTION
BM RR GO TO SET NEW PSW
LA R8,192 SET R8 TO CHECK FOR RX OR RS
BM RX GO TO SET PSW
LA R7,6 GET INSTRUCTION LENGTH
B ILCSET GO TO SET IL
RR LA R7,2 SET ILC FOR RR
B ILCSET GO TO SET IL
RX LA R7,4 STE IL OF 4
ILCSET AR R10,R7 GET NEW ADDRESS FOR PSW
SLL R7,29 SET R7 TO IL CODE
LA R8,63 SET R8 TO HEX 0000003F
SLL R8,24 SET R8 TO 3F00000000
NR R8,R2 GET CC AND PROGRAM MASK
OR R10,R7 GET IL CODE IN NEW PSW
OR R10,R8 NOW WE HAVE NEW PSW
ST R10,8(R1) SET NEW PSW
PRINT NOGEN
XSNAP T=NOREGS,STORAGE=(*0(1),*36(1)), X
LABEL='PROGRAM INTERUPT ELEMENT IN SPIE'
L R2,0(1) GET PICA ADDRESS
XSNAP T=NOREGS,STORAGE=(*0(2),*6(2)), X
LABEL='PICA FOR SPIE MACRO'
LM R0,R15,SAVE GET ADDRESSES TO RETURN
BR R14 RETURN TO CONTROL
DROP 15
FIXSTAE XSAVE SA=NO
XSNAP STORAGE=(*0(1),*104(1)),T=NOREGS, X
LABEL='THIS IS THE 104 BYTE WORKAREA PROVIDED BY STAE'
LA R15,0
MMDONE L R14,12(13) RESOTRE REGISTER 14 FROM SAVEAREA
LM R0,R12,20(R13) RESTORE REG 0 THRU 12
BR R14 RETURN TO PPERATING SYSTEM
MHEAD1 DC CL80'0STAE MACRO HAS ISSUED AND RETURNED CONTROL'
SAVE DC 18F'0'
HOLD DC F'0'
DS 0F
DC H'0'
HALFWORD DC C'NONO'
MHEAD DC CL80'0THE INTERUPT HAS OCCURED AND FIX CALLED ON SPIE'
END
/*
/*LOG
//DATA.SYSUDUMP DD SYSOUT=A
//DATA.XSNAPOUT DD SYSOUT=A
//*
//* THIS JOB WILL RUN WITH TIME= 35 SECONDS
//* RECORDS = 600
//*
// EXEC ASGCG
//SOURCE.INPUT DD *
/*LOG
*
* . . . . . . .
* THE PUT
* THE PURPOSE OF THIS PROGRAM IS TO DEMONSTRATE THE FOLLOWING
* MACROS:
* TIME
* TTIMER
* STIMER
* . . . . . . .
*
*
* . . . . . . .
* THE BASIC FLOW OF THIS PROGRAM IS AS FOLLOWS:
* 1 GET THE CURRENT TIME AND DATA USING THE TIME MACRO
* THEN CONVERT IT TO OUTPUT FORM AND PRINT IT OUT.
* 2 THEN DO 10,000 CALLS TO A RANDOM NUMBER GENERATOR
* WHICH USES THE TIME MACRO IN BINARY TO SET THE BASE.
* THEN OUTPUT THE RESULTS OF THE CALLS TO THE RAMDOM NUMBER
* GENERATOR
* 3 ISSUE A STIMER MACRO FOR 5 SECONDS. THEN DO
* 1000 BCT TO *. TO DETERMINE THE NUMBER OF MICRO SECONDS THAT
* A BCT INSTRUCTION TAKES. THEN OUTPUT THE RESULT.
* 4 THEN USE AN STIMER WITH AN EXIT ROUTINE TO CHECK
* A LOOP. THAT IS ISSUE AN STIMER FOR 1.04 SECONDS WITH AN
* EXIT ADDRESS. WHEN THE EXIT ADDRESS GETS CONTROL IT CAUSES
* THE LOOP TO COME TO A HALT AND OUTPUTS THAT THE LOOP TAKES
* LONGER THAN 1.04 SECONDS. THEN CANCEL THE STIMER WITH A
* TTIMER MACR.
* . . . . . . .
*
EJECT
PRINT NOGEN
EQUREGS
MAIN CSECT
XSAVE
*
* . . . . . . .
* WHEN TIME IN DEC IS ISSUED IT RETURNS THE DATE IN REG 1
* IN THIS FORM 00YYDDDF WHERE YY IS THE LAST TWO DIGITS OF THE
* YEAR AND DDD IS THE JULIAN DATA. THEN LEFT JUSTIFY THIS
* DATE AND UNPACK THE RESULT AND PLACE IN OUTPUT FOR PRINTING.
* . . . . . . .
*
PRINT GEN
TIME DEC
PRINT NOGEN
SLL R1,8 LEFT JUSTIFY THE DATA
ST R1,WORD PUT DAY AND YEAR IN CORE FOR UNPK
UNPK OUT(5),WORD(3) GET OUTPUT FORM
MVC OUTPUT1(3),OUT+2 PUT YEAR IN OUTPUT
MVC OUTPUT(2),OUT PUT JULIAN DATE IN OUTPTU
*
* . . . . . . .
* WHEN TIME IS ISSUED WITH DEC IT RETURNS IN R0 THE TIME IN
* THE FOLLOWING FORM HHMMSSTH WHERE HH IS THE HOUR ON A 24
* HOUR CLOCK, WHERE MM IS THE MINUTES, HHERE SS IS THE SECONDS
* WHERE THE T IS THE TENTHS OF SECONDS, AND WHERE THE SINGLE H
* IS THE HUNDREDS OF SECONDS.
* DISCARD THE T AND SINGLE H FIELD AND THEN PLACE THE HH MM SS
* IN CORE AND UNPACK IT AND THEN OUTPUT THE TIME AND DATE.
* . . . . . . .
*
LA R11,240 SET R10 TO JEX 000000F0
OR R11,R0 PLACE F IN BITS 24 TO 27 R11
SRL R11,4 RIGHT JUSTIFY THE TIME
ST R11,WORD PLACE TIME IN CORE FOR UNPK
UNPK OUT(6),WORD(4) CHANGE TO OUTPUT FORM
MVC OUTPUT2(2),OUT PLACE HR IN OUTPUT
MVC OUTPUT3(2),OUT+2 PLACE MINUTES IN OUTPUT
MVC OUTPUT4(2),OUT+4 PLACE SEC IN OUTPUT
XPRNT OUTPUT5,34
LA R11,4095 SET R10 TO 4095
LA R11,4095(R11) SET R11 TO 8190
LA R11,1810(R11) SET R11 TO 10,000
LA R9,DONE
*
* . . . . . . .
* THE TIME MACRO IN THE RANDOM NUMBER GENERATOR RETURNS THE
* TIME IN REG 0 IN BINARY FORM. THEN IT IS STORED IN SAVEODD
* TO BE USED FOR THE BASIS FOR RANDOM NUMBER GENERATOR.
* THEN OUTPUT THE RESULTS OF 10,000 THROWS OF A TEN SIDED DIE.
* . . . . . . .
*
LOOP CALL IAND,(TEN,MONE)
LR R10,R0 SET R10 TO R0
BCTR R10,R0 SUBTRACT 1 FROM R10
SLL R10,2 MULTIPLY R10 BY FOUR
AR R10,R9 GET ADD OF NUMBER TO INCREASE
L R8,0(R10) GET LAST VALUE
LA R8,1(R8) INCREMENT COUNT BY ONE
ST R8,0(R10) PLACE IN COUNTER
BCT R11,LOOP RETURN FOR NEXT CALL
XPRNT OUTT
XPRNT OUTTT
LA R10,10 SET R10 TO NUMBR OF SIDES ON DIE
LA R11,OUTTTT+1
LOOP1 L R8,0(R9) GET NUMBER OF TIMES A NUMBER OCCURED
XDECO R8,0(R11) PLACE VALUE OF COUNTER IN OUTPUT
LA R9,4(R9) GET ADDRESS OF NEXT COUNTER
LA R11,12(R11) INCREASE OUTPUT POINTER
BCT R10,LOOP1 RETURN FOR NEXT COUNTER
XPRNT OUTTTT
*
* . . . . . . .
* WHEN AN STIMER MACRO IS ISSUED WITH TASK IT ONLY DECREMENTS
* THE TIME INTERVAL WHEN THE TASK IS ACTIVE. THE TUINTVL
* IS A FULLWORD ON A FULLWORD BOUNDRY THAT GIVES THE TIME IN
* TIMER UNITS. ONE TIMER UNIT = APPROXIMATELY 26 MICRO SECONDS
* THIS STIMER SETS THE INTERVAL TO APPROXIMATELY 5 SECONDS.
* THEN 1000 BCT ON R10 TO * ARE DONE.
* . . . . . . .
*
LA R10,1000 SET R10 TO 1000 FOR BCT
STIMER TASK,TUINTVL=TUNUM
BCT R10,*
*
* . . . . . . .
* WHEN A TTIMER MACRO IS ISSUED IT RETURNS THE TIMER REMAINING
* IN THE TIMER INTERVAL ISSUED BY THE STIMER MACRO. THEN
* COMPUTE THE TIME FOR 1000 BCT INSTRUCTIONS AND OUTPUT THE
* RESULTS. NEXT CANCEL THE TIMER INTERVAL USSING THE TTIMER
* WITH CANCEL SPECIFIED.
* . . . . . . .
*
TTIMER
L R9,TUNUM GET NUMBER OF TIMER UNITS AT START
SR R9,R0 GET NUMBER OF REMAINING TIMER UNITS
SR R8,R8 ZERO REG 8
LA R6,26 SET R6 TO NUMBER OF MICRO SECONDS
* PER TIMER UNIT
MR R8,R6 GET THE NUMBER OF MICRO SECONDS
SR R8,R8 ZERO R8 FOR DIVIDE
LA R6,1000 SET R6 TO 1000 FOR DIVIDE
DR R8,R6 GET AVERAGE TIME PER CALL IN MICRO S
* SECONDS
XDECO R9,OUZZ PUT R9IN OUTPUT
XPRNT OUZ,84
TTIMER CANCEL
*
* . . . . . . .
* NEXT ISSUE AN STIMER WITH AN EXIT ROUTINE. WHEN AN EXIT
* ROUTINE IS GIVEN AT THE END OF THE INTERNAL THE ROUTINE IS
* GIVEN CONTROL. THEN SET CHECK TO 0 TO STOP THE LOOP.
* THE TASK INDICATES THE TIME TO BE DECREMENTED ONLY WHEN THE
* TASK IS ACTIVE. AGAIN THE INTERVALIS SPECIFIED IN TIMER
* UNITS. IT IS 1.04 SECONDS APPROXIMATELY.
* AFTER THE LOOP IS STOPED THEN CANCEL THE TIME INTERVAL
* WITH A TTIMER CANCEL.
* . . . . . . .
*
LA R9,0 SET R9 TO 0 FOR COMPARE
LA R10,0 SET R10 TO 0
BCTR R10,0 SUBTRACT ONE FROM R0
STIMER TASK,LPINTVLP,TUINTVL=LPINTVL
LP C R9,CHECK CHECK TO SEE IF INTERVAL IS OVER
BE MDONE IF TIME INTERVAL OVER GO TO DONE
BCT R10,LP RETURN DO LP OVER
MDONE TTIMER CANCEL
XRETURN SA=*
DROP 12
*
* . . . . . . .
* THIS IS THE STIMER EXIT ROUTINE IT ZEROS CHECK AND PRINTS
* A MESSAGE AND RETURNS CONTROL TO A PROGRAM THAT THEN RETURNS
* CONTROL TO THE PLACE WHERE IT LEFT OFF WHEN THE INTERVAL
* EXPIRED.
* NOTE THE USE OF SAVE AREAS.
* . . . . . . .
*
LPINTVLP XSAVE SA=NO
XC CHECK(4),CHECK
XPRNT LPINTVLM,80
LPINTVL1 XRETURN SA=NO
LPINTVLM DC CL80'0LP TAKES LONGER THAN 1.04 SECONDS SO STOP LOOP'
CHECK DC F'1'
LPINTVL DC F'4000'
OUZ DC C'0THE AVERAGE TIME IN MICRO SECONDS FOR A BCT INSTRUC'
DC C'TION IS'
OUZZ DC CL12' ',C'MICRO SECONDS'
TUNUM DC F'20000'
MONE DC F'1'
DONE DC F'0'
TWO DC F'0'
THREE DC F'0'
FOUR DC F'0'
FIVE DC F'0'
SIX DC F'0'
SEVEN DC F'0'
EIGHT DC F'0'
NINE DC F'0'
TENT DC F'0'
TEN DC F'10'
OUT DC D'0'
WORD DC 2F'0'
OUTPUT5 DC C'0TIME: '
OUTPUT2 DC C' :'
OUTPUT3 DC C' :'
OUTPUT4 DC C' '
DC C'DAY'
OUTPUT1 DC C' OF 19'
OUTPUT DC C' '
OUTT DC X'00'
DC CL31' '
DC C'THE NUMBER OF TIMES THAT EACH NUMBER OCCURED IS GIVEN'
DC C' BELOW:',CL62' '
OUTTT DC C'0',CL11' ',C'1',CL11' ',C'2',CL11' ',C'3',CL11' '
DC C'4',CL11' ',C'5',CL11' ',C'6',CL11' ',C'7',CL11' '
DC C'8',CL11' ',C'9',CL11' ',C'10',CL12' '
OUTTTT DC CL133' '
LTORG
EJECT
IAND CSECT
XSAVESA=NO,TR=NO
*
*--THIS IS A RANDOM NO GENERATOR
*--IT HAS TWO ARGUMENTS THE FIRST THE MAX VLLUE TO BE RETURNED
*--THE SECOND THE MIN VALUE TO BE RETURNED
*--TI FIRST DETERMINES THE NO OF BITS IN THE MAX VALUE
*--THEN IT GENERAES THAT MANY RANDOM BITS
*--THESE BITS ARE PLACED IN ONE OF THE REGISTERS
*--THEN IT DETERMINES IF THE NO GENERATED IS WITHIN THE BOUNDS OF THE
*--THE TWO AGUMENTS IT WAS GIVEN IF IT IS NOT THEN IT DOES THE PROCESS
*--ALL OVER AGIAN
*
*
*--FIRST FIND THE MAX AND MIN VLUES TO BE CONSIDERED
L R2,0(R1) LOAD THE ADDRESS OF THE MAXIMUM OF
* THE RANDOM NO. GENERATOR
L R8,4(R1) LOAD THE ADDRESS OF 2ND ARG
L R8,0(R8) LOAD THE MIN VALUE
L R2,0(R2) LOAD THE MAX OF RANDOM NO GENERATOR
*
*--FIND THE NO OF RANDOM BITS TO BE SET
OVERFL LA R4,0 PUT A 0 IN R4
LR R3,R2 MAKE A COPY OF MAX
OVER SRL R3,1 FIND THE NO OF BITS TO BE SET
LA R4,1(R4) R4 IS THE NO OF BITS TO BE SET
LTR R3,R3 DETERMINE IF R3 IS 0
BNE OVER IF NOT 0 THEN SHIFT AGAIN
*
*--PLACE A 1 IN THE ZERO BIT OF R5
LA R5,2048 PUT A 1 IN THE O BIT OF R5
SLL R5,20 MOVE THE BIT TO BIT 0
SR R6,R6 ZERO REG 6
*
*--THE NEXT SECTION GENERATES A RANDOM BIT
AGAIN L R0,SAVEODD GET THE ODD NO.
LTR R0,R0 DETERMINE IF SAVEODD=0
BNE BEGIN IF SAVEODD NO 0 THEN BEGIN COMPUTING
PRINT GEN
TIME BIN
PRINT NOGEN
LOADODD ALR R0,R0 MAKE R0 JUST BELOW OVERFLOW
BNO LOADODD IF NOT OVERFLOW MAKE R0 OVERFLOW
BCTR R0,0 SUBTRACT 1 FROM R0
BEGIN LR R1,R0 LOAD R1 FROM R0
ALR R0,R0 CREATE A RANDOM BIT
BO ONETWO BRANCH IF A BIT IS CREATED
ALR R0,R1 CREATE A RONDOM BIT
BO ONE IF BIT IS CREATED BRANCH
LA R1,0 PUT A 0 IN R1 FOR THE RNADOM BIT WHICH
* WAS NOT CREATED
B FINISH GO TO THE END OF THE SECTION
ONETWO ALR R0,R1 CREATE A ROANDOM BIT
BO BEGIN RETURN AND START AGAIN
ONE LR R1,R5 LOAD THE BIT FROM THE RANDOM CHOICE
FINISH ST R0,SAVEODD SAVE THE ODD NO.
*--SHIFT THE BIT INTO R6 WHICH WILL CONTAIN THE RANDOM NO.
LR R7,R1 MOVE THE RANDOM BIT TO R7
SLDL R6,1 MOVE THE RANDOM BIT INTO R6
*
*--IF THIS IS NOT THE LAST BIT GENERATE ANOTHER
BCT R4,AGAIN FIND THE NEXT RANDOM BIT
*
*--DETERMINE IF THE NO EXCEEDES THE MAX VALUE
CR R6,R2 DETEMMINE IF THE NO GENERATED EXCEEDES
* THE MAX VALUE
BP OVERFL IF MAX EXCEEDED RETURN AND DO AGIAN
*
*--DETERMINE IF THE NO EXCEEDES THE MIN VALUE
CR R6,R8 DETERMINE IF THE RANDOM NO IS L5SS TH1N
* THE MIN VALUE
BM OVERFL IF OUT OF RANGE DO OVER
LR R0,R6 PLACE RESULT IN R0 FOR RETURN
XRETURN SA=NO,RGS=(14-15,1-12),TR=NO
L DS 0D
SAVEODD DC F'0'
END
/*
//DATA.SYSUDUMP DD SYSOUT=A
//*
//* THIS JOB WILL RUN WITH TIME= 25 SECONDS
//* RECORDS = 600
//*
// EXEC ASGCG
//SOURCE.INPUT DD *
/*LOG
*
* . . . . . . .
* THE PURPOSE OF THIS PROGRAM IS TO DEMONSTRATE THE FOLLOWING
* MACROS:
* TIME
* WTL
* WTO
* WTOR
* WTO ROUTCDE = 11
* . . . . . . .
*
PRINT NOGEN
MAIN CSECT
XSAVE
PRINT GEN
*
* . . . . . . .
* WITH THE WTL MACRO THE MESSAGE APPEARS AT THE BEGINNING OF
* THE PROGRAM IN THE LOG
* WITH THE WTO ROUTCDE = 11 WE ARE WRITING TO THE PROGRAMMER
* BUT ON THIS SYSTEM THIS IS ALSO THE SYSTEM LOG
* . . . . . . .
*
WTL 'THIS IS AN EXAMPLE OF WTL,WTO,WTOR, AND WTO RTCDE=11'
WTO 'THIS IS AN EXAMPLE OF WTO, ROUTCDE =11',ROUTCDE=11
*
* . . . . . . .
* IF ACTUALLY CODE THESE WOULD BE EXAMPLES OF WTO AND WTOR
*
* WTO
* THE FIRST PARAMETER IS THE MESSAGE TO BE WRITTEN TO THE
* OPERATOR
* THE ROUTCDE GIVES THE CONSOLE NUMBER TO BE WRITTEN TO.
* THE MEANING OF THE DESCRIPTOR IS GIVEN IN APPENDIX THREE TO
* SUPERVISOR AND DATA MANAGEMENT MACROS
*
* WTO 'IF JOB DOES NOT TERMINATE IN 10 SECONDS TERMINATE',
* ROUTCDE=(1,2),DESC=1
*
* WTOR
* THE FIRST PARAMETER IS THE MESSAGE TO BE WRITTEN TO THE
* OPERATOR WITH THE INDICATED REPLY INDICATED
* THE SECOND PARAMETER IS THE REPLYADDRESS THAT IS WHERE IN
* THE PROBLEM PROGRAM THE ANSWER GOES
* THE THIRD PARAMETER IS THE MAXIMUM LENGTH OF THE REPLY
* THE FOURTH PARAMETER IS THE NAME OF AN EVENT CONTROL BLOCK TO
* BE POSTED BY THE CONTROL PROGRAM IN THE WTOR MACRO
* THE ROUTCDE IS THE SAME AS FOR THE WTO MACRO
* THIS DESC INPLIES THAT SOME IMMEDIETE ACTION IS REQUIRED ON
* THE PART OF THE OPERATOR.
*
* WTOR 'IF STANDARD OPERATING CONDITIONS? REPLY YES OR NO',
* REPLYADD,3,MECB,ROUTCDE=2,DESC=2
*
* . . . . . . .
*
PRINT NOGEN
XRETURN SA=*
MEXB DC F'0'
REPLYAD DC C' '
END
/*

You might also like