KEMBAR78
DMA Controller | PDF | Input/Output | Computer Engineering
0% found this document useful (0 votes)
25 views6 pages

DMA Controller

The 8257 DMA Controller enables Direct Memory Access, allowing devices to transfer data directly to/from memory without CPU intervention. It features four channels, each capable of independent programming and data transfer operations, and operates in Master and Slave modes. The controller manages data transfer through a sequence of requests and acknowledgments between the CPU and peripheral devices.

Uploaded by

Prabesh Thapa
Copyright
© © All Rights Reserved
We take content rights seriously. If you suspect this is your content, claim it here.
Available Formats
Download as PDF, TXT or read online on Scribd
0% found this document useful (0 votes)
25 views6 pages

DMA Controller

The 8257 DMA Controller enables Direct Memory Access, allowing devices to transfer data directly to/from memory without CPU intervention. It features four channels, each capable of independent programming and data transfer operations, and operates in Master and Slave modes. The controller manages data transfer through a sequence of requests and acknowledgments between the CPU and peripheral devices.

Uploaded by

Prabesh Thapa
Copyright
© © All Rights Reserved
We take content rights seriously. If you suspect this is your content, claim it here.
Available Formats
Download as PDF, TXT or read online on Scribd
You are on page 1/ 6

3/22/22, 6:57 AM Microprocessor - 8257 DMA Controller

Microprocessor - 8257 DMA Controller

DMA stands for Direct Memory Access. It is designed by Intel to transfer data at the fastest rate. It
allows the device to transfer the data directly to/from memory without any interference of the CPU.
Using a DMA controller, the device requests the CPU to hold its data, address and control bus, so
the device is free to transfer data directly to/from the memory. The DMA data transfer is initiated
only after receiving HLDA signal from the CPU.

How DMA Operations are Performed?

Following is the sequence of operations performed by a DMA −


Initially, when any device has to send data between the device and the memory, the device
has to send DMA request (DRQ) to DMA controller.

The DMA controller sends Hold request (HRQ) to the CPU and waits for the CPU to assert
the HLDA.

Then the microprocessor tri-states all the data bus, address bus, and control bus. The
CPU leaves the control over bus and acknowledges the HOLD request through HLDA
signal.
Now the CPU is in HOLD state and the DMA controller has to manage the operations over
buses between the CPU, memory, and I/O devices.

Features of 8257

Here is a list of some of the prominent features of 8257 −


It has four channels which can be used over four I/O devices.

Each channel has 16-bit address and 14-bit counter.


Each channel can transfer data up to 64kb.

Each channel can be programmed independently.


Each channel can perform read transfer, write transfer and verify transfer operations.
It generates MARK signal to the peripheral device that 128 bytes have been transferred.

It requires a single phase clock.


Its frequency ranges from 250Hz to 3MHz.

It operates in 2 modes, i.e., Master mode and Slave mode.


https://www.tutorialspoint.com/microprocessor/microprocessor_8257_dma_controller.htm 1/6
3/22/22, 6:57 AM Microprocessor - 8257 DMA Controller

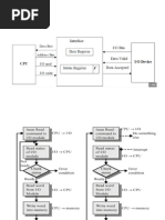
8257 Architecture
The following image shows the architecture of 8257 −

8257 Pin Description

The following image shows the pin diagram of a 8257 DMA controller −

https://www.tutorialspoint.com/microprocessor/microprocessor_8257_dma_controller.htm 2/6
3/22/22, 6:57 AM Microprocessor - 8257 DMA Controller

DRQ0−DRQ3

These are the four individual channel DMA request inputs, which are used by the peripheral
devices for using DMA services. When the fixed priority mode is selected, then DRQ0 has the
highest priority and DRQ3 has the lowest priority among them.

DACKo − DACK3

These are the active-low DMA acknowledge lines, which updates the requesting peripheral about
the status of their request by the CPU. These lines can also act as strobe lines for the requesting
devices.

Do − D7

These are bidirectional, data lines which are used to interface the system bus with the internal data
bus of DMA controller. In the Slave mode, it carries command words to 8257 and status word from
8257. In the master mode, these lines are used to send higher byte of the generated address to the
latch. This address is further latched using ADSTB signal.

IOR

https://www.tutorialspoint.com/microprocessor/microprocessor_8257_dma_controller.htm 3/6
3/22/22, 6:57 AM Microprocessor - 8257 DMA Controller

It is an active-low bidirectional tri-state input line, which is used by the CPU to read internal
registers of 8257 in the Slave mode. In the master mode, it is used to read data from the peripheral
devices during a memory write cycle.

IOW

It is an active low bi-direction tri-state line, which is used to load the contents of the data bus to the
8-bit mode register or upper/lower byte of a 16-bit DMA address register or terminal count register.
In the master mode, it is used to load the data to the peripheral devices during DMA memory read
cycle.

CLK

It is a clock frequency signal which is required for the internal operation of 8257.

RESET

This signal is used to RESET the DMA controller by disabling all the DMA channels.

Ao - A3

These are the four least significant address lines. In the slave mode, they act as an input, which
selects one of the registers to be read or written. In the master mode, they are the four least
significant memory address output lines generated by 8257.

CS

It is an active-low chip select line. In the Slave mode, it enables the read/write operations to/from
8257. In the master mode, it disables the read/write operations to/from 8257.

A4 - A7

These are the higher nibble of the lower byte address generated by DMA in the master mode.

READY

It is an active-high asynchronous input signal, which makes DMA ready by inserting wait states.

HRQ

This signal is used to receive the hold request signal from the output device. In the slave mode, it is
connected with a DRQ input line 8257. In Master mode, it is connected with HOLD input of the
CPU.

HLDA

https://www.tutorialspoint.com/microprocessor/microprocessor_8257_dma_controller.htm 4/6
3/22/22, 6:57 AM Microprocessor - 8257 DMA Controller

It is the hold acknowledgement signal which indicates the DMA controller that the bus has been
granted to the requesting peripheral by the CPU when it is set to 1.

MEMR

It is the low memory read signal, which is used to read the data from the addressed memory
locations during DMA read cycles.

MEMW

It is the active-low three state signal which is used to write the data to the addressed memory
location during DMA write operation.

ADST

This signal is used to convert the higher byte of the memory address generated by the DMA
controller into the latches.

AEN

This signal is used to disable the address bus/data bus.

TC

It stands for ‘Terminal Count’, which indicates the present DMA cycle to the present peripheral
devices.

MARK

The mark will be activated after each 128 cycles or integral multiples of it from the beginning. It
indicates the current DMA cycle is the 128th cycle since the previous MARK output to the selected
peripheral device.

Vcc

It is the power signal which is required for the operation of the circuit.

Useful Video Courses


Video

https://www.tutorialspoint.com/microprocessor/microprocessor_8257_dma_controller.htm 5/6
3/22/22, 6:57 AM Microprocessor - 8257 DMA Controller

Microprocessor 8085

50 Lectures 6.5 hours


Gowthami Swarna

More Detail

https://www.tutorialspoint.com/microprocessor/microprocessor_8257_dma_controller.htm 6/6

You might also like