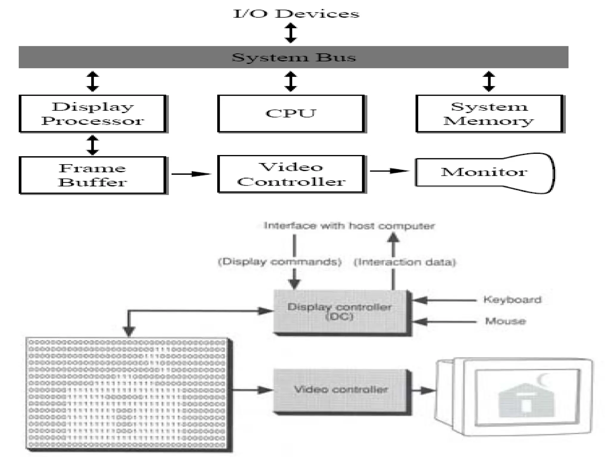
The document compares raster scan and random scan displays, explaining their operational principles, advantages, and disadvantages. Raster scan displays use a grid of pixels and a frame buffer for image storage, while random scan displays create images using geometric primitives, resulting in smoother lines but limited shading. It details refresh rates, image quality, common file formats, and the role of the video controller in managing the display operations.