KEMBAR78
8255 Programmable Peripheral Interface Block Diagram | PDF | Computer Engineering | Computer Data
0% found this document useful (0 votes)
118 views18 pages

8255 Programmable Peripheral Interface Block Diagram

This document contains information about several 8-bit microcontroller peripherals including the 8255 Programmable Peripheral Interface, 8253 Programmable Interval Timer/Counter, 8251 Universal Synchronous Asynchronous Receiver Transmitter, 8259 Programmable Interrupt Controller, and 8279 Keyboard Display Controller. It includes block diagrams, descriptions of control registers and configuration bits for programming the devices.

Uploaded by

muru54321
Copyright
© © All Rights Reserved
We take content rights seriously. If you suspect this is your content, claim it here.
Available Formats
Download as DOC, PDF, TXT or read online on Scribd
0% found this document useful (0 votes)
118 views18 pages

8255 Programmable Peripheral Interface Block Diagram

This document contains information about several 8-bit microcontroller peripherals including the 8255 Programmable Peripheral Interface, 8253 Programmable Interval Timer/Counter, 8251 Universal Synchronous Asynchronous Receiver Transmitter, 8259 Programmable Interrupt Controller, and 8279 Keyboard Display Controller. It includes block diagrams, descriptions of control registers and configuration bits for programming the devices.

Uploaded by

muru54321
Copyright
© © All Rights Reserved
We take content rights seriously. If you suspect this is your content, claim it here.
Available Formats
Download as DOC, PDF, TXT or read online on Scribd
You are on page 1/ 18

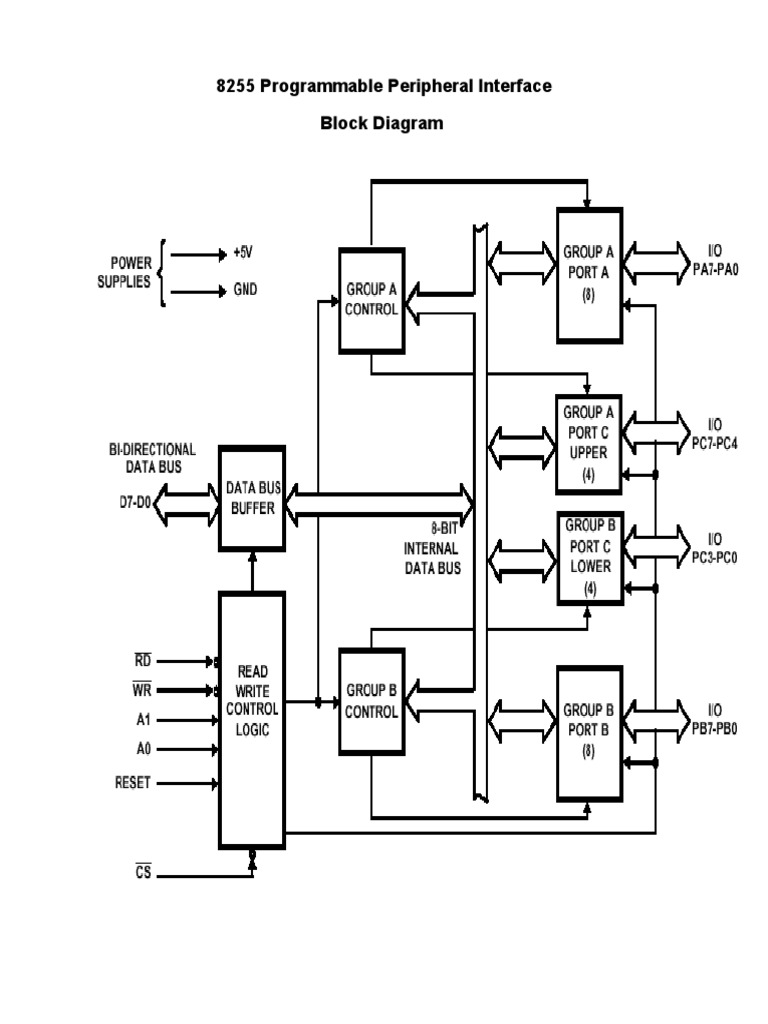
8255 Programmable Peripheral Interface

Block Diagram

8255 Programmable Peripheral Interface


Modes of 8255

8255 Programmable Peripheral Interface

Control Word

8255 Programmable Peripheral Interface


Bit definitions of the 8255 control register

8253 Programmable Interval Timer/Counter (PIT)


Block Diagram

8253 Programmable Interval Timer/Counter (PIT)


Control Word

CONTROL BYTE D7 - D0
D7

D6

D5

D4

D3

D2

D1

D0

SC1

SC0

RL1

RL0

M2

M1

M0

BCP

D5 D4
R / L Definition
RL1 RL0

D7 D6
Counter Select
SC1 SC0
0

counter 0

counter 1

counter 2

Counter value is latched. This means


that the selected counter has its
contents transferred into a temporary
latch, which can then be read by the CPU.

Read / load least-significant byte only.

Read / load most-significant byte only.

Read / load least-significant byte first,


then most-significant byte.

illegal value

D3 D2 D1
Mode value
M2 M1 M0
0

mode 0: interrupt on terminal count

mode 1: programmable one-shot

mode 2: rate generator

mode 3: square wave generator

mode 4: software triggered strobe

mode 5: hardware triggered strobe

D0 counts down in
0

binary

BCD

8251 UNIVERSAL SYNCHRONOUS ASYNCHRONOUS RECEIVER


TRANSMITTER (USART)

Block Diagram

8251 UNIVERSAL SYNCHRONOUS ASYNCHRONOUS RECEIVER


TRANSMITTER (USART)
Bit configuration of Mode Instruction (Asynchronous)

8251 UNIVERSAL SYNCHRONOUS ASYNCHRONOUS RECEIVER


TRANSMITTER (USART)
Bit configuration of Mode Instruction (Synchronous)

8251 UNIVERSAL SYNCHRONOUS ASYNCHRONOUS RECEIVER


TRANSMITTER (USART)

Bit configuration of Command

8251 UNIVERSAL SYNCHRONOUS ASYNCHRONOUS RECEIVER


TRANSMITTER (USART)

Bit configuration of Status Word

8259 - Programmable Interrupt Controller


Block Diagram

ICW1 (Initialisation Command Word One)


A0

D7

D6

D5

D4

D3

D2

D1

D0

A7

A6

A5

LTIM

ADI

SNGL

IC4

D0: IC4: 0=no ICW4, 1=ICW4 required


D1: SNGL: 1=Single PIC, 0=Cascaded PIC
D2: ADI: Address interval. Used only in 8085, not 8086. 1=ISR's are 4 bytes apart (0200,
0204, etc) 0=ISR's are 8 byte apart (0200, 0208, etc)
D3: LTIM: level triggered interrupt mode: 1=All IR lines level triggered. 0=edge triggered

D4-D7: A5-A7: 8085 only. ISR address lower byte segment. The lower byte is
A7 A6 A5 A4 A3 A2 A1 A0
of which A7, A6, A5 are provided by D7-D5 of ICW1 (if ADI=1), or A7, A6 are provided if
ADI=0. A4-A0 (or A5-A0) are set by 8259 itself:
ADI=1 (spacing 4 bytes)

ADI=0 (spacing 8 bytes)

IRQ A7 A6 A5 A4 A3 A2 A1 A0

IRQ A7 A6 A5 A4 A3 A2 A1 A0

IR0 A7 A6 A5 0

IR0 A7 A6 0

IR1 A7 A6 A5 0

IR1 A7 A6 0

IR2 A7 A6 A5 0

IR2 A7 A6 0

IR3 A7 A6 A5 0

IR3 A7 A6 0

IR4 A7 A6 A5 1

IR4 A7 A6 1

IR5 A7 A6 A5 1

IR5 A7 A6 1

IR6 A7 A6 A5 1

IR6 A7 A6 1

IR7 A7 A6 A5 1

IR7 A7 A6 1

ICW2 (Initialisation Command Word Two)


Higher byte of ISR address (8085), or 8 bit vector address (8086).
A0

D7

D6

D5

D4

D3

D2

D1

D0

A15

A14

A13

A12

A11

A10

A9

A8

ICW3 (Initialisation Command Word Three)


D7

D6

D5

D4

D3

D2

D1

D0

Master

S7

S6

S5

S4

S3

S2

S1

S0

Slave

ID3

ID2

ID1

A0
1

Master mode: 1 indicates slave is present on that interrupt, 0 indicates direct


interrupt
Slave mode: ID3-ID2-ID1 is the slave ID number. Slave 4 on IR4 has ICW3=04h
(0000 0100)

ICW4 (Initialisation Command Word Four)


A0

D7

D6

D5

D4

D3

D2

D1

D0

SFNM

BUF

M/S

AEOI

Mode

SFNM: 1=Special Fully Nested Mode, 0=FNM


M/S: 1=Master, 0=Slave

AEOI: 1=Auto End of Interrupt, 0=Normal

Mode: 0=8085, 1=8086

OCW1 (Operational Command Word One)


A0

D7

D6

D5

D4

D3

D2

D1

D0

M7

M6

M5

M4

M3

M2

M1

M0

IRn is masked by setting Mn to 1; mask cleared by setting Mn to 0 (n=0..7)

OCW2 (Operational Command Word Two)


A0

D7

D6

D5

D4

D3

D2

D1

D0

SL

EOI

L3

L2

L1

R SL EOI Action
0 0

Non specific EOI (L3L2L1=000)

0 1

Specific EOI command (Interrupt to clear


given by L3L2L1)

1 0

Rotate priorities on non-specific EOI

1 0

Rotate priorities in auto EOI mode set

0 0

Rotate priorities in auto EOI mode clear

1 1

Rotate priority on specific EOI command


(resets current ISR bit)

1 1

Set priority (does not reset current ISR bit)

0 1

No operation

EOI

Auto rotation of priorities


(L3L2L1=000)

Specific rotation of priorities (Lowest


priority ISR=L3L2L1)

OCW3 (Operational Command Word Three)


A0

D7

D6

D5

D4

D3

D2

D1

D0

D7

ESMM

SMM

MODE

RIR

RIS

ESMM SMM Effect


0

No effect

Reset special mask

Set special mask

8279 Key board display controller


Block Diagrams

You might also like