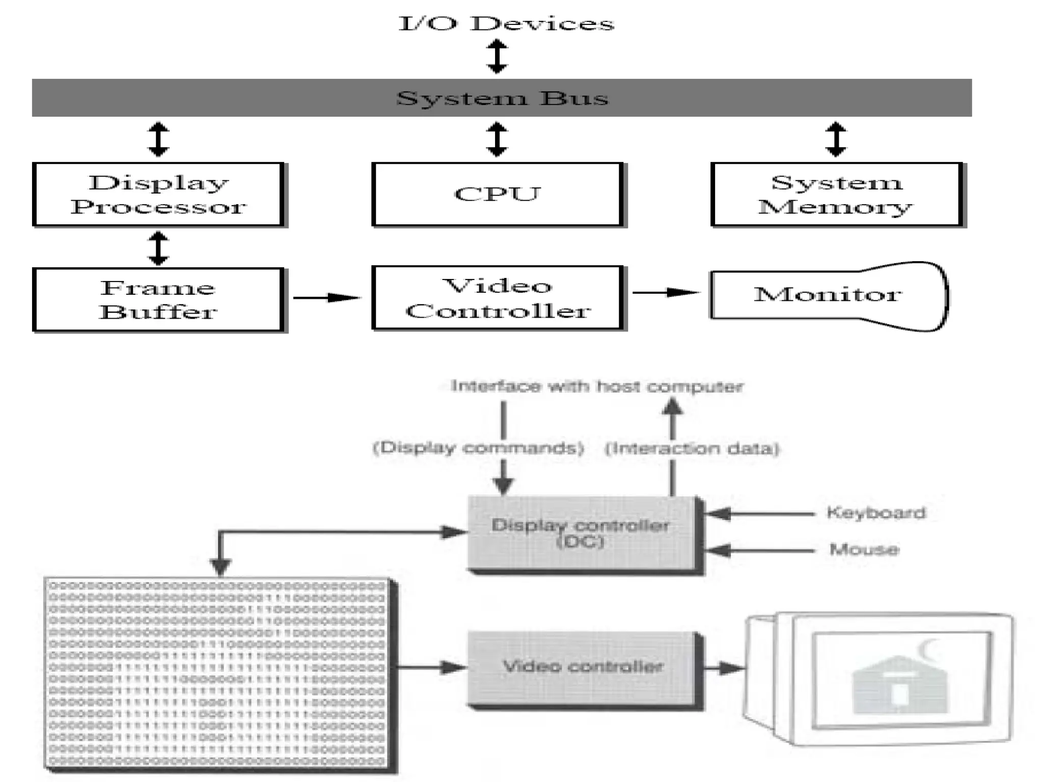
The document discusses two types of display systems: raster scan and random scan displays. Raster scan images are created using an array of pixels and require a refresh buffer to store pixel intensity values, while random scan displays, also known as vector displays, utilize geometrical primitives and draw images line by line. Each system has distinct advantages and disadvantages in terms of image quality, refresh rates, and applications.