KEMBAR78
Cryptography and Network security # Lecture 5 | PPTX
Lec-5: Cryptography & Network
Security
Mr. Islahuddin Jalal
MS (Cyber Security) – UKM Malaysia
Research Title – 3C-CSIRT Model for Afghanistan
BAKHTAR UNIVERSITY ‫باخترپوهنتون‬ ‫د‬
Bakhtar University 1
Asymmetric Cryptography
Bakhtar University 2
Problems in symmetric cryptography
• Key distribution
• Two communicants already share a key by the use of ( KDC)
• Neglected the essence of cryptography (Diffie and Martin Hellman)
• Verifying a message comes intact from the claimed sender
Bakhtar University 3
Public-Key Characteristics
1. Computationally infeasible to find decryption key
• Knowing only algorithm and encryption key
2. Computationally easy to en/decrypt messages
• When the relevant en/decrypt key is known either of the two related keys can
be used for encryption, with other used for decryption
Bakhtar University 4
In Symmetric Cryptography
• If Alice and Bob are physically apart and communicate, they have to
agree on a key Meet personally, or Use trusted couriers
• Alice needs one secret key for Bob, one for Carol, one for Dave and so
on. This means that Storage of so many secret keys is not feasible.
Bakhtar University 5
In Asymmetric Key Cryptography
• 2 people who never met can communicate securely. Alice can
securely communicate with all her friends by storing just a single
private key. 2 keys are used
• Public: known to everyone (for encryption or signature verification)
• Private: known to receiver only (for decryption or signature
generation)
Bakhtar University 6
Public-Key Cryptography
• Y = E(PUb, X )
• X = D(PRb, Y )
• Adversary can access PUb and Y, attempt to recover X or PRb;
Impossible to alter the message without access to A’s private key.
• Authenticate the source. Ensure data integrity. Authentication and
Confidentiality.
• Z = E(PUb, E(PRa, X))
• X = D(PUa, E(PRb, Z))
• Overhead: public key algorithm executed four times
Bakhtar University 7
Public-Key Applications
• Classify uses into 3 categories
• Encryption/Decryption (provide secrecy)
• Digital Signatures (provide authentication)
• Key Exchange (of session keys)
Bakhtar University 8
Example: Party A wants to send a message to party B
• When only confidentiality is needed
Bakhtar University 9
Example: Party A wants to send a message to party B
• When only authentication is needed
Bakhtar University 10
Example: Party A wants to send a message to party B
• When confidentiality and authentication are needed
Bakhtar University 11
Type of Public-key cryptography
•RSA
Bakhtar University 12
RSA
• by Rivest, Shamir & Adleman of MIT in 1977
• best known & widely used public-key scheme
• Block cipher scheme: plaintext and ciphertext are integer b/w 0 to n-1
for some n.
• uses large integers (eg. 1024 bits)
• security due to cost of factoring large numbers
12/1/2017 Bakhtar University 13
RSA Key Setup
• each user generates a public/private key pair by:
• selecting two large primes at random - p, q
• computing their system modulus N=p.q
• note ø(N)=(p-1)(q-1)
• selecting at random the encryption key e
• where 1<e<ø(N), gcd(e,ø(N))=1
• solve following equation to find decryption key d
• e.d=1 mod ø(N) and 0≤d≤N
• publish their public encryption key: KU={e,N}
• keep secret private decryption key: KR={d,p,q}
12/1/2017 Bakhtar University 14
RSA Use
• to encrypt a message M the sender:
• obtains public key of recipient KU={e,N}
• computes: C=Me mod N, where 0≤M<N
• to decrypt the ciphertext C the owner:
• uses their private key KR={d,p,q}
• computes: M=Cd mod N
• note that the message M must be smaller than the modulus N (block
if needed)
12/1/2017 Bakhtar University 15
RSA Example
1. Select primes: p=17 & q=11
2. Compute n = pq =17×11=187
3. Compute ø(n)=(p–1)(q-1)=16×10=160
4. Select e : gcd(e,160)=1; choose e=7
5. Determine d: de=1 mod 160 and d < 160 Value is d=23 since
23×7=161= (1×160)+1
6. Publish public key KU={7,187}
7. Keep secret private key KR={23,17,11}
12/1/2017 Bakhtar University 16
RSA Example cont
• sample RSA encryption/decryption is:
• given message M = 88 (nb. 88<187)
• encryption:
C = 887 mod 187 = 11
• decryption:
M = 1123 mod 187 = 88
12/1/2017 Bakhtar University 17
RSA Key Generation
• Select p, q
• Calculate n=p x q
• Calculate ǿ(n)= (p-1)(q-1)
• Select integer e gcd(ǿ(n), e) =1; 1< e < ǿ(n)
• Calculate d d e-1 mod(ǿ(n))
• Public Key PU= {e, n}
• Private Key PR={d,n}
12/1/2017 Bakhtar University 18
Encryption by Bob with Alice’s Public Key
• Plaintext M<N
• Ciphertext: C=Me mod n
12/1/2017 Bakhtar University 19
Decryption by Alice with Alice’s private key
• Ciphertext: C
• Plaintext: M=Cd mod n
12/1/2017 Bakhtar University 20
RSA General Approach
Bakhtar University 21
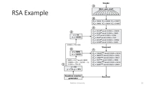
RSA Example
Bakhtar University 22
Thank You
For Your Patience
Bakhtar University 23

Cryptography and Network security # Lecture 5

  • 1.
    Lec-5: Cryptography &Network Security Mr. Islahuddin Jalal MS (Cyber Security) – UKM Malaysia Research Title – 3C-CSIRT Model for Afghanistan BAKHTAR UNIVERSITY ‫باخترپوهنتون‬ ‫د‬ Bakhtar University 1
  • 2.
  • 3.
    Problems in symmetriccryptography • Key distribution • Two communicants already share a key by the use of ( KDC) • Neglected the essence of cryptography (Diffie and Martin Hellman) • Verifying a message comes intact from the claimed sender Bakhtar University 3
  • 4.
    Public-Key Characteristics 1. Computationallyinfeasible to find decryption key • Knowing only algorithm and encryption key 2. Computationally easy to en/decrypt messages • When the relevant en/decrypt key is known either of the two related keys can be used for encryption, with other used for decryption Bakhtar University 4
  • 5.
    In Symmetric Cryptography •If Alice and Bob are physically apart and communicate, they have to agree on a key Meet personally, or Use trusted couriers • Alice needs one secret key for Bob, one for Carol, one for Dave and so on. This means that Storage of so many secret keys is not feasible. Bakhtar University 5
  • 6.
    In Asymmetric KeyCryptography • 2 people who never met can communicate securely. Alice can securely communicate with all her friends by storing just a single private key. 2 keys are used • Public: known to everyone (for encryption or signature verification) • Private: known to receiver only (for decryption or signature generation) Bakhtar University 6
  • 7.
    Public-Key Cryptography • Y= E(PUb, X ) • X = D(PRb, Y ) • Adversary can access PUb and Y, attempt to recover X or PRb; Impossible to alter the message without access to A’s private key. • Authenticate the source. Ensure data integrity. Authentication and Confidentiality. • Z = E(PUb, E(PRa, X)) • X = D(PUa, E(PRb, Z)) • Overhead: public key algorithm executed four times Bakhtar University 7
  • 8.
    Public-Key Applications • Classifyuses into 3 categories • Encryption/Decryption (provide secrecy) • Digital Signatures (provide authentication) • Key Exchange (of session keys) Bakhtar University 8
  • 9.
    Example: Party Awants to send a message to party B • When only confidentiality is needed Bakhtar University 9
  • 10.
    Example: Party Awants to send a message to party B • When only authentication is needed Bakhtar University 10
  • 11.
    Example: Party Awants to send a message to party B • When confidentiality and authentication are needed Bakhtar University 11
  • 12.
    Type of Public-keycryptography •RSA Bakhtar University 12
  • 13.
    RSA • by Rivest,Shamir & Adleman of MIT in 1977 • best known & widely used public-key scheme • Block cipher scheme: plaintext and ciphertext are integer b/w 0 to n-1 for some n. • uses large integers (eg. 1024 bits) • security due to cost of factoring large numbers 12/1/2017 Bakhtar University 13
  • 14.
    RSA Key Setup •each user generates a public/private key pair by: • selecting two large primes at random - p, q • computing their system modulus N=p.q • note ø(N)=(p-1)(q-1) • selecting at random the encryption key e • where 1<e<ø(N), gcd(e,ø(N))=1 • solve following equation to find decryption key d • e.d=1 mod ø(N) and 0≤d≤N • publish their public encryption key: KU={e,N} • keep secret private decryption key: KR={d,p,q} 12/1/2017 Bakhtar University 14
  • 15.
    RSA Use • toencrypt a message M the sender: • obtains public key of recipient KU={e,N} • computes: C=Me mod N, where 0≤M<N • to decrypt the ciphertext C the owner: • uses their private key KR={d,p,q} • computes: M=Cd mod N • note that the message M must be smaller than the modulus N (block if needed) 12/1/2017 Bakhtar University 15
  • 16.
    RSA Example 1. Selectprimes: p=17 & q=11 2. Compute n = pq =17×11=187 3. Compute ø(n)=(p–1)(q-1)=16×10=160 4. Select e : gcd(e,160)=1; choose e=7 5. Determine d: de=1 mod 160 and d < 160 Value is d=23 since 23×7=161= (1×160)+1 6. Publish public key KU={7,187} 7. Keep secret private key KR={23,17,11} 12/1/2017 Bakhtar University 16
  • 17.
    RSA Example cont •sample RSA encryption/decryption is: • given message M = 88 (nb. 88<187) • encryption: C = 887 mod 187 = 11 • decryption: M = 1123 mod 187 = 88 12/1/2017 Bakhtar University 17
  • 18.
    RSA Key Generation •Select p, q • Calculate n=p x q • Calculate ǿ(n)= (p-1)(q-1) • Select integer e gcd(ǿ(n), e) =1; 1< e < ǿ(n) • Calculate d d e-1 mod(ǿ(n)) • Public Key PU= {e, n} • Private Key PR={d,n} 12/1/2017 Bakhtar University 18
  • 19.
    Encryption by Bobwith Alice’s Public Key • Plaintext M<N • Ciphertext: C=Me mod n 12/1/2017 Bakhtar University 19
  • 20.
    Decryption by Alicewith Alice’s private key • Ciphertext: C • Plaintext: M=Cd mod n 12/1/2017 Bakhtar University 20
  • 21.
  • 22.
  • 23.
    Thank You For YourPatience Bakhtar University 23